P-192-001e.pdf - 第37页
MEMO

Key No. PART No. PART NAME Q’ty REMARKS
NOTE
34
MODEL TIM-5200F/R
0307-001
F-1 2 unit/1 machine
77 411 141 2806 WASHER SPR 3 14 SW3
78 630 000 7510 BOLT,HEX-SCT 8 M3X8
79 630 000 7558 BOLT,HEX-SCT 4 M3X16
80 630 000 7534 BOLT,HEX-SCT 4 M3X12
81 411 140 9905 NUT HEX 3 2 M3
82 630 000 7527 BOLT,HEX-SCT 21 M3X10
86 411 119 1909 WASHER V 3X7X0.5 4 FW3 F
87 411 086 4408 WASHER SPR 3 4 SW3 F
88 411 162 1604 SCR PAN 3X20 2 M3X20 PAN
89 411 040 6202 SCR PAN 3X10 2 M3X10 PAN

MEMO

36
MODEL TIM-5200F/R
0307-001
カバー部 COVER SECTION
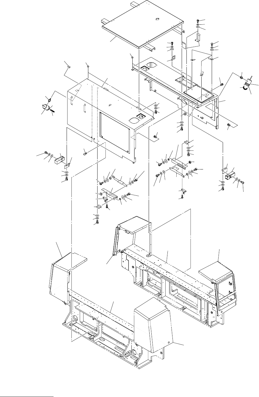
Fig. G-1 カバーフレーム Cover Frame
86
86
87
24
21
88
23
32
85
87
89
88
87
85
16
88
87
86
88
87
86
93
92
91
31
30
91
20
22
33
See Fig.B-1
Key No.2
See Fig.G-3
Key No.206
See Fig.G-3
Key No.204
See Fig.B-1
Key No.3
76
77
79
See Fig.G-2
Key No.101
See Fig.G-2
Key No.103
30
31
88
22
26
85
87
88
89
87
85
23
21
87
86
88
87
32
33
24
91
20
92
93
96
2
5
7
88
87
86
76
77
79
91
91
97
75
98
87
89
11
8
85
77
76
79
10
36
36
69
41
43
44
41
44
69
43
42
42-01
.
42
42-01
.