P-192-001e.pdf - 第74页
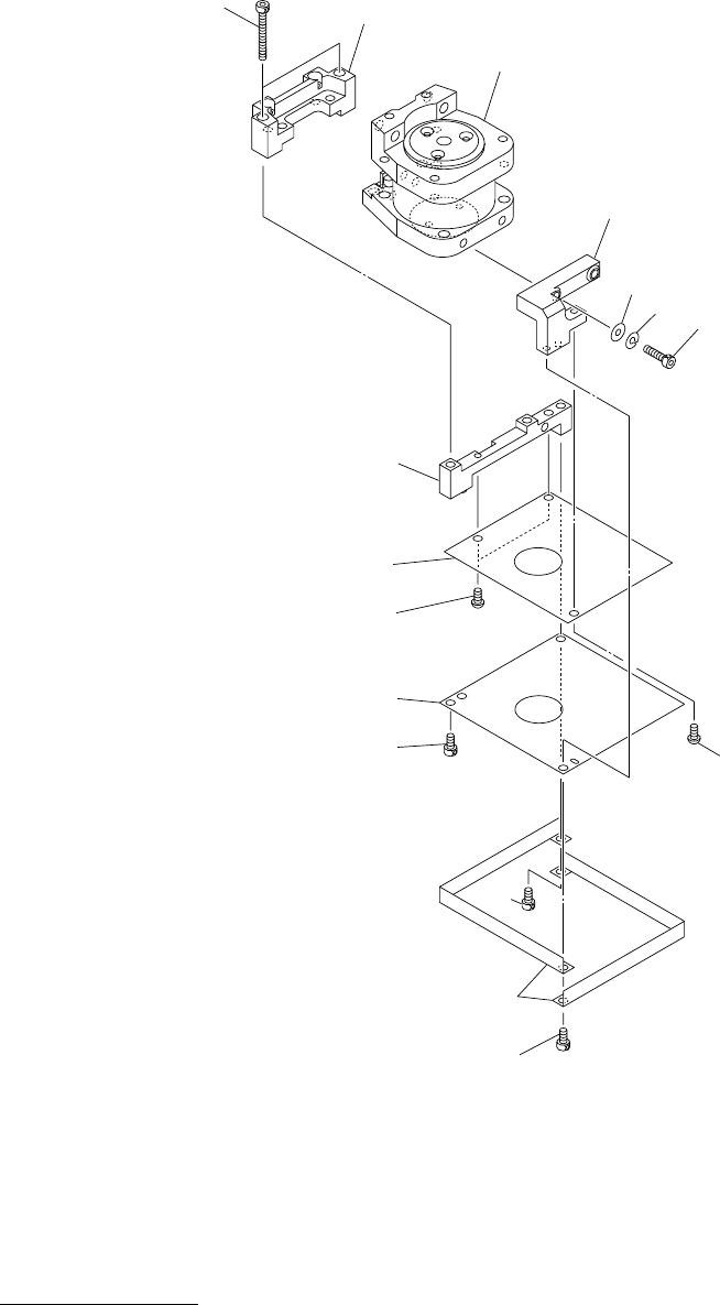
72 MODEL TIM-5200F/R 0307-001 異形ヘッドR部 DEFORM HEAD R SECTION Fig. MC-8 ヘッド照明部 Head Lighting Section 702 754 703 780 711 780 780 712 712 See Fig.MC-2 Key No.101 See Fig.MC-2 Key No.113 776 777 778 701 779

Key No. PART No. PART NAME Q’ty REMARKS
NOTE
71
MODEL TIM-5200F/R
0307-001
MC-5 2 unit/1 machine
401 630 082 1505 BLOCK 1 805MC-010-401
402 630 067 8598 LEVER 2 805MC-010-402
403 630 074 2817 SPRING,COMP 2 805MC-010-403
404 630 120 1634 PIN,HINGE 2 805MC-010-404
405 630 083 4130 ROD 2 805MC-010-405
406 630 120 1641 NUT 1 805MC-010-406
407 630 076 5106 CAP 1 805MC-010-407
408 630 068 6982 RING 4 805MC-010-408
409 630 007 1740 BEARING,RADIAL 8 L-415ZZ 805MC-010-409
410 616 900 0172 RING E 1 8 805MC-010-410
411 630 076 5090 SEAL 1 805MC-010-411
412 630 069 5816 AIR LINE EQPT 1 805MC-010-412

72
MODEL TIM-5200F/R
0307-001
異形ヘッドR部 DEFORM HEAD R SECTION
Fig. MC-8 ヘッド照明部 Head Lighting Section
702
754
703
780
711
780
780
712
712
See Fig.MC-2
Key No.101
See Fig.MC-2
Key No.113
776
777
778
701
779

Key No. PART No. PART NAME Q’ty REMARKS
NOTE
73
MODEL TIM-5200F/R
0307-001
MC-8 2 unit/1 machine
701 630 074 1551 BRACKET 1 805MC-010-801
702 630 074 1568 BRACKET 1 805MC-010-802
703 630 074 0974 PLATE 1 805MC-010-803
711 630 075 1819 BRACKET 2 805MC-010-811
712 630 069 0644 BOLT 3 805MC-010-114
754 630 070 3634 LIGHTING UNIT 1 M(A2)-E21,M(B2)-E21,VL-3100
805MC-010-054
776 411 141 3902 WASHER V 3X7X0.5 2 FW3
777 411 141 2806 WASHER SPR 3 2 SW3
778 630 000 7534 BOLT,HEX-SCT 2 M3X12
779 630 000 7572 BOLT,HEX-SCT 2 M3X25
780 630 000 7503 BOLT,HEX-SCT 3 M3X6