文档中心
/
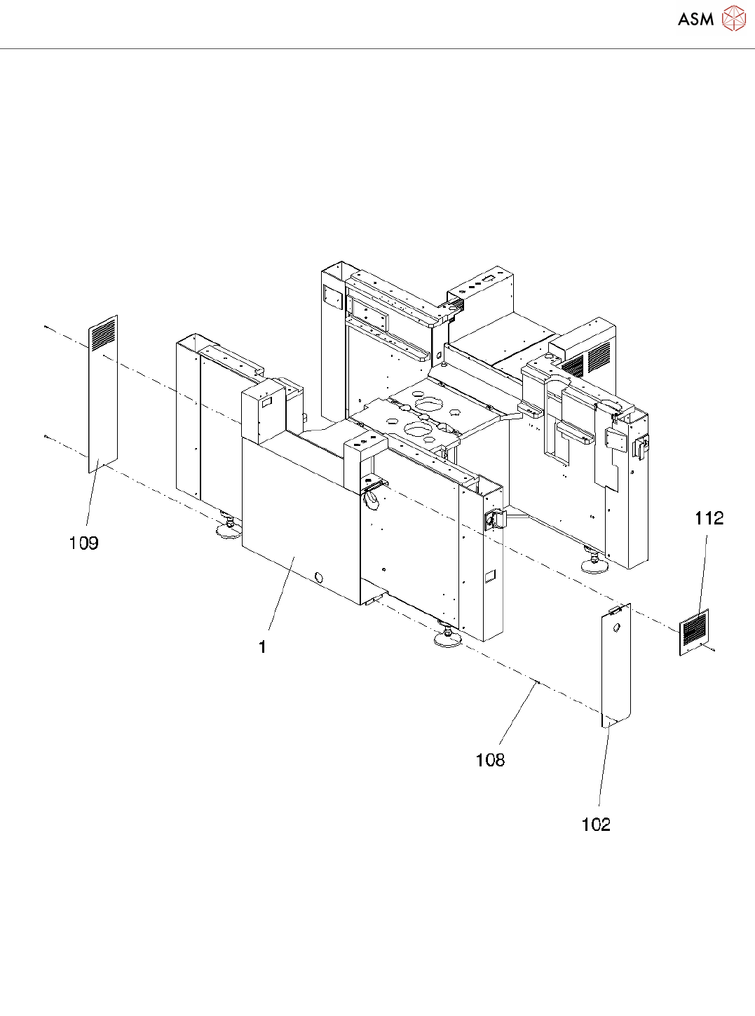
Machine frame_20211122_075350
Machine frame_20211122_075350 - 第11页
Machine frame Page 11 / 36 22.11.2021
目录
100%
显示:宽度
宽度
1 / 36
回到旧版
旧版
?
Machine frame
Page 10 / 36
22.11.2021
Machine frame
Page 11 / 36
22.11.2021
Machine frame
Page 12 / 36
22.11.2021
该页面需要启用 JavaScript 才能进行交互式预览。