文档中心
/
Machine frame_20211122_075350
Machine frame_20211122_075350 - 第15页
Machine frame Page 15 / 36 22.11.2021
目录
100%
显示:宽度
宽度
1 / 36
回到旧版
旧版
?
Machine frame
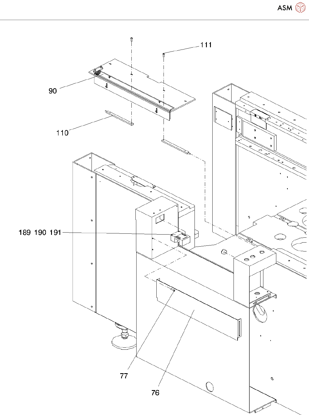
Page 14 / 36
22.11.2021
Machine frame
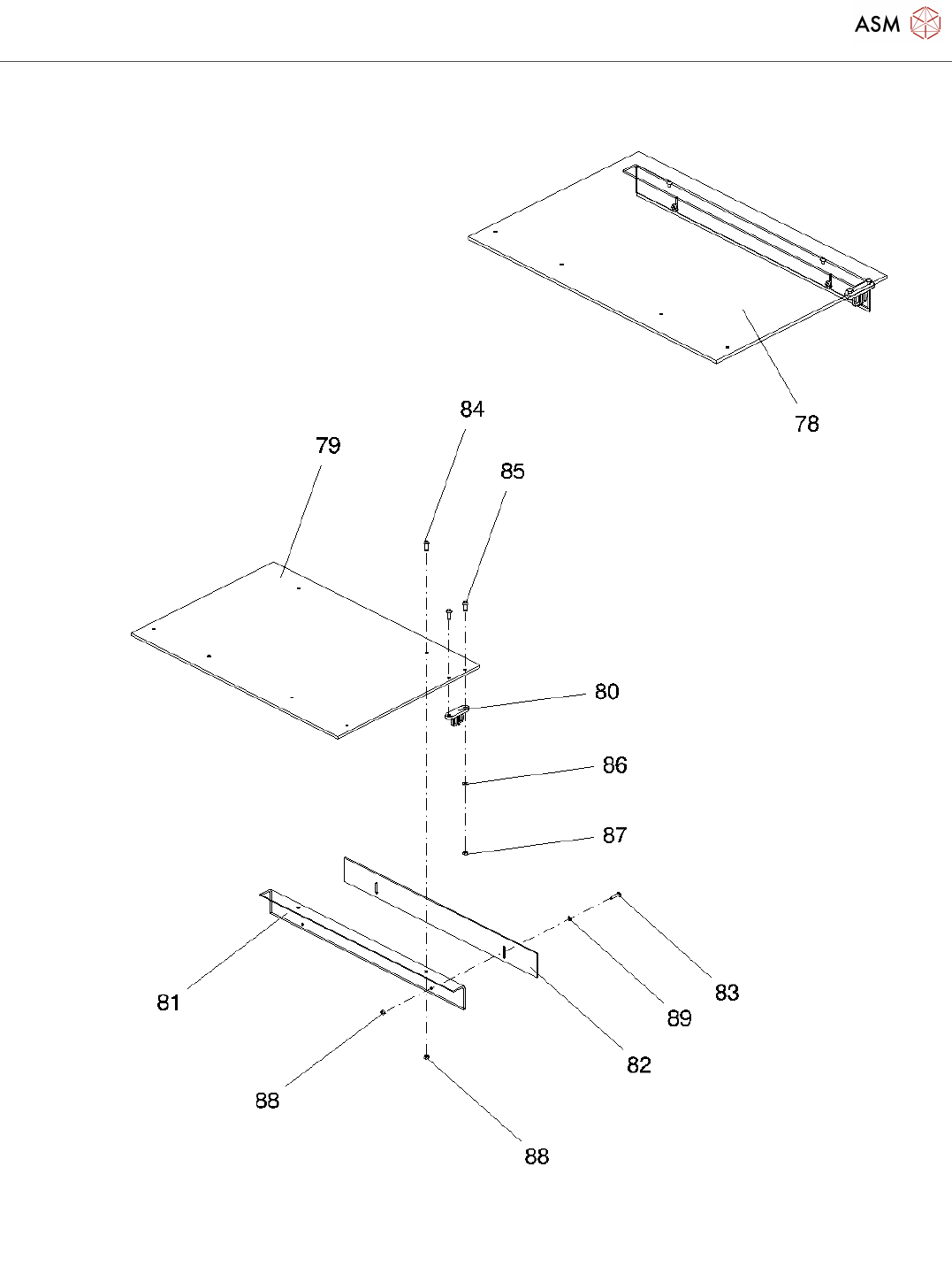
Page 15 / 36
22.11.2021
Machine frame
Page 16 / 36
22.11.2021
该页面需要启用 JavaScript 才能进行交互式预览。