高速轴向元件插件机 - 第165页
AV131 维修手册 7.10 切刀部 D79MCC-Z 5-200-A0 7.10- 2 7.10. 2 集尘箱 Unit No . N610060949A A 检查 周期 No. 项目 作业 详细内容 a. 集尘箱 处理掉引脚线屑 。 每天 b. 过滤器 清除异物或灰尘 。 a. 集尘箱 b. 过滤器

AV131
维修手册
7.10 切刀部
D79MCC-Z5-200-A0
7.10-1
7.10. 切刀部
D79MCC-Z5-200-A0
7.10.1 编带切刀
Unit No. N610052014AA
检查
周期
No.
项目 作业 详细内容
每天
a.
元件检测传感器
清除油或灰尘。
每周
b.
切刀的状态
能切割 1 张纸。
加油
周期
No.
项目 作业 加油量 详细内容
1.
导杆和滑块的滑动表面
(左 / 右)
每个
0.3 cm
3
用装配有 P-型附件的加油枪 (从后面的 Z 轴
侧) 通过加油孔 (×4) 注入润滑脂。
2.
衬套支点销
每个
0.3 cm
3
位置:润滑油注入口
3.
滚轮从动件
每个
0.5 cm
3
位置:滚轮表面
4.
滚轮从动件的滑动面
0.5 cm
3
每隔
一周
5.
导杆和滚轮从动件的滑
动面 (顶部 / 底部)
每个
0.3 cm
3
3. 滚轮从动件
4. 滚轮从动件的滑动面
5. 导杆和滚轮从动件的滑动面
(顶部 / 底部)
2. 衬套支点销
a. 元件检测传感器
1. 导杆和滑块的滑动面 (左 / 右)
b. 切刀的状态

AV131
维修手册
7.10 切刀部
D79MCC-Z5-200-A0
7.10-2
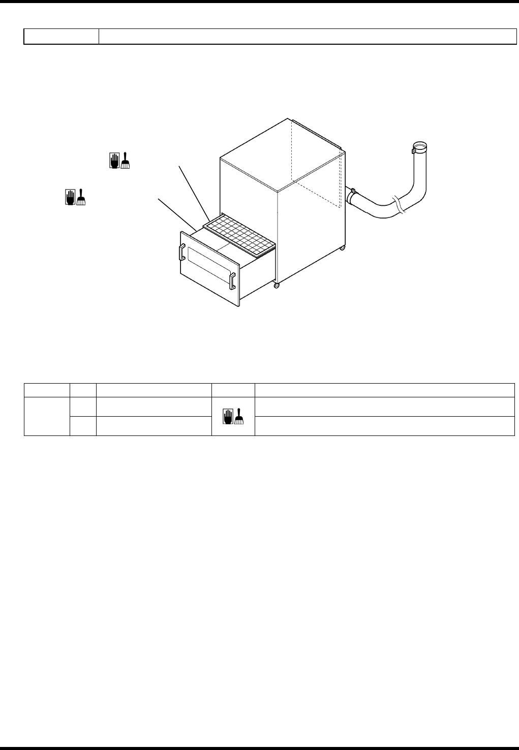
7.10.2 集尘箱
Unit No. N610060949AA
检查
周期
No.
项目 作业 详细内容
a.
集尘箱 处理掉引脚线屑。
每天
b.
过滤器
清除异物或灰尘。
a. 集尘箱
b. 过滤器

AV131
维修手册
7.11 气压
D79MCC-Z0-300-A0
7.11-1
7.11. 气压
D79MCC-Z0-300-A0
7.11.1 切割屑收集瓶
装置编号
N610070306AA
检查
周期
No.
项目 作业 详细内容
每周
a.
过滤器
用吹风机清扫过滤器。
(如有损坏时请进行更换。)
a. 过滤器