4OM-1011-002 - 第114页
0305-001 Tg0860-PM-MM Operation Procedure • Required Items Nozzle: 4 pieces of “MF01”, “MF02” or “MA06” Jig Component: T eaching Plate (Component Recognition Offset Jig) (Standard Accessory Part) (1) Set either “MF01”-, …

0305-001 Tg0860-PM-MM
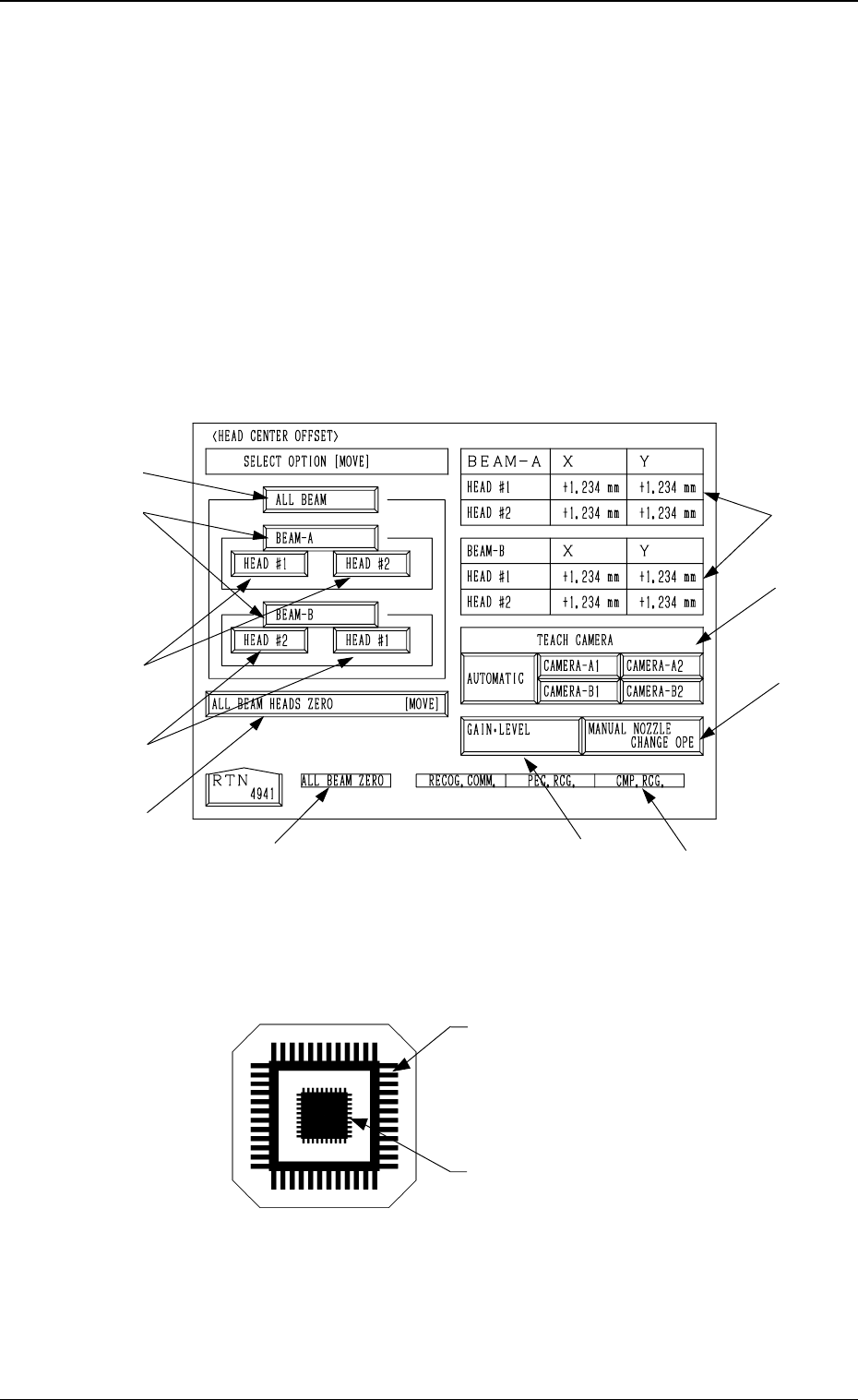
*6 [GAIN・LEVEL] Key
When this key is pressed, the “GAIN・LEVEL” display (Fig.
4C70) appears on the screen.
These parameters are used to set amplifications at which
the image signals of the image taken by the component rec-
ognition camera is converted into the picture information
representing brightness.
Parameters are set as the offset values for camera reference
gain and level.
Normal Fixed Value: ± 0
• When “ENABLE” is set in the “DESIGNATE” data box
at the “GAIN・LEVEL” display, be sure to set param-
eters in the “GAIN” and “LEVEL” data boxes.
The set parameters are used for P.E.C. recognition.
When “DISABLE” is set in the data box, the standard
parameters are set in the “GAIN” and “LEVEL” data
boxes.
• The lower the gain is, the bigger the contrast becomes.
• The lower the level is, the brighter the whole view be-
comes.
Note: Teaching operations are performed through com-
ponent recognition.
Incorrect gain and level parameters lead to the ad-
verse result of teaching operations, causing some
trouble.
*7 [MN. NZ. CHG. OPE] Key
When this key is pressed, the “MANUAL NOZZLE
CHANGE OPERATION” display (Fig. 4C85) appears on
the screen.
Designate the head and the nozzle and attach either “MF01”-
, “MF02”- or “MA06”-type nozzle.
Refer to “9. Manual Nozzle Change Operation of Sction 4
in Volume 1” for details.
*8 RECOG. COMM.
When “DISABLE” is set in the “P.E.C.” and “COMPO-
NENT RECOGNITION” data boxes at the “TEST MODE”
display, the background color of “P.E.C. RECOG.” and
“COMP. RECOG.” becomes light red. (No background
color in normal cases)
Note: In this case, the recognition processing is not made
even if the teaching operations are performed.
Therefore, the results of various teaching opera-
tions are not reflected on the offset data.
*9 ALL BEAM ZERO
When all beams are zeroed completely, the background
color turns green. Otherwise, the background has no color.
3-62
6.3 COMP. RCG. CAMR. OFST. (STEP3) Display
Fig. 4C97
Fig. 4C98
Fig. 4C99
Fig. 4C100

0305-001 Tg0860-PM-MM
Operation Procedure
• Required Items
Nozzle: 4 pieces of “MF01”, “MF02” or “MA06”
Jig Component: Teaching Plate (Component Recognition Offset Jig)
(Standard Accessory Part)
(1) Set either “MF01”-, “MF02”- or “MA06”-type nozzle in the nozzle
stocker.
(2) Attach the jig component (the teaching plate (component recognition
offset jig)) to the position where the teaching plate is mounted.
Note: The printed side of the component recognition offset jig should
face downward.
(3) Check the followings.
• Check that the machine is powered.
• Check that the supply cover is completely closed.
(4) Attach either “MF01”-, “MF02”- or “MA06”-type nozzle to the ob-
jective placement head for teaching at the “MANUAL NOZZLE
CHANGE OPERATION” display.
(5) Select the [ALL BEAM HEADS ZERO [MOVE]] key and press the
[MOVE] button to zero all beam heads.
Confirm that the background color of “ALL BEAM ZERO” has turned
green.
(6) To specify the gain and level, use the “GAIN・LEVEL” display.
Note: In normal cases, set “DISABLE” in the “DESIGNATE” data
box.
(7) Select the item to be taught and press the [MOVE] button.
The machine starts the teaching operations.
The following series of teaching operations are performed automati-
cally.
The nozzle picks up the teaching plate from the place where the teach-
ing plate is attached.
↓
The placement head moves to the component recognition camera po-
sition.
↓
The jig component is recognized with the component recognition cam-
era.
↓
The placement head moves onto the back light stage.
↓
The teaching plate is set up on the back light stage.
↓
The jig component is recognized with the P.E.C. recognition camera.
↓
The nozzle picks up the teaching plate from the back light stage.
↓
The teaching plate is returned to the original place (the place where it
was attached).
Overall Top View
Teaching Plate Section
Component Recog-
nition Camera
Nozzle Stocker
Placement Head
Nozzle Stocker
Placement Head
P.E.C. Recognition
Camera
P.E.C.
Recognition
Camera
Beam A Side
Teaching Plate
(Component Recognition Offset Jig)
Position of Teaching Plate
Back Light Stage
Beam B Side
Magnified View of Teaching Plate Section
3-63
6.3 COMP. RCG. CAMR. OFST. (STEP3) Display
Fig. 4C101

0305-001 Tg0860-PM-MM
6.4 HEAD CENTER OFFSET Display
• This display allows teaching the head center offset data.
The offset values are calculated by recognizing the printed pattern on the jig
component (the teaching plate (component recognition offset jig)) picked
up by the nozzle separately at 0°, 90°, 180°, and 270°.
Note: Follow the teaching procedures in the specified order. Otherwise, some
trouble (such as inaccurate component placement, frequent mechani-
cal errors, etc.) will arise.
When the [HEAD CENTER OFFSET] key is pressed at the “TEACH OFF-
SET” display, the following display appears on the screen.
Teaching Plate (Component Recognition Offset Jig: JG-0085)
(Standard Accessory Part)
Note: Handle this fragile jig very carefully.
• Two types of patterns are printed through vapor deposition on the glass for
positional calculation.
*7
*9
*10
*2
*1
*3
*4
*3
*8
*6
*5
3-64
6.4 HEAD CENTER OFFSET Display
Fig. 4C102
Fig. 4C103
Pattern to be captured by the
component recognition camera
Pattern to be captured by the
P.E.C. recognition camera