4OM-1011-002 - 第133页
0305-001 Tg0860-PM-MM 6.8 UNIT MANUAL ALIGNMENT TEACH Display When the [UNIT MANUAL ALIGNMENT TEACH] key is pressed at the “TEACH OFFSET” display , the following display appears on the screen. Note: The -marked item is…

0305-001 Tg0860-PM-MM
(1.8) Close the supply cover and press the [READY] button for the per-
tinent beam to lock the cover. Then, set the [OPERATION/SET
UP] switch to the “OPERATION” side.
(1.9) Select the [ALL BEAM HEADS ZERO [MOVE]] key and press
the [MOVE] button to zero the X/Y beam.
(1.10) A camera must be selected for teaching operations as follows.
One of the four cameras can be selected. It is advisable that the
nearest camera should be selected.
Example:
Head #1 on Beam A → Camera A1, Head #2 on Beam A →
Camera A2
Head #1 on Beam B → Camera B1, Head #2 on Beam B →
Camera B2
(1.11) When the [HEAD ROTATION OFFSET TEACH START] key is
selected and the [MOVE] button is pressed, the machine performs
the teaching operation.
When the teaching operation is completed normally, the specified
data is updated on the top right of the screen.
Note: The results of the teaching operation are directly written
as the offset data.
(1.12) When the [NOZZLE COLLECTION] key is selected and the
[MOVE] button is pressed, the special jig nozzle comes back to
the place where it is attached. Detach the special jig nozzle through
the same procedure for the attachment.
(1.13) Perform the teaching operations on all heads through almost the
same procedures.
(2) Angle Teaching Operation
The special jig nozzle is picked up from the nozzle stocker and the teach-
ing operation is re-performed.
(2.1) Attach the special jig nozzle (JG01) to the nozzle stocker position
specified in “Step (1.2)” of “(1) Coarse Angle Teaching Operation”.
(2.2) Open the “HEAD ROTATION OFFSET” display. (Hierarchical Se-
quence: “SPECIAL SEL.” Display → “TEACH OFFSET” Display
→ “HEAD ROTATION OFFSET” Display).
Check that the result of the teaching operation described in “(1)
Coarse Angle Teaching Operation” is displayed in the offset dis-
play section on the top right of the display.
(2.3) Press [NAMUAL NOZZLE CHANGE OPE] key. The “MANUAL
NOZZLE CHANGE OPERATION” display appears on the screen.
Attach the special jig nozzle (JG01) to the head for teaching opera-
tions.
(2.4) When the [HEAD ROTATION OFFSET TEACH START] key is
selected and the [MOVE] button is pressed, the machine starts the
teaching operations.
When the teaching operation is completed normally, the specified
data is updated on the top right of the screen.
(2.5) Store the special jig nozzle (JG01) at the “MANUAL NOZZLE
CHANGE OPERATION” display.
(2.6) Perform the teaching operations described in (2.3) through (2.5)
several times until the results of the teaching operations are pro-
duced in stable condition.
(2.7) Perform the teaching operations on all heads through almost the
same procedures.
3-81
6.7 HEAD ROTATION OFFSET Display

0305-001 Tg0860-PM-MM
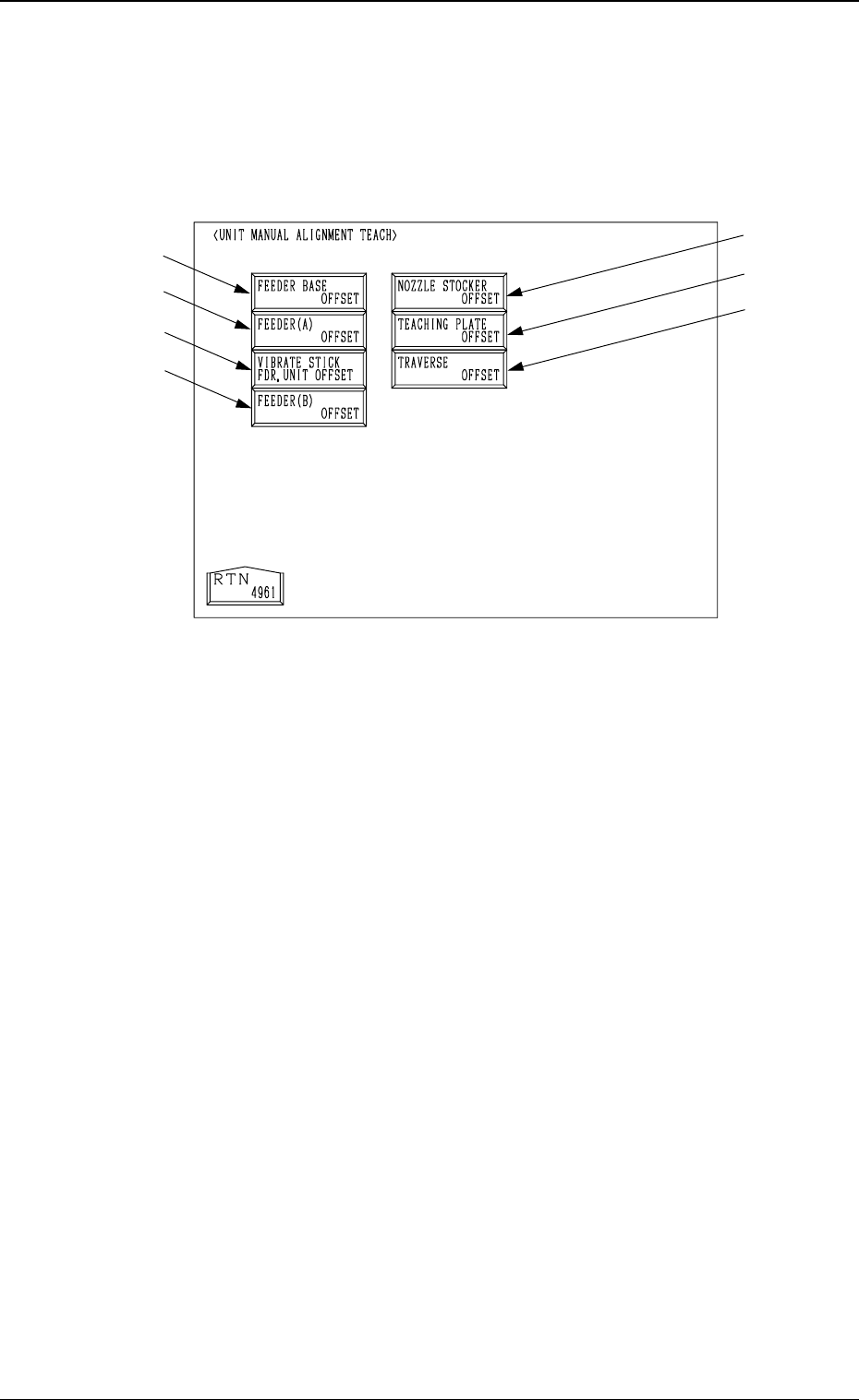
6.8 UNIT MANUAL ALIGNMENT TEACH Display
When the [UNIT MANUAL ALIGNMENT TEACH] key is pressed at the
“TEACH OFFSET” display, the following display appears on the screen.
Note: The -marked item is optional.
• This display is used to teach offset data of each unit through manual align-
ment operation.
When the item to be aligned manually is selected at each display for manual
alignment operation and the [MOVE] button is pressed, an image of the
teaching point and a template appear on the recognition monitor. Align them
manually using a track ball and teach the offset data.
Refer to “6.7.8 Teaching Operation with Track Ball” for details.
*1 [FEEDER BASE OFFSET] Key
When this key is pressed, the “FEEDER BASE OFFSET” display appears
on the screen, enabling the offset teaching of the master feeder through
manual alignment operation.
*2 [FEEDER (A) OFFSET] Key
When this key is pressed, the “FEEDER (A) OFFSET” display appears on
the screen, enabling the offset teaching of the master feeder through manual
alignment operation.
*3 [VIBRATE STICK FDR. UNIT OFFSET] Key
When this key is pressed, the “VIBRATE STICK FEEDER UNIT OFF-
SET” display appears on the screen, enabling the offset teaching of the
vibratory stick feeder unit through manual alignment operation.
*4 [FEEDER (B) OFFSET] Key
When this key is pressed, the “FEEDER (B) OFFSET” display appears on
the screen, enabling the offset teaching of the feeder through manual align-
ment operation.
3-82
6.8 UNIT MANUAL ALIGNMENT TEACH Display
*1
*2
*3
*4
*5
*6
*7
Fig. 4C157

0305-001 Tg0860-PM-MM
*5 [NOZZLE STOCKER OFFSET] Key
When this key is pressed, the “NOZZLE STOCKER OFFSET” display
appears on the screen, enabling the offset teaching of the nozzle stocker
position through manual alignment operation.
*6 [TEACHING PLATE OFFSET] Key
When this key is pressed, the “TEACHING PLATE OFFSET” display ap-
pears on the screen, enabling the offset teaching of the teaching plate posi-
tion through manual alignment operation.
*7 [TRAVERSE OFFSET] Key (Option)
When this key is pressed, the “TRAVERSE OFFSET” display appears on
the screen, enabling the offset teaching of the traverse pullout position through
manual alignment operation.
3-83
6.8 UNIT MANUAL ALIGNMENT TEACH Display