文档中心
/
JTF-ML2_20211118_074034
JTF-ML2_20211118_074034 - 第18页
JTF-ML2 Page 18 / 27 18.11.2021
目录
100%
显示:宽度
宽度
1 / 27
回到旧版
旧版
?
JTF-ML2
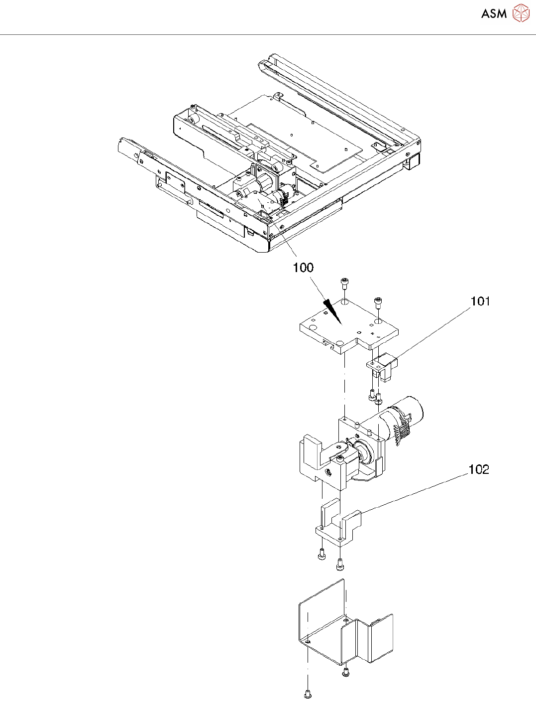
Page 17 / 27
18.11.2021
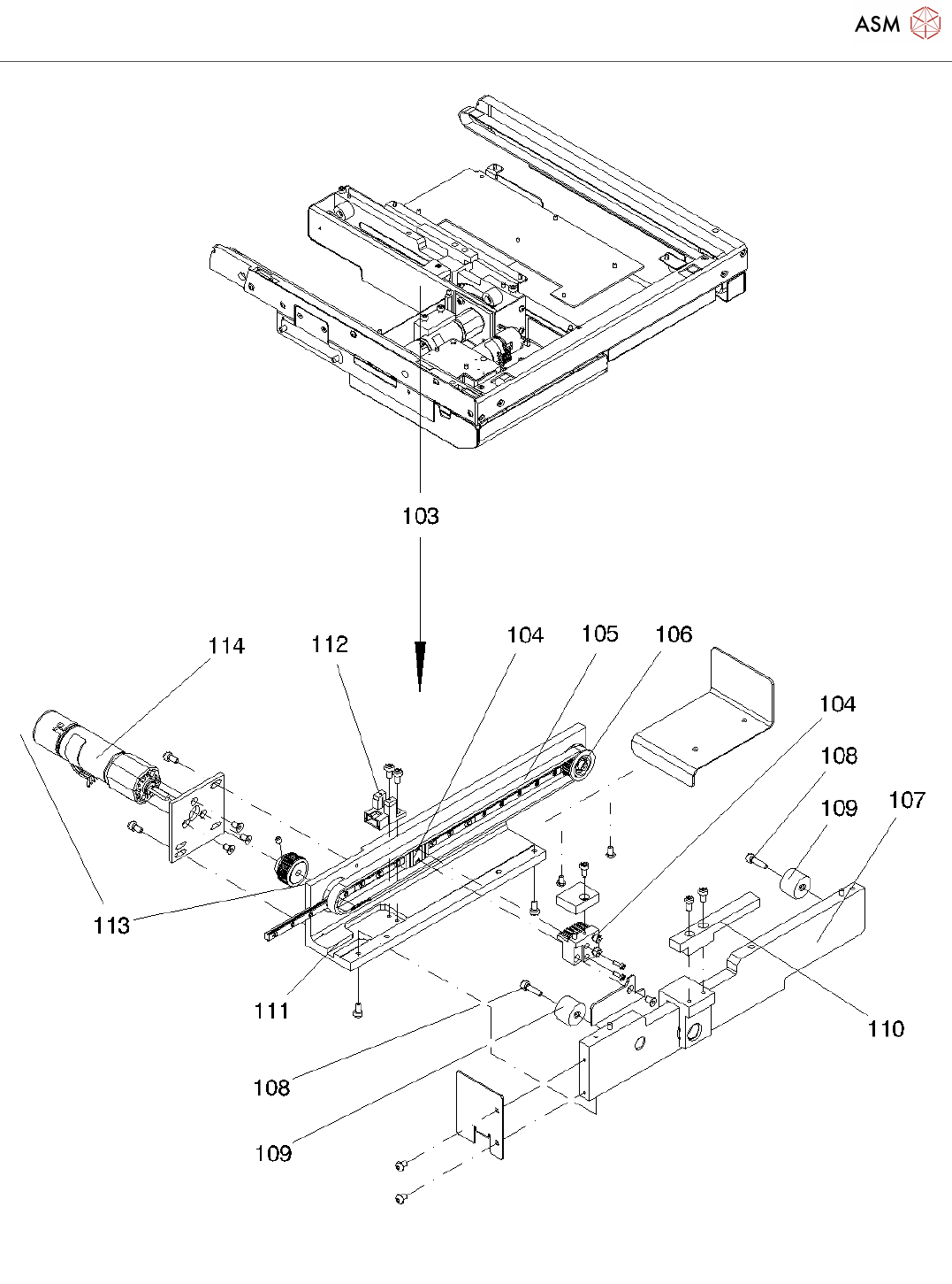
JTF-ML2
Page 18 / 27
18.11.2021
JTF-ML2
Page 19 / 27
18.11.2021
该页面需要启用 JavaScript 才能进行交互式预览。