NPM-D电路 - 第93页
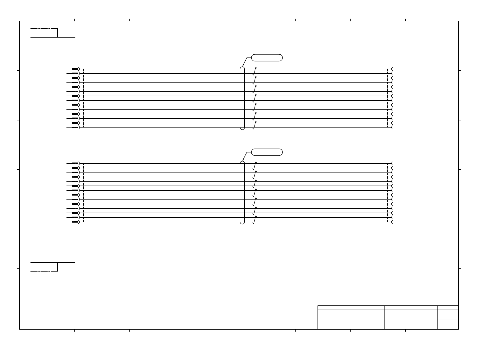
-K321 PNF0B4 Power Unit 1 -A02 ILK Board #1 For Before Process For Next Process N610159608AC CNDU-P 1 2 3 4 5 6 7 8 9 10 11 12 13 14 15 16 IN142 24VOUT 24GND IN146 IN147 24GND OT004 OT005 COMP OT144 OT145 COMP OT147 COMP…

-A02
Power Unit 1
-K321
PNF0B4
ILK Board #1
For
Before process
BK/WH
BK
RD/WH
RD
GN/WH
GN
YE/WH
YE
N610159595AC
14
13
12
11
10
9
8
7
6
5
4
JST
CN00K321
PAP-14V-S
3
2
1
1
2
3
AMP
-XP
206043-1
4
5
6
7
8
9
10
11
12
13
14
CN00
1
2
3
4
5
6
7
8
9
10
11
12
13
14
M.FOK
M.FOKCO
MBAIN
MBAINCO
OT124+
OT125+
24GND
COM00
SFOK
SFOKCO
SBAIN
SBAINCO
LN004
LN005
2464C(BPF)VVP AWG#24×7P-B
BN
BN/WH
BU
BU/WH
GY/WH
GY
For
Next process
BK/WH
BK
RD/WH
RD
GN/WH
GN
YE/WH
YE
N610159596AD
14
13
12
11
10
9
8
7
6
5
4
JST
CN01K321
PAP-14V-S
3
2
1
1
2
3
AMP
-XS
206043-1
4
5
6
7
8
9
10
11
12
13
14
CN01
1
2
3
4
5
6
7
8
9
10
11
12
13
14
M.RDY
24GND
M.BAOT
M.BAOTCO
LN006
LN007
COM01
24GND
S.RDY
24GND
S.BAOT
S.BAOTCO
OT126+
OT127+
2464C(BPF)VVP AWG#24×7P-B
BN
BN/WH
BU
BU/WH
GY
GY/WH
M.RDY
24GND
M.BAOT
M.BAOTCO
LN006
LN007
COM01
24GND
S.RDY
24GND
S.BAOT
S.BAOTCO
OT126+
OT127+
M.FOK
M.FOKCO
MBAIN
MBAINCO
OT124+
OT125+
24GND
COM00
SFOK
SFOKCO
SBAIN
SBAINCO
LN004
LN005
1
2464-1061/ⅡA(PF) LF 7P×24AWG
2
2
2464-1061/ⅡA(PF) LF 7P×24AWG
2
2
Panasonic Factory Solutions Co.,Ltd. パナソニック ファクトリーソリューションズ株式会社
Name
Drawing No.
Loc. No.
F4K1020-05A
1
2 3 4 5 6 7 8
A
B
C
D
E
F
1 2 3 4 5 6 7 8
A
B
C
D
E
F
Page. No.
Main Body Wiring : NPM-D3
(Line Signal Left)
N610159580+043AD
P043
3
3

-K321
PNF0B4
Power Unit 1
-A02
ILK Board #1
For
Before Process
For
Next Process
N610159608AC
CNDU-P
1
2
3
4
5
6
7
8
9
10
11
12
13
14
15
16
IN142
24VOUT
24GND
IN146
IN147
24GND
OT004
OT005
COMP
OT144
OT145
COMP
OT147
COMP
24VOUT
24GND
CNDU-S
1
2
3
4
5
6
7
8
9
10
11
12
13
14
15
16
OT146
24VOUT
COMS
OT006
OT007
COMS
IN144
IN145
24GND
IN102
IN103
24GND
IN143
24GND
24VOUT
24GND
N610159609AC
OT146
COMS
OT006
OT007
COMS
IN144
IN145
24GND
IN102
IN103
24GND
IN143
24GND
IN142
24GND
IN146
IN147
24GND
OT004
OT005
COMP
OT144
OT145
COMP
OT147
COMP
JST
CNDU-PK321
PAP-16V-S
1
2
3
4
5
6
7
8
9
10
11
12
13
14
15
16
JST
CNDU-SK321
PAP-16V-S
1
2
3
4
5
6
7
8
9
10
11
12
13
14
15
16
MOLEX
CNDUP
51238-3011
E6
E5
E4
E3
E2
E1
D6
D5
D4
D3
D2
D1
C6
C5
C4
C3
C2
C1
B6
B5
B4
B3
B2
B1
A6
A5
A4
A3
A2
A1
MOLEX
CNDUS
51238-3011
E6
E5
E4
E3
E2
E1
D6
D5
D4
D3
D2
D1
C6
C5
C4
C3
C2
C1
B6
B5
B4
B3
B2
B1
A6
A5
A4
A3
A2
A1
2464C(BPF)VVP AWG#24×7P-B
GY/WH
GY
BU/WH
BU
BN/WH
BN
YE/WH
YE
GN/WH
GN
BK/WH
BK
RD/WH
RD
2464C(BPF)VVP AWG#24×7P-B
GY/WH
GY
BU/WH
BU
BN/WH
BN
YE/WH
YE
GN/WH
GN
BK/WH
BK
RD/WH
RD
Panasonic Factory Solutions Co.,Ltd. パナソニック ファクトリーソリューションズ株式会社
Name
Drawing No.
Loc. No.
F4K1020-05A
1
2 3 4 5 6 7 8
A
B
C
D
E
F
1 2 3 4 5 6 7 8
A
B
C
D
E
F
Page. No.
Main Body Wiring : NPM-D3
(Transportation I/O)
N610159580+044AB
P044
2464-1061/ⅡA(PF) LF 7P×24AWG
2464-1061/ⅡA(PF) LF 7P×24AWG

-A02
POWER UNIT 1
-K321
PNF0B4
ILK board #1
CNDAM1
1
2
3
4
5
6
7
8
EX+5V
GND
TXD1
RXD1
RTS1
CTS1
24VOUT
24GND
CNDAM2
1
2
3
4
5
6
7
8
EX+5V
GND
TXD3
RXD3
RTS3
CTS3
24VOUT
24GND
For
Scanner (Front)
For
Scanner (Rear)
FGA62
R2-4
JST
FGA61
R2-4
JST
N610159597AC
N610159598AC
A1
A2
A3
MOLEX
SCANNER-F
51238-1211
A4
B1
B2
B3
B4
C1
C2
C3
C4
A1
A2
A3
MOLEX
SCANNER-R
51238-1211
A4
B1
B2
B3
B4
C1
C2
C3
C4
1
2
3
JST
CNDAM1K321
PAP-08V-S
4
5
6
7
8
1
2
3
JST
CNDAM2K321
PAP-08V-S
4
5
6
7
8
2464C(BPF)VSVP AWG#24×3P-B
GN/WH
GN
BK/WH
BK
RD/WH
RD
2464C(BPF)VSVP AWG#24×3P-B
GN/WH
GN
BK/WH
BK
RD/WH
RD
1
1
Panasonic Factory Solutions Co.,Ltd. パナソニック ファクトリーソリューションズ株式会社
Name
Drawing No.
Loc. No.
F4K1020-05A
1
2 3 4 5 6 7 8
A
B
C
D
E
F
1 2 3 4 5 6 7 8
A
B
C
D
E
F
Page. No.
Main Body Wiring : NPM-D3
(Scanner I/F)
N610159580+045AC
P045
2464-1061/ⅡA-SBX(PF) LF 3P×24AWG
2
2
2
2464-1061/ⅡA-SBX(PF) LF 3P×24AWG
2