NPM-S - 第303页
Ref No. Remark s R 1 Q'ty 33 基板下受けブロック(デュアルコンベアデュアルモード):N PM Board Support Block(Dual Conveyor Dual mode):NPM イラスト No. Part No. 品 名 品番 数量 R 2 パーツリスト Kit N o . キット品 番 Kit Name キット名称 N610094954AA Part Name 備 考 セクションNo…

33
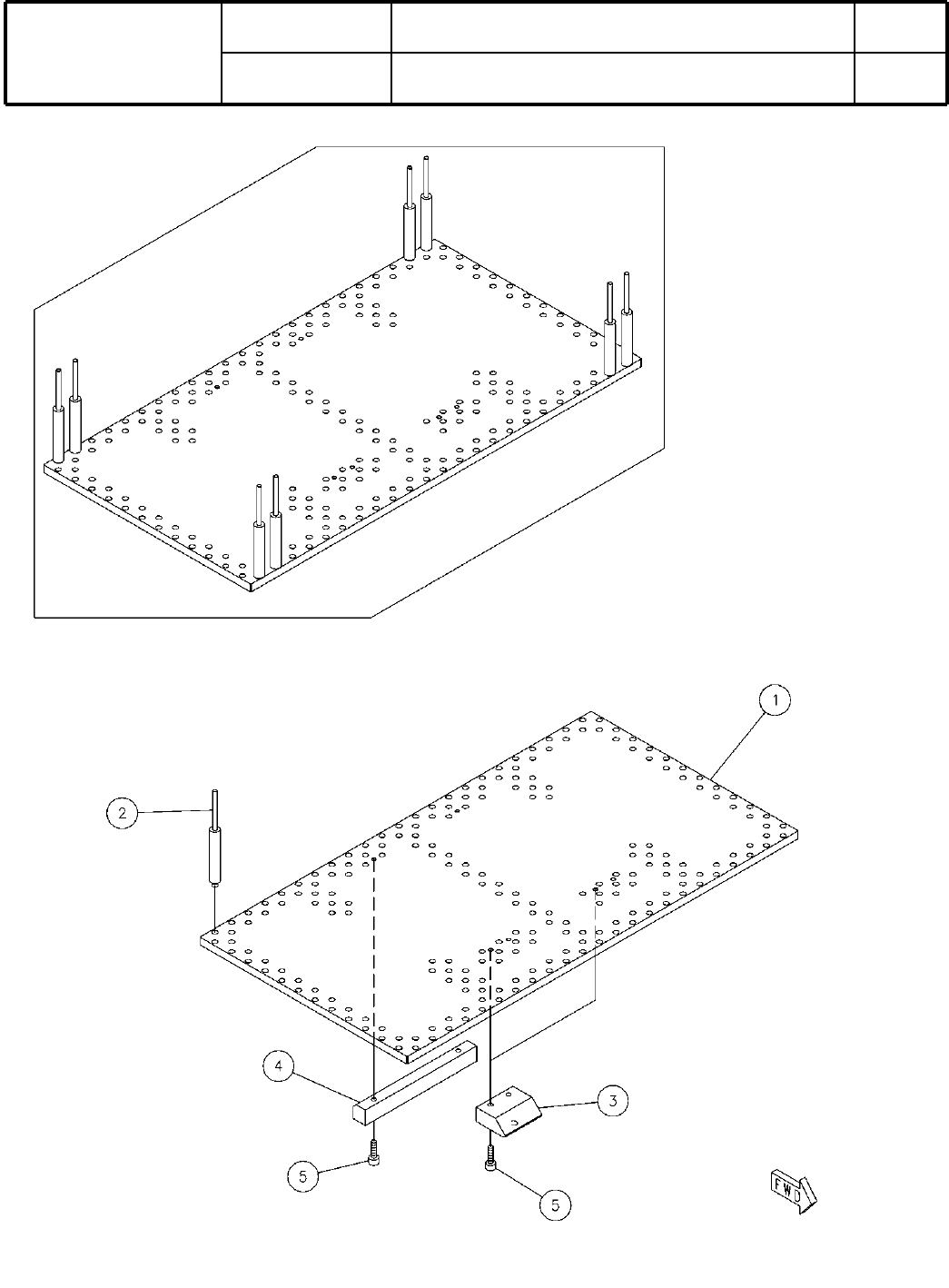
基板下受けブロック(デュアルコンベアデュアルモード):NPM
Board Support Block(Dual Conveyor Dual mode):NPM
パーツレイアウト
Ki
t
N
o
.
キット
品番
Kit Name
キット名称
N610094954AA
セクションNo.
PARTS LAYOUT
Section No.
--
O195
( KN610094954AA-04 )

Ref
No.
Remarks
R
1
Q'ty
33
基板下受けブロック(デュアルコンベアデュアルモード):NPM
Board Support Block(Dual Conveyor Dual mode):NPM
イラスト
No.
Part No.
品 名品番 数量
R
2
パーツリスト
Kit N
o
.
キット品
番
Kit Name
キット名称
N610094954AA
Part Name
備 考
セクションNo.
PARTS LIST
Section No.
R
3
PLATE
1
1 N210121994AA
PIN
10
2 N210113757AC
BLOCK
2
3 N210124264AB
BLOCK
1
4 N210124265AB
BOLT
6
5 N510017308AA
Hexagon socket head cap screw M3X12-10.9 A2J (Trivalent)
O196
--
( KN610094954AA-04 )

34
付
属
品(デュアルコンベア):NPM
Attachment(Dual Conveyor):NPM
パーツレイアウト
Ki
t
N
o
.
キット
品番
Kit Name
キット名称
N610104463AA
セクションNo.
PARTS LAYOUT
Section No.
--
O197
( KN610104463AA-00 )