Trailing cable 2_4_20211124_022928 - 第4页

Trailing cable 2/4 Page 4 / 5 24.11.2021 Pos. Item no. Description Part marking 00333733-07 CABLE PORTAL 2 AND 4 SPARE PART 2 03017774-01 CABLE SUPPORT SPARE PART 3 00845019-01 HEXAGON SOCKET HEAD CAP SCREW 4 00337192-03…

100%1 / 5
Trailing cable 2/4
Page 3 / 5 24.11.2021
Trailing cable 2/4
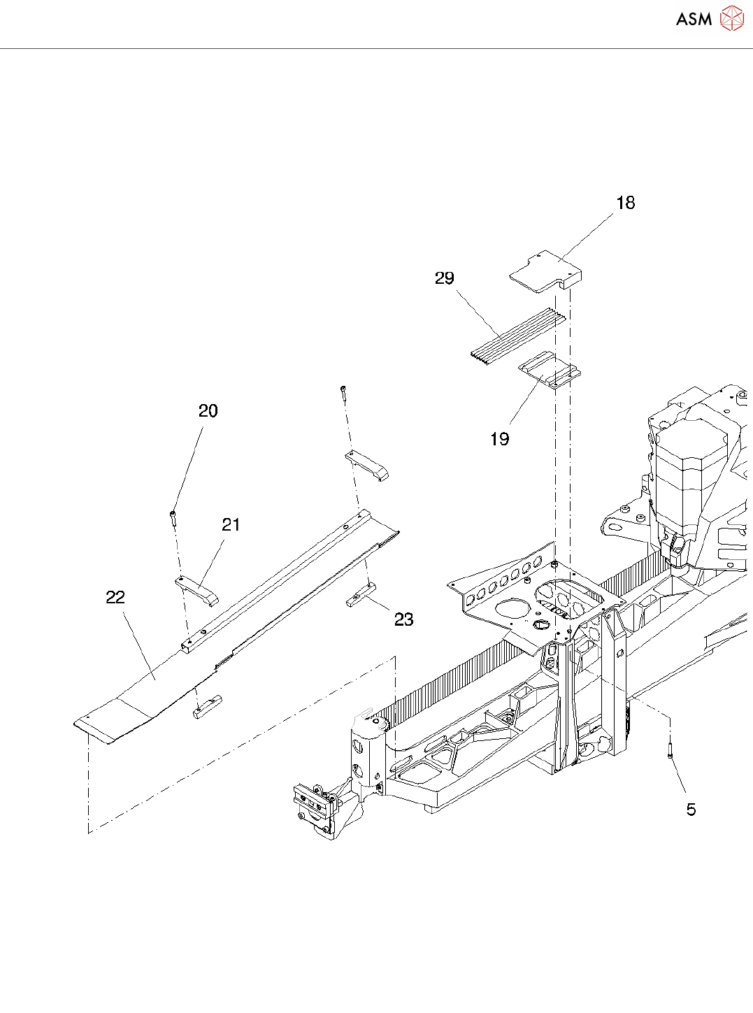
Page 4 / 5 24.11.2021
Pos. Item no. Description Part marking
00333733-07 CABLE PORTAL 2 AND 4 SPARE PART
2 03017774-01 CABLE SUPPORT SPARE PART
3 00845019-01 HEXAGON SOCKET HEAD CAP
SCREW
4 00337192-03 INTERMEDIATE PLATE
5 00845013-01 HEXAGON SOCKET HEAD CAP
SCREW M3 X 6-8.8
6 00306438-01 DISTANCE BOLT TYPE B I/A-
M3X50-ST ZN
7 00337318-01 DISTANCE BOLT M3*12.5I/I 6KT5.5
ST ZINC-C.
8 00345013-01 INTERMEDIATE LAYER 1
9 00344052-01 DISTANCE BOLT
10 00337193-02 C4-BOARD MOUNT RIGHT SIDE SPARE
11 00318601-03 COVER X-CABLE TRAIL.UNIT FOR
7-FOLD TUBE
SPARE PART
12 00845017-01 HEXAGON SOCKET HEAD CAP
SCREW
13 00310999-01 DISTANCE BOLT M3*5 I/I 6KT5.5 ST
CHROM.
14 00329094-01 CABLE GUIDE LI45 HI16,5
15 00330201-01 Y-TRAILING UNIT HOLDER
16 00329717-01 HOSE STRAP GUIDE - Y
17 00330200-01 Y-CABLE CLAMPING
18 00325198-03 X-CABLE CLAMP SPARE PART
19 00329831-01 HOSE STRAP GUIDE - X
20 00845015-01 HEXAGON SOCKET HEAD CAP
SCREW M3 X 10-8.8
21 00329195-02 TERMINAL STRIP
22 00329932-02 CABLE SHEET
23 00329936-01 CLAMPING PIECE
24 00333666-01 HOSE STRAP GUIDE - Y
25 00333855-01 INTERMEDIATE LAYER
26 00333144-01 SPACER
27 00337343-01 COVER TAPE SPARE PART
28 00318551S03 SEVENFOLD TUBE PK-3, BLACK 4
METER
SPARE PART
29 00318551S03 SEVENFOLD TUBE PK-3, BLACK 4 SPARE PART
Trailing cable 2/4
Page 5 / 5 24.11.2021
Pos. Item no. Description Part marking
METER
30 00335144-01 PORTAL CABLE S50:TRACK Y2/
MOTOR X2
31 00335145-01 PORTAL CABLE S50:TRACK Y2 /
MOTOR X2/Y2
32 00335146-01 PORTAL CABLE S50:TRACK Y2 /
MOTOR X/Y2
33 00308279-01 DISTANCE BOLT M3X20 I/O HEX5,5
ST ZC
STANDARD PARTS
34 00845012-01 HEXAGON SOCKET HEAD CAP
SCREW M3 X 5-8.8, COPPER + NI-
PLATED
35 00345014-01 INTERMEDIATE LAYER 2
36 00345017-01 INTERMEDIATE PLATE
00375274-01 CABLE PROTECT.FOIL 450MM FOR
HS GANTRY
SPARE PART
00345056-01 TESAFIX 4965 25 WIDE/0.21 THICK
37 00345185-01 Y-CONNECTION SINGLE
38 00352986-01 ADHESIVE TAPE SPARE
39 00345733-01 4 WAY DISTRIBUTOR SPARE PART
40 00335414-03 X/Y DISTRIBUTOR HS50 SPARE PART
41 00335136-02 ENDPOSITION PROXIMITY 2 Y-AXIS SPARE PART
42 00335137-02 LIMIT PROX.SWITCH 1 REFER.POINT
Y-AXIS
SPARE PART
44 00343442-05 INCREMENTAL SHAFT ENCODER Y-
AXIS
45 00343892-01 CABLE CLAMP
46 00344395-01 DISTANCE SLEEVE 3.3*5.5*10 FOR
M3 ALUM.
47 00845017-01 HEXAGON SOCKET HEAD CAP
SCREW
48 00335609-02 REFLECTOR SPARE PART
49 00335672-01 HEXAGON SOCKET HEAD CAP
SCREW
Powered by TCPDF (www.tcpdf.org)