6-segm. Collect - 第16页
6-segm. Collect&place head DLM3 Page 16 / 24 22.11.2021

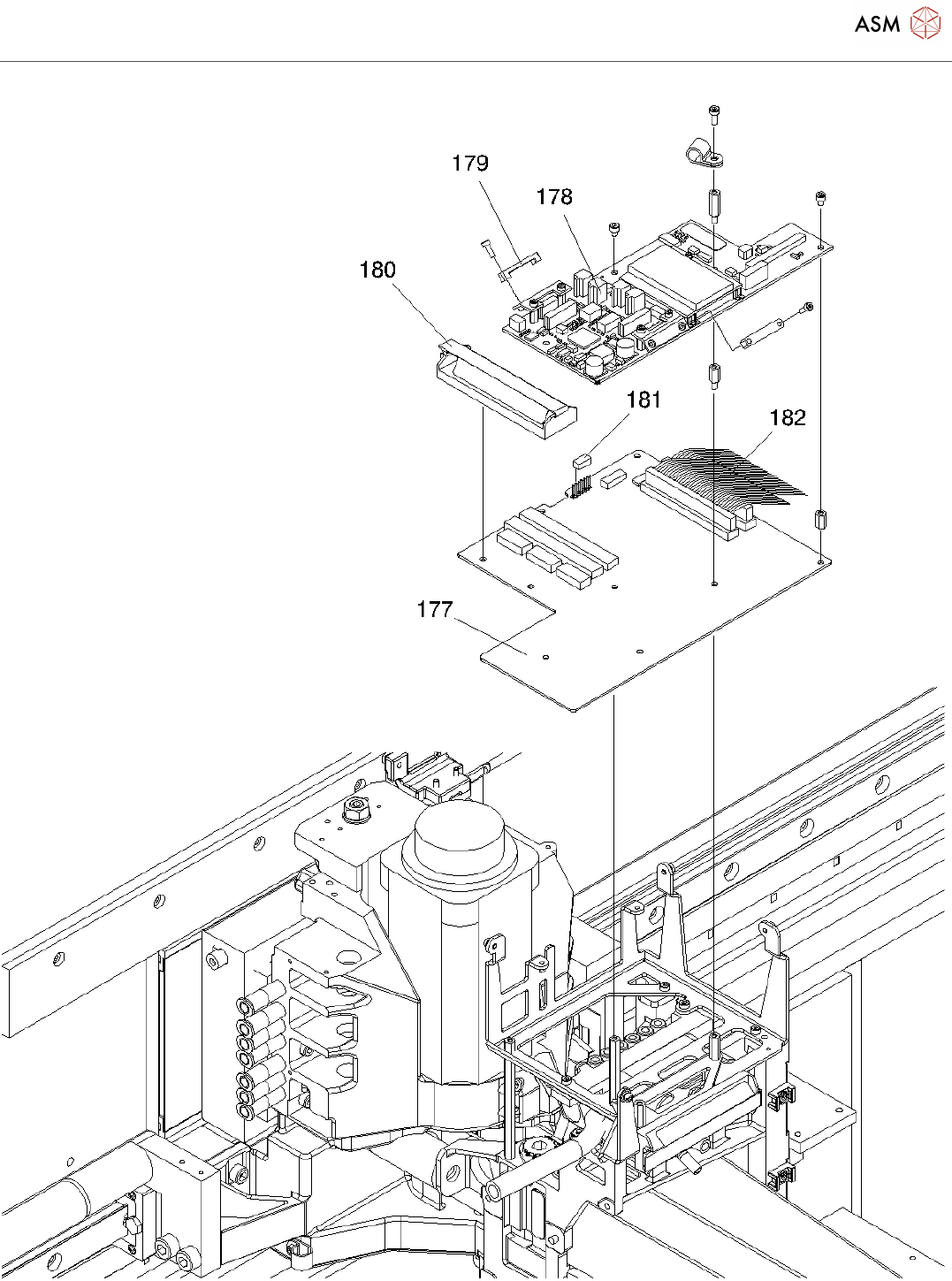
6-segm. Collect&place head DLM3
Page 15 / 24 22.11.2021

6-segm. Collect&place head DLM3
Page 16 / 24 22.11.2021

6-segm. Collect&place head DLM3
Page 17 / 24 22.11.2021