P-196-001e - 第64页
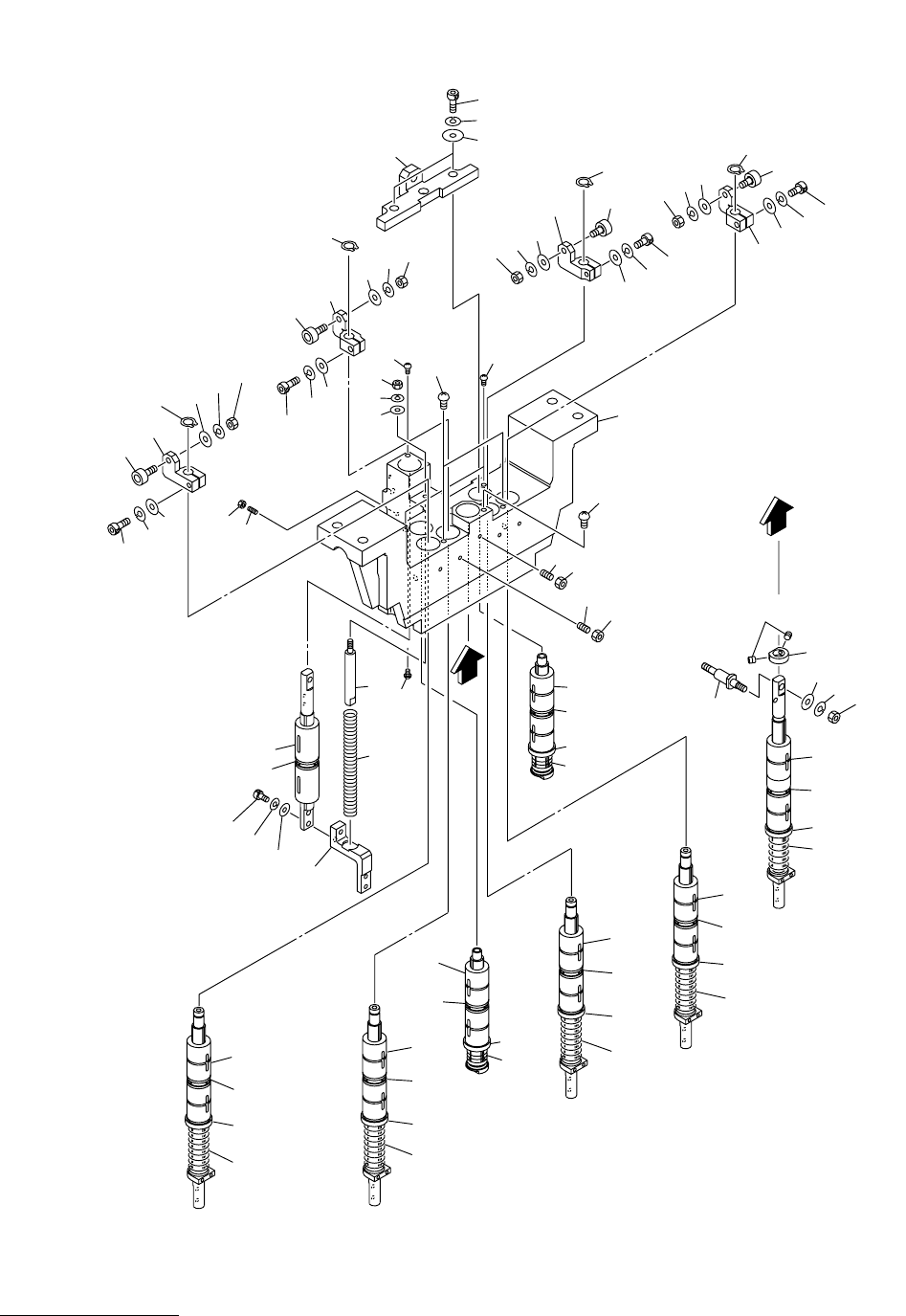
MODEL TCM-3100J-2 0108-001 62 ࡋ࠶࠼㚟േㇱ HEAD DRIVING SECTION Fig. 3-16 ࠹ࡊㅍࠅㇱ 1 Tape Feed Section-1 21 21 2 1 - 1 2 1 - 2 2 1 - 3 21 21 21-1 21-1 21-2 21-2 21-3 21-3 21 21 21-1 21-2 21-3 22 22 1 2 1 1 11-1 1 1 - 3 1 5 16 16…

MODEL TCM-3100J-2
0108-001
61
Key No. PART No. PART NAME Q’ty REMARKS
NOTE
3-15
1 630 048 9736 SUPPORT 2 659K--03B-062
2 411 141 4305 WASHER V 6X12.5X1.6 4 FW6
3 411 141 3001 WASHER SPR 6 4 SW6
4 630 000 7923 BOLT,HEX-SCT 4 M6X35
5 630 052 1559 PLATE 1 659K--03B-063
6 411 141 4305 WASHER V 6X12.5X1.6 4 FW6
7 411 141 3001 WASHER SPR 6 4 SW6
8 630 000 7909 BOLT,HEX-SCT 4 M6X25
10 630 060 4856 ASSY,LEVER(STOPPER TYPE3) 4
11 630 051 6494 BASE 1 659K--03B-093
12 630 055 2881 SHAFT 1 659K--03B-030
13 630 048 7251 LEVER 1 659K--03B-032
14 630 000 8944 SET SCREW 1 M5X6 SET
15 630 001 1272 BEARING,RADIAL 2 659K--03H-012
16 411 051 1708 SCR TRS 4X6 4 M4X6 TRS
17 630 060 4931 ASSY,CYLINDER(STOPPER R) 4 SV22, SV25, SV26, SV27
17 -1 630 055 2874 CYLINDER 1 659K--03H-053
17 -2 630 000 0436 CASE,CONN 1
17 -3 630 000 4281 CABLE JOINT,TERMINAL 2
18 411 118 8503 NUT HEX 5 4 M5 F
19 630 000 8630 BOLT,HEX 4 M5X20 HEX
20 630 029 1391 WASHER 16 659K--03H-048
21 411 141 6705 WASHER SPR 5 16 SW5
22 630 000 7770 BOLT,HEX-SCT 16 M5X20
51 630 051 3813 PIPE FITTINGS 1 659K--03H-054
52 630 003 7814 PIPE FITTINGS 1
53 630 003 7791 PIPE FITTINGS 2
54 411 141 3902 WASHER V 3X7X0.5 2 FW3
55 411 141 2806 WASHER SPR 3 2 SW3
56 630 000 7572 BOLT,HEX-SCT 2 M3X25

MODEL TCM-3100J-2
0108-001
62
ࡋ࠶࠼㚟േㇱ HEAD DRIVING SECTION
Fig. 3-16 ࠹ࡊㅍࠅㇱ 1 Tape Feed Section-1
21
21
21-1
21-2
21-3
21
21
21-1
21-1
21-2
21-2
21-3
21-3
21
21
21-1
21-2
21-3
22
22
12
11
11-1
11-3
15
16
16
17
11-2
20
19
18
21
21-1
21-1
21-2
21-2
21-3
21-3
25-1
25-1
26
26
27
27
28
29
29
33
32
32
31
30
13
14
10
23
23
24
25-4
29
28
28
27
26
31
32
33
33
30
25-2
31
32
32
33
29
29
28
28
27
27
26
30
51-1
51-1
56
57
57
58
59
47
55
52
52
52
53
53
54
54
50
50
49
49
48
48
42
43
43
44
45
46
41
41
41-1
41-2
41-2
41-3
41-3
41
41-1
41-2
41-2
41-3
51
51
33
25-3
26
27
28
28
29
32
31
30
30
A
A
Fig.3-16
TCM-3100J-2
TCM-3000Z-2

MODEL TCM-3100J-2
0108-001
63
Key No. PART No. PART NAME Q’ty REMARKS
NOTE
3-16
630 060 6720 ASSY,BRACKET,LOCATE(PF) 1
10 630 056 9230 BRACKET,LOCATE 1 659KB-03B-126
11 630 081 8154 GUIDE,LINEAR 1 659KB-03H-101
11 -1 630 048 3215 COLLAR 1 659KB-03B-122
11 -2 630 048 3222 COLLAR 1 659KB-03B-123
11 -3 630 049 3047 SPRING,COMP 1 659KB-03B-134
12 411 140 8007 SCR TRS 5X6 1 M5X6 TRS
13 630 087 4242 SET SCREW 1 659KB-03H-113
14 411 141 0307 NUT HEX 4 1 M4
15 630 049 0015 COLLAR 1 659KB-03B-133
16 630 000 8883 SET SCREW 2 M3X4 SET
17 630 048 3192 SHAFT 1 659KB-03B-120
18 411 141 4305 WASHER V 6X12.5X1.6 1 FW6
19 411 141 3001 WASHER SPR 6 1 SW6
20 411 141 0703 NUT HEX 6 1 M6
21 630 081 8147 GUIDE,LINEAR 4 659KB-03H-102
21 -1 630 048 3208 COLLAR 4 659KB-03B-121
21 -2 630 048 3222 COLLAR 4 659KB-03B-123
21 -3 630 049 3054 SPRING,COMP 4 659KB-03B-135
22 411 140 8007 SCR TRS 5X6 2 M5X6 TRS
23 630 087 4242 SET SCREW 4 659KB-03H-113
24 411 141 0307 NUT HEX 4 4 M4
25 -1 630 056 9513 BLOCK 1 659KB-03B-115
25 -2 630 056 9506 BLOCK 1 659KB-03B-114
25 -3 630 056 9520 BLOCK 1 659KB-03B-116
25 -4 630 056 9490 BLOCK 1 659KB-03B-113
26 630 007 2457 CAM FOLLOWER 4 659KB-03H-108
27 411 141 4305 WASHER V 6X12.5X1.6 4 FW6
28 411 141 3001 WASHER SPR 6 4 SW6
29 411 141 0703 NUT HEX 6 4 M6
30 411 000 7102 RING C 10 4 659KB-03H-107
31 411 141 4107 WASHER V 5X10X1 4 FW5
32 411 141 6705 WASHER SPR 5 4 SW5
33 630 000 7763 BOLT,HEX-SCT 4 M5X16
41 630 059 5604 GUIDE,LINEAR 2 659KB-03H-103
41 -1 630 048 3208 COLLAR 2 659KB-03B-121
41 -2 630 059 5635 COLLAR 2 659KB-03B-142
41 -3 630 059 5628 SPRING,COMP 2 659KB-03B-136
42 411 140 8007 SCR TRS 5X6 2 M5X6 TRS
43 630 057 9741 PLATE,LOCATE 1 659KB-03B-117
44 630 001 0237 WASHER 2 659KB-03H-110
45 411 141 3001 WASHER SPR 6 2 SW6
46 630 000 7886 BOLT,HEX-SCT 2 M6X16
47 630 048 3239 PIN,GUIDE 1 659KB-03B-124
48 411 141 4107 WASHER V 5X10X1 1 FW5
49 411 141 6705 WASHER SPR 5 1 SW5
50 411 141 0505 NUT HEX 5 1 M5
51 630 048 7503 GUIDE,LINEAR 1 659KB-03H-104
51 -1 630 048 3208 COLLAR 1 659KB-03B-121
52 411 140 8007 SCR TRS 5X6 2 M5X6 TRS