P-138-001e - 第110页
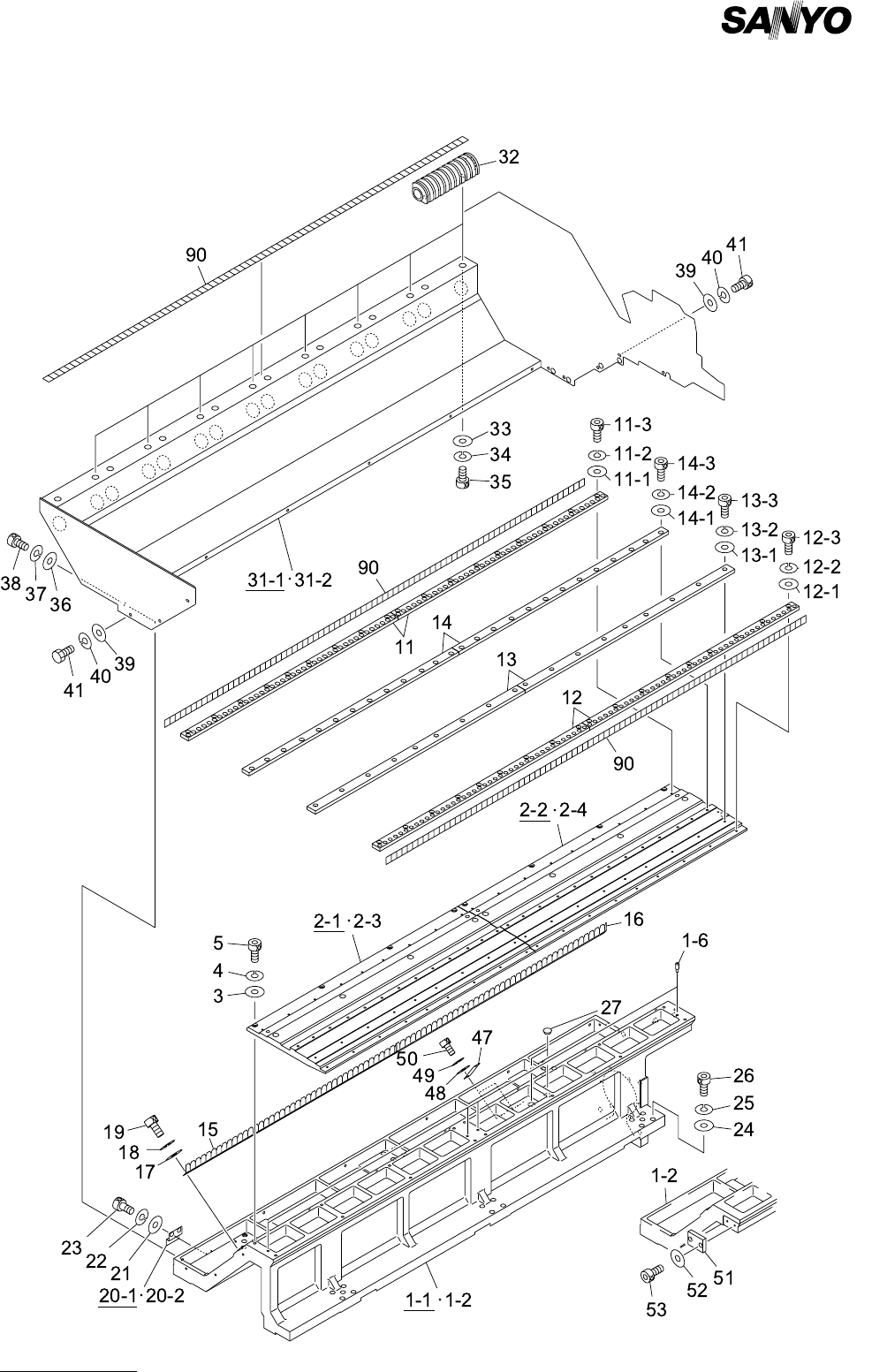
MODEL TCM-3700 9912-001 部品供給部 FEEDER CARRIAGE SECTION Fig. 5-2 リールユニット Feeder Carriage

MODEL TCM-3700
9912-001
5- 1
PART No. PART NAME Q'ty REMARKS
1 630 083 8671 BALL SCREW 1 739C--01H-001
2 630 047 9454 BRACKET 2 739C--01B-035
2 -1 630 084 6485 SPACER 2 739C--01B-052
3 630 046 6874 COLLAR 2 739C--01B-037
4 630 046 6805 BEARING,PARTS 2 739C--01B-038
6 411 141 4503 WASHER V 8X17X1.6 4 FW8
7 411 141 3100 WASHER SPR 8 4 SW8
8 630 000 8043 BOLT,HEX-SCT 4 M8X35
9 630 084 6652 PIN,LOCATE 4 739C--01H-007
10 411 141 4800 WASHER V 12X24X2.5 8 FW12
11 411 141 3308 WASHER SPR 12 8 SW12
12 630 000 8241 BOLT,HEX-SCT 8 M12X40
21 630 047 8013 GUIDE,LINEAR 2 739C--01H-002
22 630 000 7770 BOLT,HEX-SCT 34 M5X20
31 630 047 6811 BRACKET 5 739C--01B-034
32 630 000 0252 SENSOR,PHOTO 8 739C--01H-005
33 630 000 0269 SENSOR,PHOTO(CONNECTOR) 8 739C--01H-006
34 411 119 1909 WASHER V 3X7X0.5 32 FW3 F
35 411 086 4408 WASHER SPR 3 16 SW3 F
36 411 040 7803 SCR PAN 3X12 16 M3X12 PAN
37 411 141 4107 WASHER V 5X10X1 10 FW5
38 411 141 6705 WASHER SPR 5 10 SW5
39 630 000 7749 BOLT,HEX-SCT 10 M5X10
41 630 054 9973 BLOCK 4 739C--01B-031
42 630 048 4052 MECH PARTS(URETHANES) 4 739C--01H-016
43 630 000 7879 BOLT,HEX-SCT 4 M6X12
44 411 141 4701 WASHER V 10X21X2 8 FW10
45 411 141 3209 WASHER SPR 10 8 SW10
46 630 000 8142 BOLT,HEX-SCT 8 M10X35
Key No.
NOTE

MODEL TCM-3700
9912-001
部品供給部 FEEDER CARRIAGE SECTION
Fig. 5-2 リールユニット Feeder Carriage

MODEL TCM-3700
9912-001
5- 2
PART No. PART NAME Q'ty REMARKS
1 -1 630 084 1237 BASE 1 739C--01B-001
1 -2 630 084 1244 BASE 1 739C--01B-002
1 -6 630 084 4078 PIN,LOCATE 8 739C--01B-048
2 -1 630 084 4085 PLATE 1 739C--01B-049
2 -2 630 084 4092 PLATE 1 739C--01B-050
2 -3 630 084 4108 PLATE 1 739C--01B-051
2 -4 630 084 4085 PLATE 1 739C--01B-049
3 411 141 4305 WASHER V 6X12.5X1.6 32 FW6
4 411 141 3001 WASHER SPR 6 32 SW6
5 630 000 7893 BOLT,HEX-SCT 32 M6X20
11 630 048 4342 PLATE 4 739C--01B-007
11 -1 411 141 4008 WASHER V 4X9X0.8 36 FW4
11 -2 411 141 2905 WASHER SPR 4 36 SW4
11 -3 630 000 7640 BOLT,HEX-SCT 36 M4X14
12 630 048 4335 PLATE 4 739C--01B-003
12 -1 411 141 4008 WASHER V 4X9X0.8 36 FW4
12 -2 411 141 2905 WASHER SPR 4 36 SW4
12 -3 630 000 7626 BOLT,HEX-SCT 36 M4X10
13 630 084 4061 PLATE 4 739C--01B-047
13 -1 411 141 4008 WASHER V 4X9X0.8 36 FW4
13 -2 411 141 2905 WASHER SPR 4 36 SW4
13 -3 630 000 7640 BOLT,HEX-SCT 36 M4X14
14 630 056 2491 PLATE 4 739C--01B-005
14 -1 411 141 4107 WASHER V 5X10X1 52 FW5
14 -2 411 141 6705 WASHER SPR 5 52 SW5
14 -3 630 000 7763 BOLT,HEX-SCT 52 M5X16
15 630 048 4359 SUPPORT 2 739C--01B-009
16 630 048 4366 SUPPORT 2 739C--01B-010
17 411 141 4107 WASHER V 5X10X1 16 FW5
18 411 141 6705 WASHER SPR 5 16 SW5
19 630 000 7756 BOLT,HEX-SCT 16 M5X12
20 -1 630 047 6798 BRACKET 1 739C--01B-032
20 -2 630 047 6804 BRACKET 1 739C--01B-033
21 411 141 4008 WASHER V 4X9X0.8 4 FW4
22 411 141 2905 WASHER SPR 4 4 SW4
23 630 000 7619 BOLT,HEX-SCT 4 M4X8
24 411 141 4107 WASHER V 5X10X1 48 FW5
25 411 141 6705 WASHER SPR 5 48 SW5
26 630 000 7763 BOLT,HEX-SCT 48 M5X16
27 630 005 4057 ACCESSORY,SW 4 739C--01H-022
31 -1 630 084 3989 SUPPORT 1 739C--01B-011
31 -2 630 084 3996 SUPPORT 1 739C--01B-012
32 630 055 1792 SUPPORT 16 739C--01B-013
33 411 141 4305 WASHER V 6X12.5X1.6 32 FW6
34 411 141 3001 WASHER SPR 6 32 SW6
35 630 000 7886 BOLT,HEX-SCT 32 M6X16
36 411 141 4305 WASHER V 6X12.5X1.6 12 FW6
37 411 141 3001 WASHER SPR 6 12 SW6
38 630 000 7879 BOLT,HEX-SCT 12 M6X12
39 411 088 1702 WASHER V 5X10X1 16 FW5 F
Key No.
NOTE