P-138-001e - 第157页
MEMO

MODEL TCM-3700
9912-001
7- 1
PART No. PART NAME Q'ty REMARKS
48 411 141 2905 WASHER SPR 4 4 SW4
49 630 000 7633 BOLT,HEX-SCT 4 M4X12
50 630 084 4474 CHUTE(L) 2 739G--01B-055
50 -1 630 077 4696 CHUTE(R MAE) 2 739G--01B-057
50 -2 630 077 4702 CHUTE(R OKU) 2 739G--01B-064
51 630 000 7633 BOLT,HEX-SCT 20 M4X12
53 630 069 5373 PULLEY,FLAT 22 739G--01H-001
53 -1 630 069 5380 PULLEY,FLAT 8 739G--01H-047
54 630 075 6319 BELT,FLAT 2 739G--01H-002
55 630 084 4863 BELT,FLAT 2 739G--01H-038
56 630 084 4436 GUIDE(MAE1) 1 739G--01B-014
56 -1 630 077 4719 GUIDE(MAE 2) 1 739G--01B-065
57 630 084 4429 GUIDE(OKU) 1 739G--01B-013
58 411 141 4008 WASHER V 4X9X0.8 16 FW4
59 411 141 2905 WASHER SPR 4 16 SW4
60 630 000 7664 BOLT,HEX-SCT 13 M4X20
60 -1 630 000 7633 BOLT,HEX-SCT 3 M4X12
66 630 056 2750 PLATE(R) 1 739G--01B-048
67 411 141 4008 WASHER V 4X9X0.8 4 FW4
68 411 141 2905 WASHER SPR 4 2 SW4
69 630 000 7602 BOLT,HEX-SCT 2 M4X6
71 630 056 2736 PLATE 2 739G--01B-049
72 630 000 0252 SENSOR,PHOTO 2 739G--01H-044
73 630 000 0269 SENSOR,PHOTO(CONNECTOR) 2 739G--01H-045
74 411 088 9005 WASHER F 3X6X0.5 8 FWS3 F
75 411 086 4408 WASHER SPR 3 4 SW3 F
76 411 040 7803 SCR PAN 3X12 4 M3X12 PAN
77 411 141 4008 WASHER V 4X9X0.8 4 FW4
78 411 141 2905 WASHER SPR 4 4 SW4
79 630 000 7626 BOLT,HEX-SCT 4 M4X10
91 630 001 0237 WASHER 3 739G--01H-025
92 411 141 3001 WASHER SPR 6 3 SW6
93 630 000 7886 BOLT,HEX-SCT 3 M6X16
96 630 035 6618 MECH PARTS (SET COLLARS) 1 739G--01H-046
Key No.
NOTE

MEMO

MODEL TCM-3700
9912-001
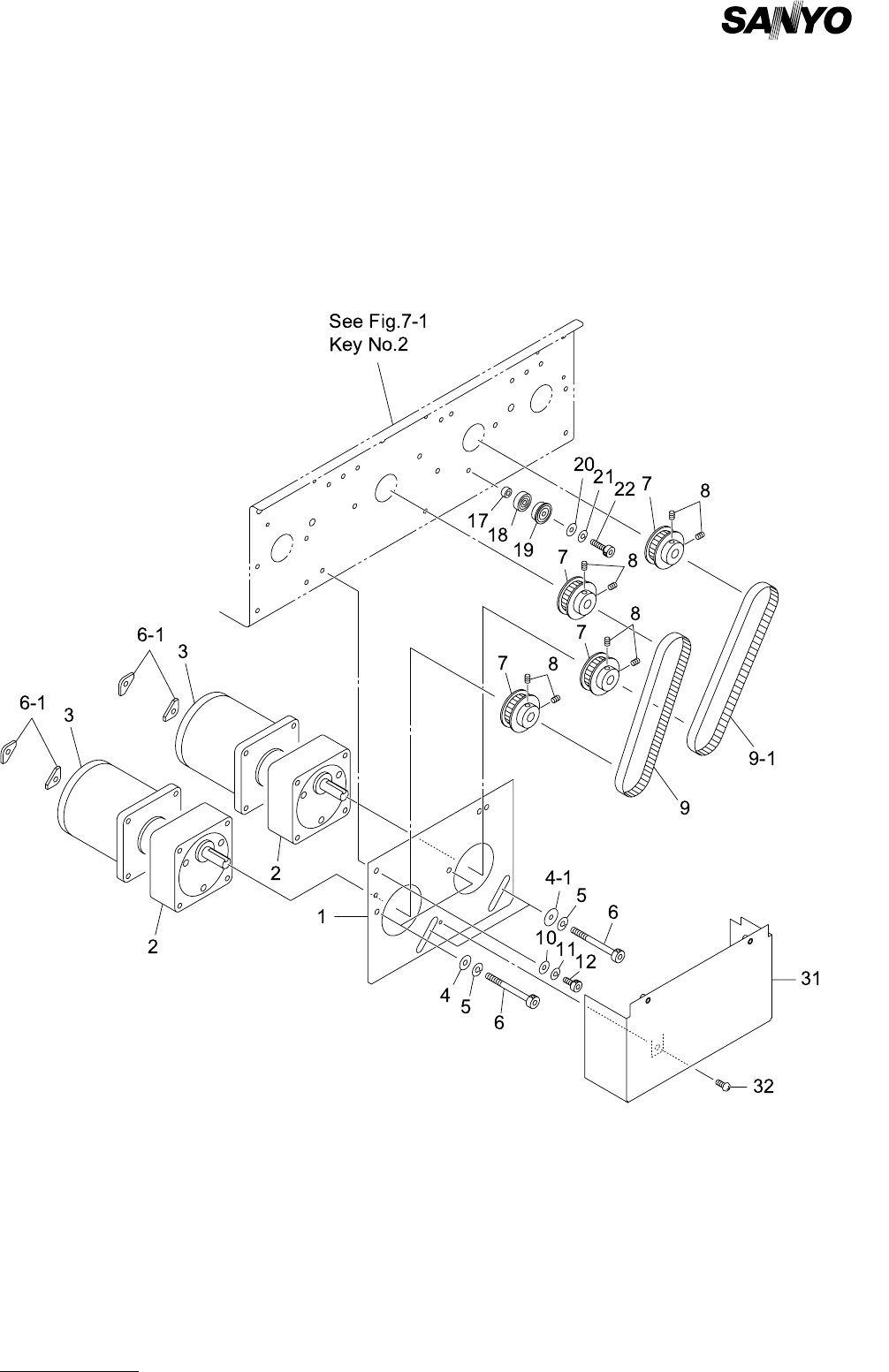
Lコンベア部 L CONVEYOR SECTION
Fig. 7-2 コンベア駆動部 Conveyor Driver