P-138-001e - 第186页
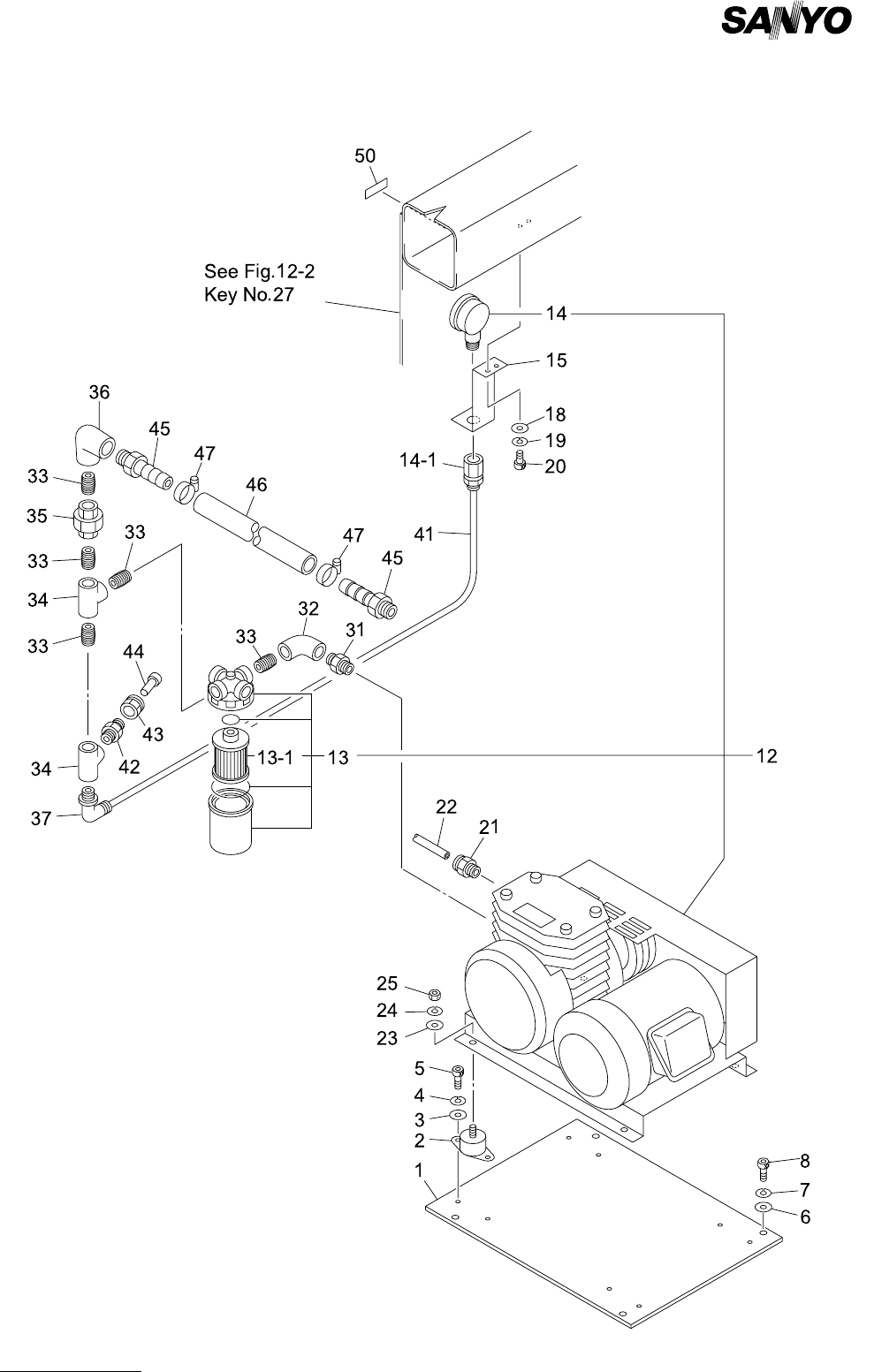
MODEL TCM-3700 9912-001 空圧制御部 PNEUMA TIC SECTION Fig.10-1 真空ポンプ V acuum Pump

MODEL TCM-3700
9912-001
9- 4
PART No. PART NAME Q'ty REMARKS
1 630 065 4202 STAY 2 739F--01B-023
2 630 084 4139 PLATE(FEED) 1 739F--01B-022
2 -1 630 065 4219 GUIDE(FEED) 1 739F--01B-033
3 411 141 4107 WASHER V 5X10X1 6 FW5
4 411 141 6705 WASHER SPR 5 6 SW5
5 630 000 7787 BOLT,HEX-SCT 4 M5X25
6 630 000 7787 BOLT,HEX-SCT 2 M5X25
6 -1 630 008 1213 BOLT,HEX-SCT 2 739F--01H-032
7 411 140 8007 SCR TRS 5X6 2 M5X6 TRS
8 630 005 6525 BLOCK 2 739F--01B-024
9 630 057 7068 PLATE(PUSH) 2 739F--01B-025
10 411 141 4008 WASHER V 4X9X0.8 4 FW4
11 411 141 2905 WASHER SPR 4 4 SW4
12 630 000 7633 BOLT,HEX-SCT 4 M4X12
13 411 141 4305 WASHER V 6X12.5X1.6 2 FW6
14 411 141 3001 WASHER SPR 6 2 SW6
15 411 140 6003 BOLT WING 6X20 2 739F--01H-026
16 630 000 7503 BOLT,HEX-SCT 2 M3X6
Key No.
NOTE

MODEL TCM-3700
9912-001
空圧制御部 PNEUMATIC SECTION
Fig.10-1 真空ポンプ Vacuum Pump

MODEL TCM-3700
9912-001
10- 1
PART No. PART NAME Q'ty REMARKS
1 630 057 7983 PLATE 1 739L--01B-013
2 630 003 6787 MECH PARTS(RUBBER DAMPER) 4 739L--01H-002
3 411 141 4305 WASHER V 6X12.5X1.6 8 FW6
4 411 141 3001 WASHER SPR 6 8 SW6
5 630 000 7862 BOLT,HEX-SCT 8 M6X10
6 411 141 4305 WASHER V 6X12.5X1.6 4 FW6
7 411 141 3001 WASHER SPR 6 4 SW6
8 630 000 7886 BOLT,HEX-SCT 4 M6X16
12 630 055 2195 VACUUM PUMP 1 739L--01H-001
13 630 031 8593 AIR LINE EQPT(FILTER) 1
13 -1 630 012 1230 AIR LINE EQPT(FLT ELEM) 1
14 630 055 2171 VACUUM PARTS 1
14 -1 630 055 3062 PIPE FITTINGS 1 739L--01H-091
15 630 056 8035 BRACKET 1 739L--01B-012
18 411 141 4107 WASHER V 5X10X1 2 FW5
19 411 141 6705 WASHER SPR 5 2 SW5
20 630 000 7749 BOLT,HEX-SCT 2 M5X10
21 630 003 7074 PIPE FITTINGS 1
23 411 141 4503 WASHER V 8X17X1.6 8 FW8
24 411 141 3100 WASHER SPR 8 8 SW8
25 411 141 0901 NUT HEX 8 8 M8
31 630 034 9290 PIPE FITTINGS 1 739L--01H-037
32 630 003 7845 PIPE FITTINGS 1
33 630 003 8187 PIPE FITTINGS 5
34 630 003 8088 PIPE FITTINGS 2
35 630 003 8279 PIPE FITTINGS 1 739L--01H-003
36 630 009 3520 PIPE FITTINGS 1 739L--01H-004
37 630 003 7371 PIPE FITTINGS 1
42 630 003 8033 PIPE FITTINGS 1
43 630 003 7036 PIPE FITTINGS 1
44 630 003 7791 PIPE FITTINGS 1
45 630 004 1026 PIPE FITTINGS 2 739L--01H-005
46 630 033 6948 TUBE 1 739L--01H-006
47 630 008 0940 TUBE(BAND) 2 739L--01H-007
Key No.
NOTE