P-138-001e - 第199页
MEMO

MODEL TCM-3700
9912-001
11- 2
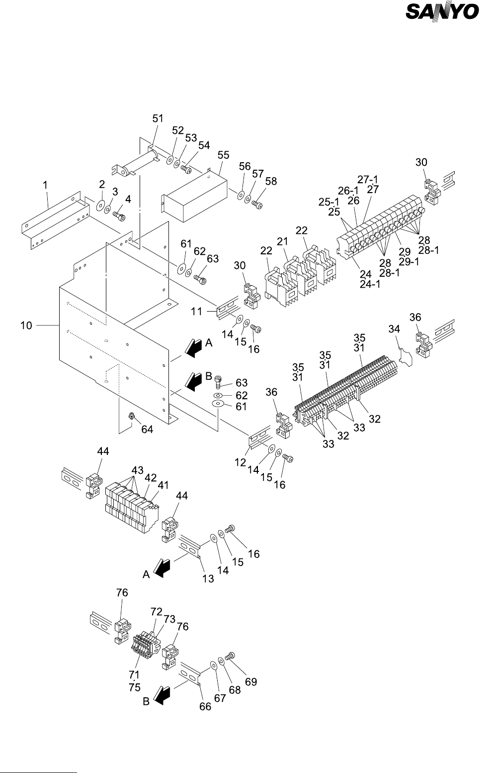
PART No. PART NAME Q'ty REMARKS
78 630 074 8093 WIRE PARTS 1 739BC-01D-053
79 630 053 8601 EM-CONTACTOR 1 739BC-01D-027
80 630 049 3672 BRACKET,WIRING 2 739BC-01D-026
82 411 119 2104 WASHER V 4X9X0.8 3 FW4 F
83 411 008 1706 WASHER SPR 4 3 SW4 F
84 411 043 5004 SCR PAN 4X8 3 M4X8 PAN
85 630 049 2200 EM-CONTACTOR 2 739BC-01D-010
85 -1 630 000 1853 COMP,CR 6 739BC-01D-008
86 630 049 3696 TERMINAL 8 739BC-01D-021
87 630 049 3757 ACCESSORY,WIRING 3 739BC-01D-025
88 630 049 3733 ACCESSORY,WIRING 1 739BC-01D-023
90 630 049 3672 BRACKET,WIRING 2 739BC-01D-026
91 630 088 9482 CIRCUIT PROTECTOR 7 739BC-01D-061
92 630 049 3672 BRACKET,WIRING 3 739BC-01D-026
96 630 049 3696 TERMINAL 3 739BC-01D-021
97 630 049 3757 ACCESSORY,WIRING 1 739BC-01D-025
98 630 049 3733 ACCESSORY,WIRING 1 739BC-01D-023
100 630 049 3672 BRACKET,WIRING 2 739BC-01D-026
101 630 001 0220 WASHER 3 BW5
102 411 141 6705 WASHER SPR 5 3 SW5
103 630 000 7756 BOLT,HEX-SCT 3 M5X12
104 411 036 8609 SCR PAN+SW+W 5X12 1
Key No.
NOTE

MEMO

MODEL TCM-3700
9912-001
電気制御部 ELECTRICAL SECTION
Fig.11-3 100V 電源 Power Supply-100V