P-138-001e - 第216页
MODEL TCM-3700 9912-001 電気制御部 ELECTRICAL SECTION Fig.1 1-8 制御ボックス配線 Control Box Wiring

MODEL TCM-3700
9912-001
11- 7
PART No. PART NAME Q'ty REMARKS
1 630 052 2822 P.C.B,MOUNT(SERIAL 2CH) 1 739CC-01U-007
2 630 052 2815 P.C.B,MOUNT(I/O) 1 739CC-01U-006
4 630 065 8644 P.C.B,MOUNT(CPU1) 1 739CB-01U-001
5 630 074 3814 P.C.B,MOUNT 1 739CC-01U-001
6 630 041 3984 P.C.B,MOUNT(SRAM) 1 739CC-01U-002
7 630 064 6344 P.C.B,MOUNT(SERIAL 6CH) 1 739CC-01U-012
8 630 076 9432 P.C.B,MOUNT(MOTOR CONT4S) 1 739CC-01U-003
10 630 065 8651 P.C.B,MOUNT(CPU2) 1 739CB-01U-002
14 630 063 5690 P.C.B,MOUNT (INTERLOCK) 1 739CC-01U-005
15 630 064 7365 P.C.B,MOUNT(MOTOR CONT6) 1 739CC-01U-004
16 630 064 7389 P.C.B,MOUNT(MOTOR CONT4) 1 739CC-01U-013
17 630 052 2815 P.C.B,MOUNT(I/O) 1 739CC-01U-006
21 630 061 5173 P.C.B,MOUNT(RECOG CPU) 1 739CC-01U-008
22 630 063 7908 P.C.B,MOUNT(RECOG IPU) 1 739CC-01U-009
23 630 063 7892 P.C.B,MOUNT(RECOG VIO) 1 739CC-01U-010
101 630 049 4914 CORD 1 739C--01D-029
102 630 049 4921 CORD 1 739C--01D-030
103 630 049 4938 CORD 1 739C--01D-031
105 630 049 4945 CORD 1 739C--01D-032
106 630 049 4952 CORD 1 739C--01D-033
107 630 049 4969 CORD 1 739C--01D-034
108 630 049 4976 CORD 1 739C--01D-035
109 630 049 4983 CORD 1 739C--01D-036
110 630 049 4990 CORD 1 739C--01D-072
112 630 049 5003 CORD 1 739C--01D-038
113 630 049 5010 CORD 1 739C--01D-039
114 630 049 5027 CORD 1 739C--01D-040
Key No.
NOTE

MODEL TCM-3700
9912-001
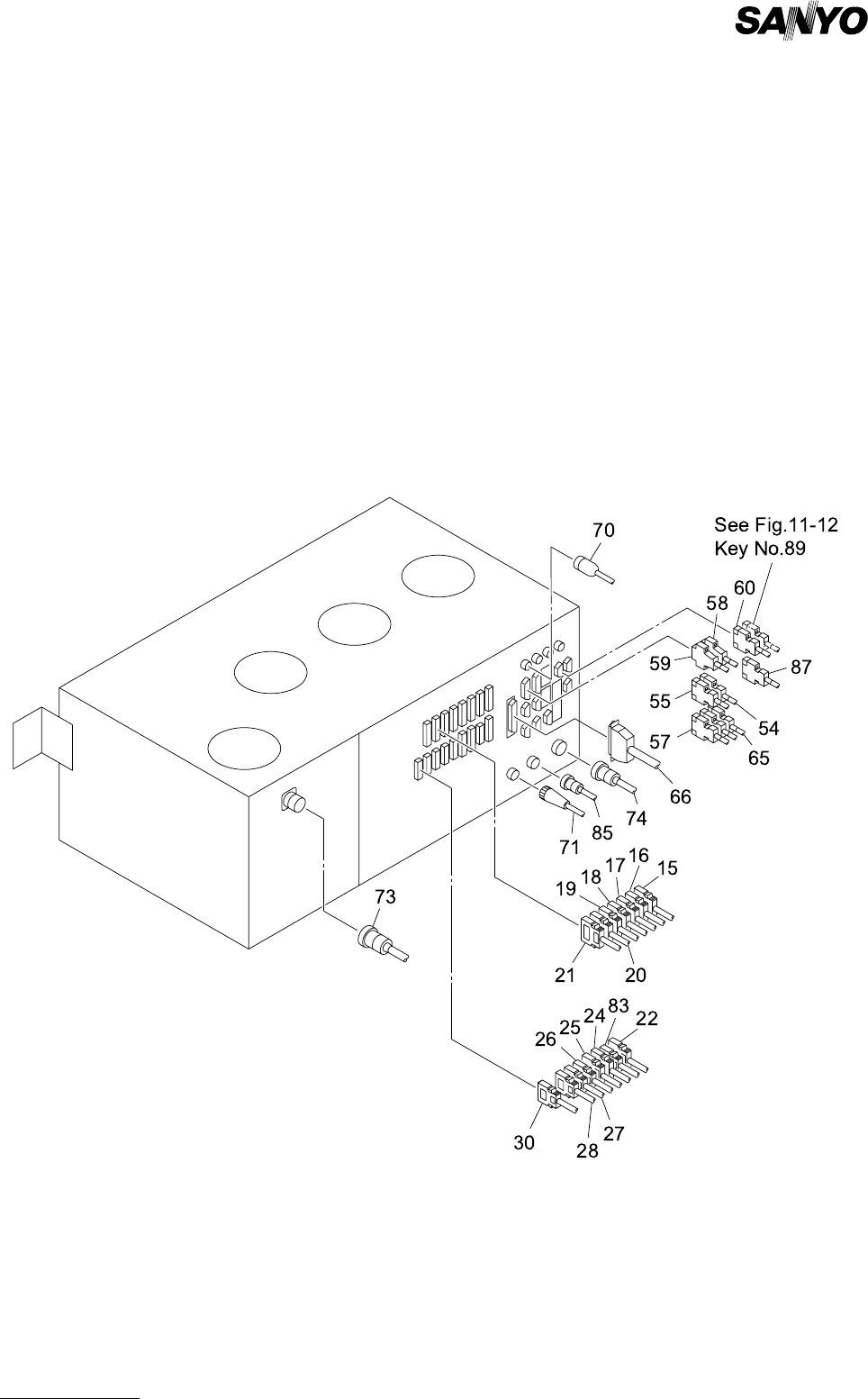
電気制御部 ELECTRICAL SECTION
Fig.11-8 制御ボックス配線 Control Box Wiring

MODEL TCM-3700
9912-001
11- 8
PART No. PART NAME Q'ty REMARKS
15 630 049 5034 CORD 1 739FB-01D-045
16 630 084 6379 CORD 1 739FB-01D-046
17 630 064 1523 CORD 1 739FB-01D-047
18 630 084 6393 CORD 1 739FB-01D-048
19 630 064 1516 CORD 1 739FB-01D-049
20 630 084 5952 CORD 1 739FB-01D-050
21 630 084 5969 CORD 1 739FB-01D-051
22 630 049 5102 CORD 1 739FB-01D-052
24 630 084 6409 CORD 1 739FB-01D-053
25 630 058 0341 CORD 1 739FB-01D-054
26 630 064 1530 CORD 1 739FB-01D-055
27 630 084 5983 CORD 1 739FB-01D-056
28 630 084 6416 CORD 1 739FB-01D-057
30 630 049 5171 CORD 1 739FB-01D-140
54 630 084 6232 CORD 1 739FB-01D-064
55 630 084 6256 CORD 1 739FB-01D-063
57 630 049 7595 CORD 1 739FB-01D-062
58 630 084 6225 CORD 1 739FB-01D-066
59 630 084 6249 CORD 1 739FB-01D-065
65 630 065 8255 CORD 1 739FB-01D-150
66 630 064 1479 CORD 1 739FB-01D-060
71 630 049 3269 CONNECTOR 1 739FB-01D-033
73 630 054 8709 CONNECTOR 1 739FB-01D-102
74 630 049 3238 CONNECTOR 1 739FB-01D-025
83 630 084 6034 CORD 1 739FB-01D-126
85 630 004 6267 CONNECTOR 1 739FB-01D-127
87 630 064 1486 CORD 1 739FB-01D-125
Key No.
NOTE