P-138-001e - 第229页
MEMO

MODEL TCM-3700
9912-001
11-13
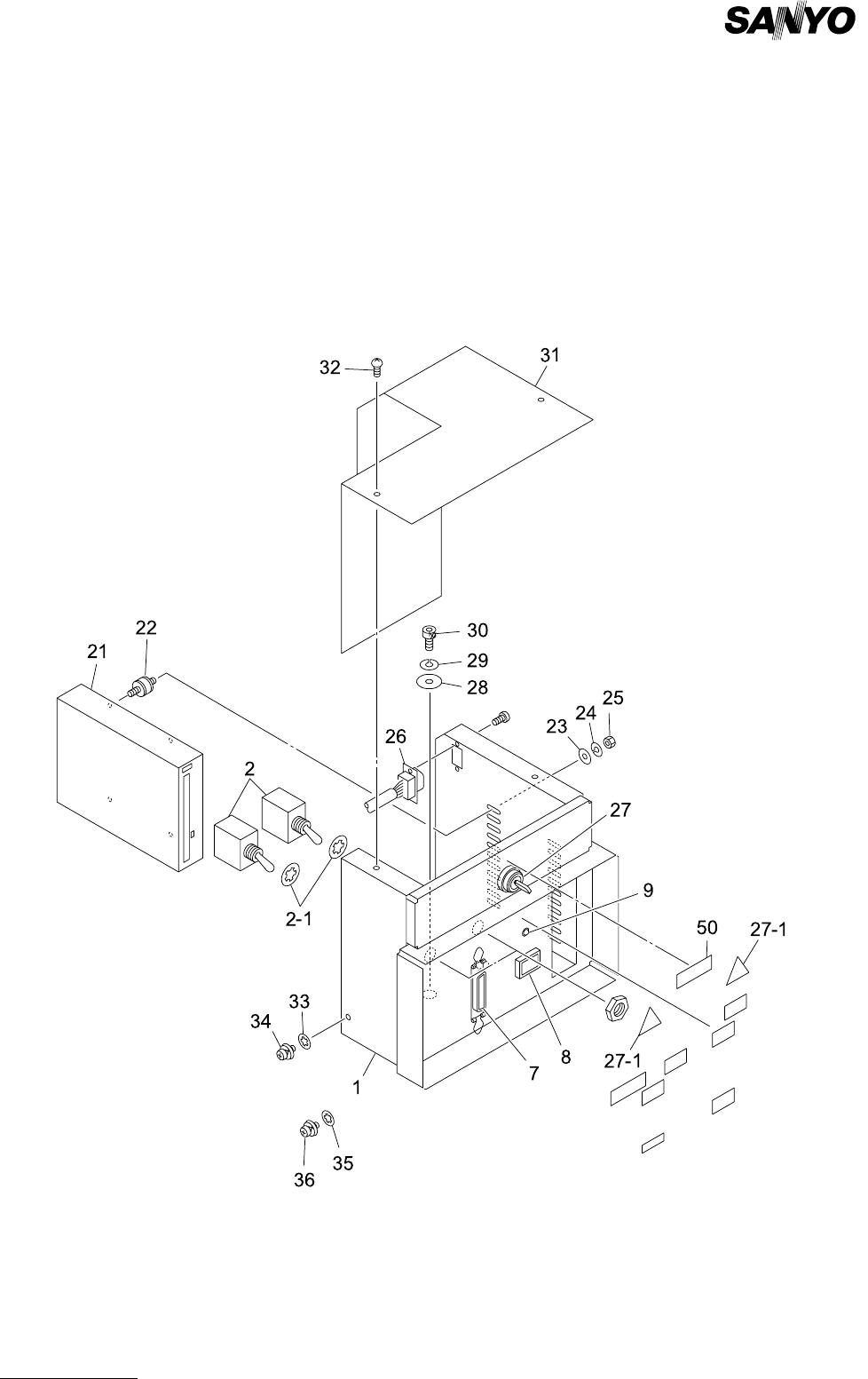
PART No. PART NAME Q'ty REMARKS
73 630 000 7749 BOLT,HEX-SCT 4 M5X10
77 630 057 9017 SUPPORT 1 739FB-01V-004
78 411 141 4107 WASHER V 5X10X1 2 FW5
79 411 141 6705 WASHER SPR 5 2 SW5
80 630 000 7756 BOLT,HEX-SCT 2 M5X12
81 630 057 9758 BRACKET 1 739FB-01V-013
82 411 141 4107 WASHER V 5X10X1 4 FW5
83 411 141 6705 WASHER SPR 5 4 SW5
84 630 000 7756 BOLT,HEX-SCT 4 M5X12
85 630 052 3010 P.C.B,MOUNT(MEKAHAI) 1 739FB-01U-001
86 411 119 1909 WASHER V 3X7X0.5 4 FW3 F
87 411 086 4408 WASHER SPR 3 4 SW3 F
88 411 162 1604 SCR PAN 3X20 4 M3X20 PAN
89 630 049 8448 COVER 1 739FB-01V-014
90 411 051 2804 SCR TRS 4X8 4 M4X8 TRS
91 630 051 2243 BRACKET 1 739FB-01V-015
92 630 064 0038 UNIT,DRIVER 1 739FB-01D-020
93 411 141 4008 WASHER V 4X9X0.8 4 FW4
94 411 141 2905 WASHER SPR 4 4 SW4
95 630 000 7619 BOLT,HEX-SCT 4 M4X8
96 411 141 4107 WASHER V 5X10X1 4 FW5
97 411 141 6705 WASHER SPR 5 4 SW5
98 630 000 7756 BOLT,HEX-SCT 4 M5X12
101 630 051 2199 BRACKET 1 739L--01B-033
102 411 141 4107 WASHER V 5X10X1 2 FW5
103 411 141 6705 WASHER SPR 5 2 SW5
104 630 000 7756 BOLT,HEX-SCT 2 M5X12
109 411 113 9109 SCR TRS 5X10 11 M5X10 TRS
111 630 060 5662 FILTER,NOISE 1 739FB-01D-135
112 411 119 2104 WASHER V 4X9X0.8 2 FW4 F
113 411 008 1706 WASHER SPR 4 2 SW4 F
114 411 043 5004 SCR PAN 4X8 2 M4X8 PAN
115 630 060 7420 ROD 4 739FB-01V-026
116 630 061 3902 COVER 1 739FB-01V-027
117 411 051 1708 SCR TRS 4X6 4 M4X6 TRS
120 630 058 8569 BRACKET 1 739FB-01V-016
121 630 051 5763 WIRE PARTS 2 739FB-01D-101
122 411 119 2104 WASHER V 4X9X0.8 2 FW4 F
123 411 008 1706 WASHER SPR 4 2 SW4 F
124 411 043 5004 SCR PAN 4X8 2 M4X8 PAN
126 411 036 8609 SCR PAN+SW+W 5X12 11
127 411 141 4107 WASHER V 5X10X1 2 FW5
128 411 141 6705 WASHER SPR 5 2 SW5
129 630 000 7756 BOLT,HEX-SCT 2 M5X12
131 630 051 5763 WIRE PARTS 2 739FB-01D-101
132 411 119 2104 WASHER V 4X9X0.8 2 FW4 F
133 411 008 1706 WASHER SPR 4 2 SW4 F
134 411 043 5004 SCR PAN 4X8 2 M4X8 PAN
136 411 036 8609 SCR PAN+SW+W 5X12 6
140 411 036 8609 SCR PAN+SW+W 5X12 1
Key No.
NOTE

MEMO

MODEL TCM-3700
9912-001
電気制御部 ELECTRICAL SECTION
Fig.11-14 前面コンソール Front Console