P-138-001e - 第233页
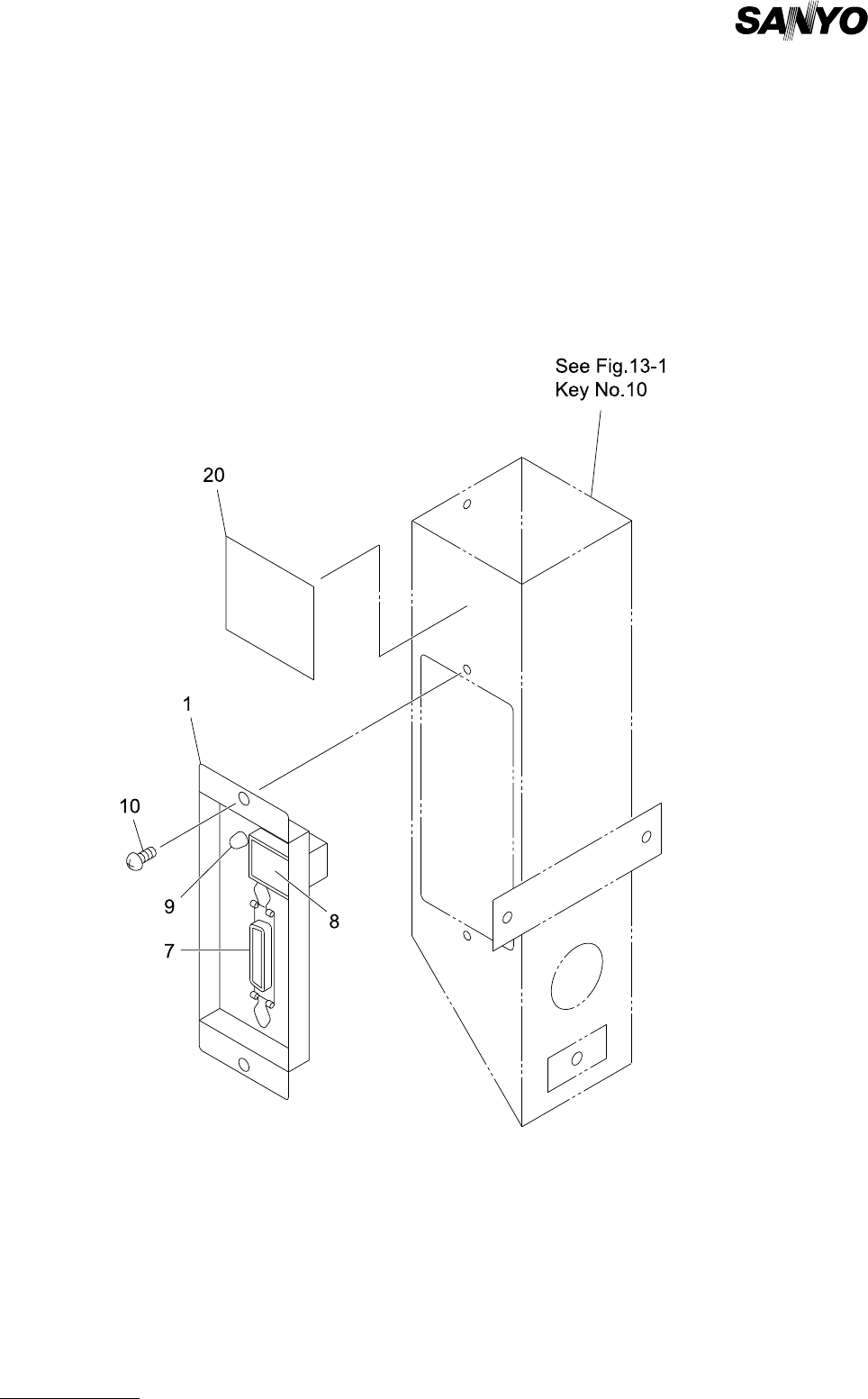
MODEL TCM-3700 9912-001 1 1-15 PART No. PART NAME Q'ty REMARK S 1 630 085 8334 BRACKET 1 739FG-01V -004 7 630 058 9191 COR D 1 739FB-01D-124 8 630 000 2744 SW ITCH,B UTTON 1 739FG-01D -008 9 407 035 4704 LED SLP-7 2…

MODEL TCM-3700
9912-001
電気制御部 ELECTRICAL SECTION
Fig.11-15 後面コンソール Rear Console

MODEL TCM-3700
9912-001
11-15
PART No. PART NAME Q'ty REMARKS
1 630 085 8334 BRACKET 1 739FG-01V-004
7 630 058 9191 CORD 1 739FB-01D-124
8 630 000 2744 SWITCH,BUTTON 1 739FG-01D-008
9 407 035 4704 LED SLP-721F 1 739FG-01D-011
10 411 140 8007 SCR TRS 5X6 2 M5X6 TRS
20 630 060 1619 NAME PLATE,PARTS 1 739FG-01D-013
Key No.
NOTE

MODEL TCM-3700
9912-001
電気制御部 ELECTRICAL SECTION
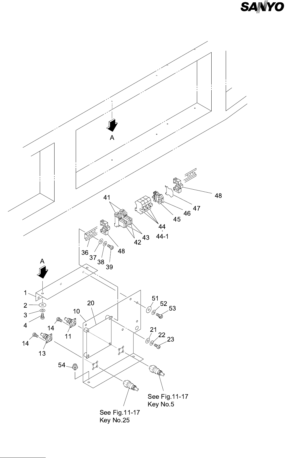
Fig.11-16 前後工程 I / F 1 Previous/Next Work Process Interface-1