P-138-001e - 第247页
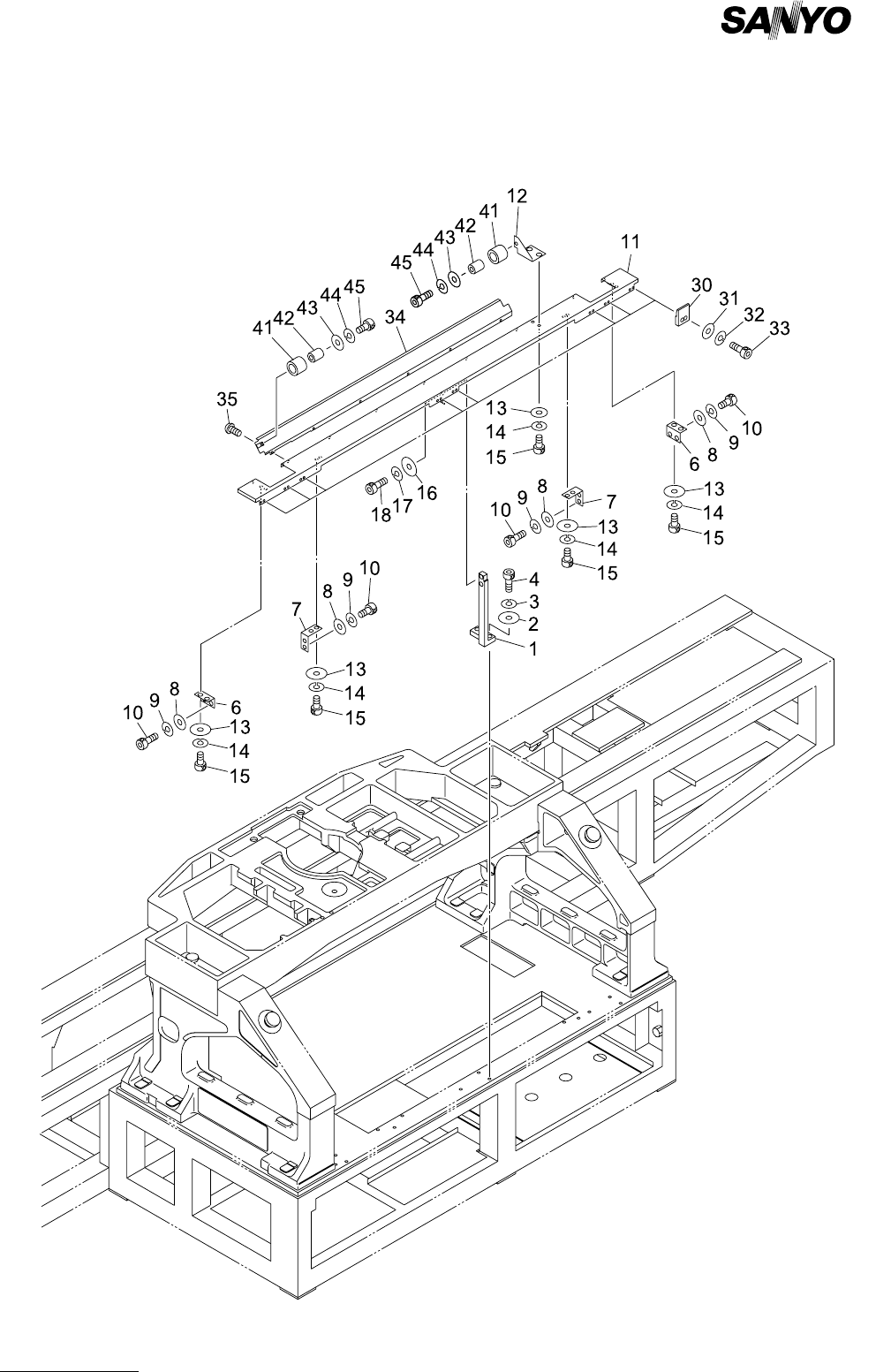
MODEL TCM-3700 9912-001 12- 1 PART No. PART NAME Q'ty REMARK S 1 630 058 2468 BRACKET 1 739R--01B -108 2 630 001 0237 W ASHER 2 BW 6 3 411 141 3001 W ASHER SPR 6 2 SW 6 4 630 000 7916 BOLT ,HEX-SCT 2 M6X 30 6 630 05…

MODEL TCM-3700
9912-001
カバー部 COVER SECTION
Fig.12-1 手すり Handrail

MODEL TCM-3700
9912-001
12- 1
PART No. PART NAME Q'ty REMARKS
1 630 058 2468 BRACKET 1 739R--01B-108
2 630 001 0237 WASHER 2 BW6
3 411 141 3001 WASHER SPR 6 2 SW6
4 630 000 7916 BOLT,HEX-SCT 2 M6X30
6 630 058 8644 BRACKET 2 739R--01B-112
7 630 050 7492 BRACKET 2 739R--01B-113
8 411 141 4107 WASHER V 5X10X1 8 FW5
9 411 141 6705 WASHER SPR 5 8 SW5
10 630 000 7756 BOLT,HEX-SCT 8 M5X12
11 630 085 4435 COVER(BC) 1 739R--01B-110
12 630 084 4566 BRACKET 1 739R--01B-106
13 630 001 0220 WASHER 10 BW5
14 411 141 6705 WASHER SPR 5 10 SW5
15 630 000 7756 BOLT,HEX-SCT 10 M5X12
16 630 001 0220 WASHER 2 BW5
17 411 141 6705 WASHER SPR 5 2 SW5
18 630 000 7756 BOLT,HEX-SCT 2 M5X12
30 630 030 0031 MECH PARTS 8 739R--01H-013
31 411 141 4107 WASHER V 5X10X1 16 FW5
32 411 141 6705 WASHER SPR 5 16 SW5
33 630 000 7763 BOLT,HEX-SCT 16 M5X16
34 630 084 4573 COVER 1 739R--01B-107
35 411 113 9109 SCR TRS 5X10 6 M5X10 TRS
41 630 028 9909 MECH PARTS(URETHANES) 2 739R--01H-004
42 630 038 9698 COLLAR 2 739R--01B-105
43 411 141 4305 WASHER V 6X12.5X1.6 2 FW6
44 411 141 3001 WASHER SPR 6 2 SW6
45 630 000 7916 BOLT,HEX-SCT 2 M6X30
Key No.
NOTE

MODEL TCM-3700
9912-001
カバー部 COVER SECTION
Fig.12-2 本体カバー Body Cover