P-138-001e - 第39页
MEMO

MODEL TCM-3700
9912-001
3- 5
PART No. PART NAME Q'ty REMARKS
41 411 141 2905 WASHER SPR 4 2 SW4
42 630 000 7626 BOLT,HEX-SCT 2 M4X10
Key No.
NOTE

MEMO

MODEL TCM-3700
9912-001
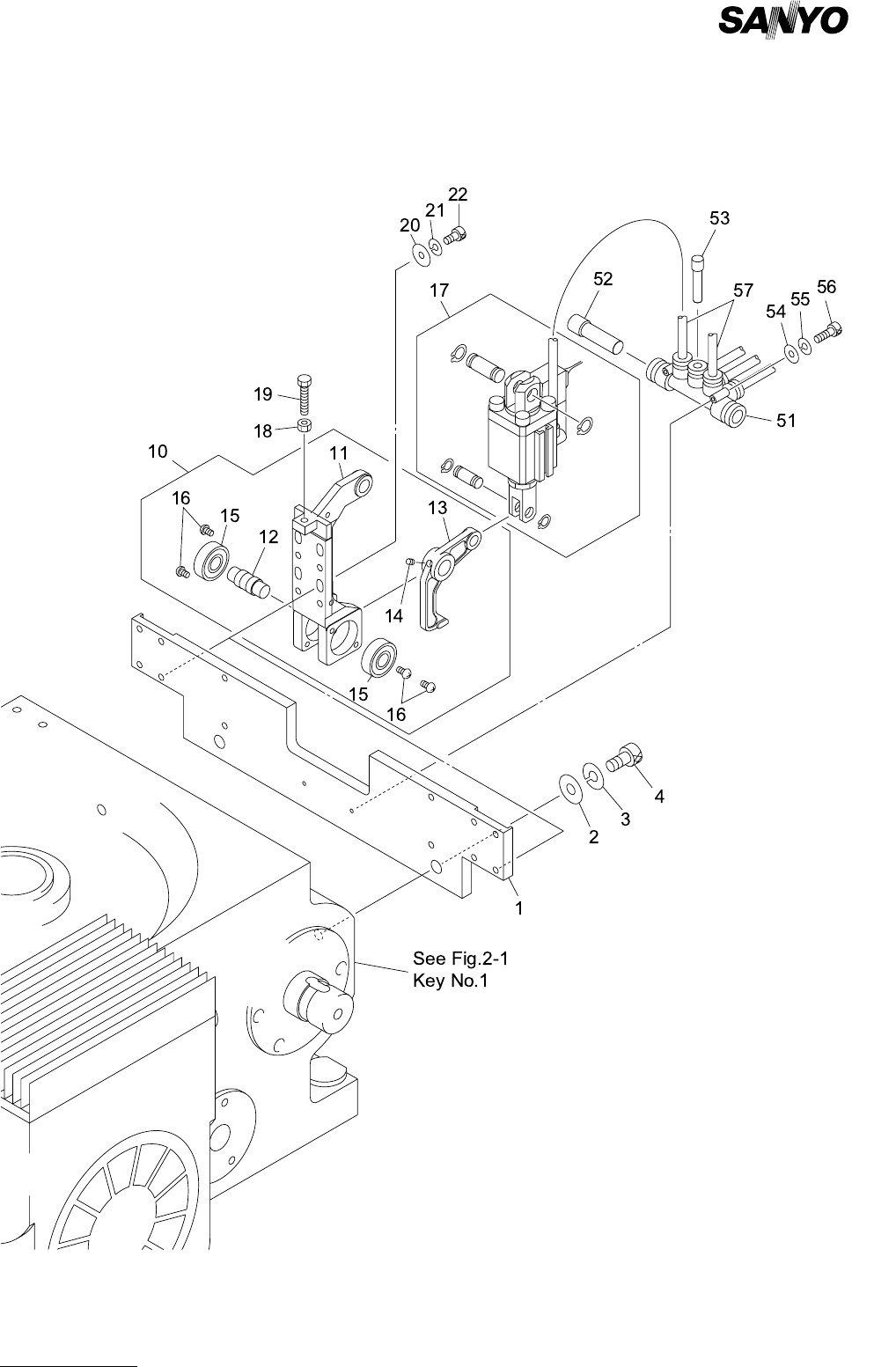
ヘッド駆動部 HEAD DRIVING SECTION
Fig. 3-6 カム軸- 1 ストッパ Cam Shaft-1 Stopper