P-138-001e - 第51页
MEMO

MODEL TCM-3700
9912-001
3-10
PART No. PART NAME Q'ty REMARKS
33 630 001 1081 ROD END 1 739K--01H-023 739K--01H-023
33 630 052 7209 ROD END 1
34 411 141 0901 NUT HEX 8 1 M8 M8
35 630 052 1528 ROD 1 739K--01B-018 739K--01B-018
36 630 048 7084 ROD (TF) 1 739K--01B-016 739K--01B-016
37 630 000 9743 NUT,HEX 2 M6-L M6-L
38 630 001 1067 ROD END 1 739K--01H-026 739K--01H-026
38 630 052 7186 ROD END 1
39 411 141 0703 NUT HEX 6 1 M6 M6
40 630 048 7114 ROD 1 739K--01B-019 739K--01B-019
41 411 141 0703 NUT HEX 6 1 M6 M6
42 630 056 1807 ROD(NF) 1 739K--01B-015 739K--01B-015
43 630 000 9743 NUT,HEX 1 M6-L M6-L
44 630 001 1067 ROD END 1 739K--01H-026 739K--01H-026
44 630 052 7186 ROD END 1
Key No.
NOTE

MEMO

MODEL TCM-3700
9912-001
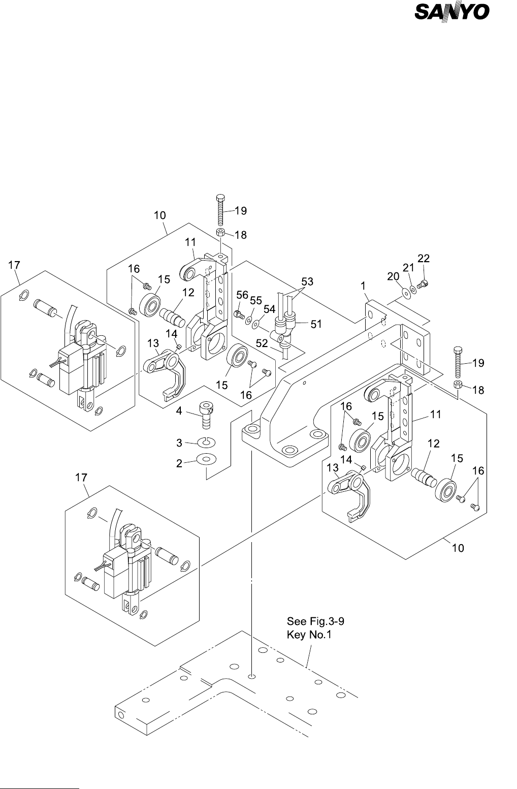
ヘッド駆動部 HEAD DRIVING SECTION
Fig. 3-11 カム軸- 2 ストッパ Cam Shaft-2 Stopper