P-138-001e - 第91页
MEMO

MODEL TCM-3700
9912-001
4- 5
PART No. PART NAME Q'ty REMARKS
54 411 119 2104 WASHER V 4X9X0.8 4 FW4 F
55 411 008 1706 WASHER SPR 4 4 SW4 F
56 411 042 3001 SCR PAN 4X10 4 M4X10 PAN
Key No.
NOTE

MEMO

MODEL TCM-3700
9912-001
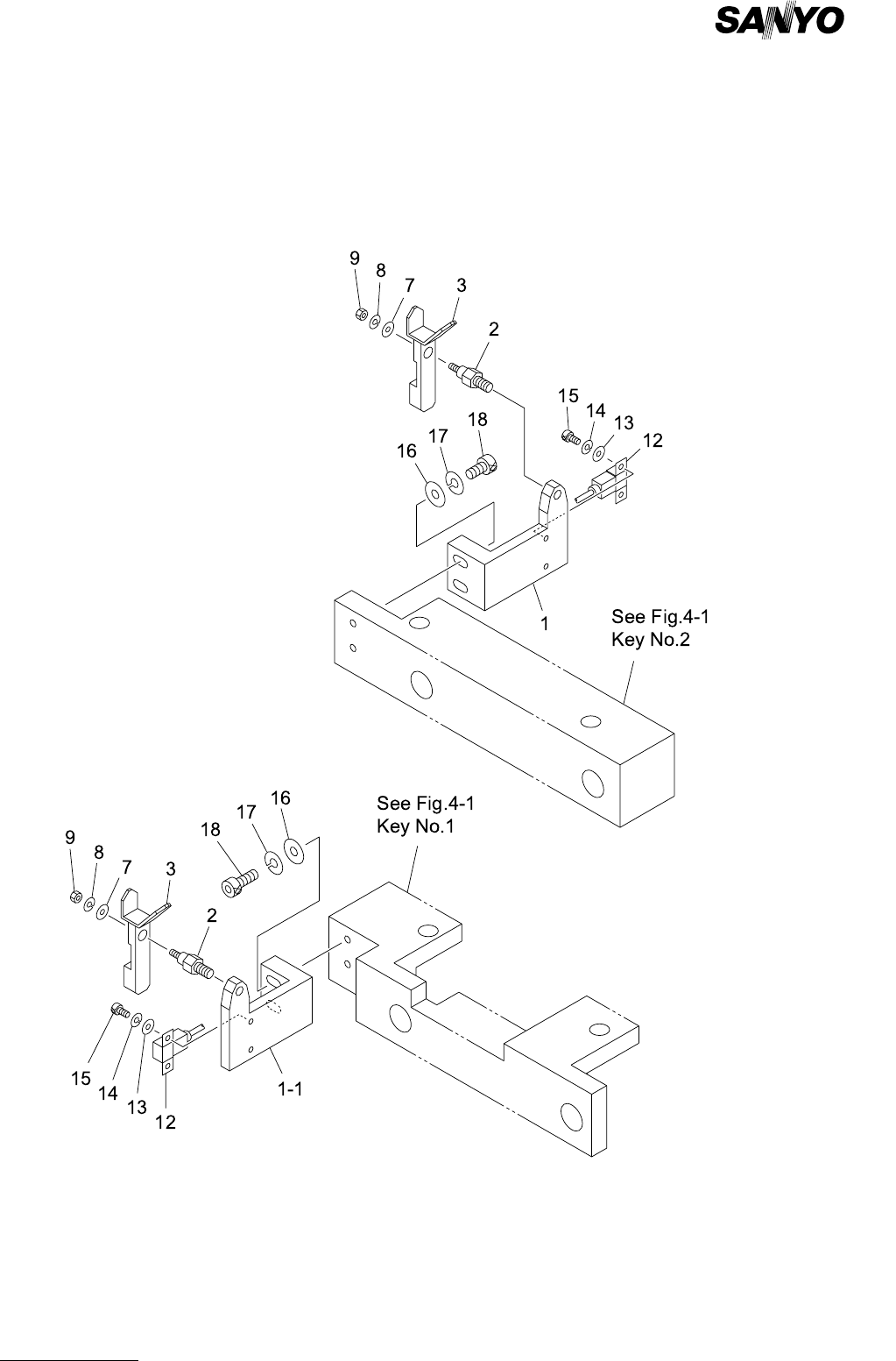
中間ベース部 MIDDLE BASE SECTION
Fig. 4-6 カセットフック外れ検出部 Disengaged Feeder Hook Detector