KE-3010_20V_使用说明书 - 第1064页
第2部 功能 详解编 第1 3章 选项 组件 13-33 6) 把各电缆及气管插到主机右侧的接口板上的「 MTS 用电源插口」 、 「接口插口」 、 「 MTS 用 6 管 取出口」上。 ① MTS 用电源插口 ② MTS 用接口插口 ③ MTS 用 6 管取出口 7) 接通装置的电源,进行机器设置「使用单元」及「 MTS 组装位置偏移」设置。 ① ② ③ TR5SNX/5DNX TR7DN ④ ① ② ③ ①MTS用电源插口 …

第2部 功能详解编 第13章 选项组件
13-32
13-7 矩阵、托盘服务器(MTS)的设置方法
有关使用方法、设置方法的详情,请参见 MTS 附带的『使用说明书』。
为了防止意外启动引起事故,请切断电源后再进行操作。
13-7-1 安装方法
1) 把主机的后侧台架降下。
2) 调整 MTS 的可调节底座(超级底座)①,使主机的台架支撑基准面与 MTS 的连接块上面③同
高度,使之水平。
3) 请仅旋转 MTS 前侧的可调节底座,调节到使接块(joint block)上面③与导辊上端高度一致(约
±3mm 左右)。
4) 从主机后侧,在安全盖关闭状态下,将装置慢慢地安装到主机内。
5) 确认插到了底,再升高台架。
注意
贴片机
导辊上端
接块(joint block)上面 ③
机械阀门
台架开关
请调整,使得接块(joint block)上面的这
部分与导辊上端高度一致(约±3mm 左右)。
②
①

第2部 功能详解编 第13章 选项组件
13-33
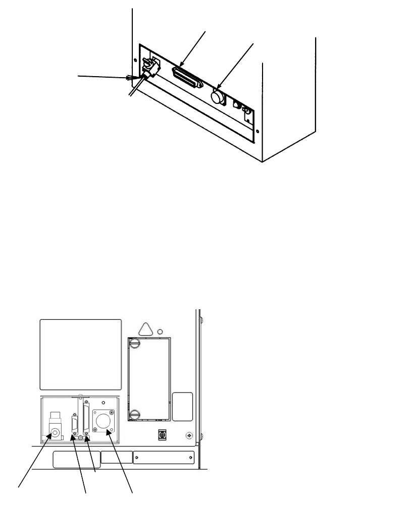
6) 把各电缆及气管插到主机右侧的接口板上的「MTS 用电源插口」、「接口插口」、「MTS 用
6管
取出口」上。
① MTS 用电源插口
② MTS 用接口插口
③ MTS 用
6 管取出口
7) 接通装置的电源,进行机器设置「使用单元」及「MTS 组装位置偏移」设置。
①
②
③
TR5SNX/5DNX
TR7DN
④
①
②
③
①MTS用电源插口
②MTS用接口插口
(KE-3010/20V/20VR时)
③MTS用接口插口
(KE-2070/80/80R时)
④MTS 用
6 管取出口

第2部 功能详解编 第13章 选项组件
13-34
13-8 供料器位置指示器(FPI)
FPI位于供料器台的号码标签(表示供料器类安装位置的号码标签)的前方,号码标签的位置编号上有
一对一的LED,通过LED的亮灯和闪烁,可直观地告知供料器的安装位置和元件供应情况。
FPI的功能列表如下。
机器状态 LED 状态 功能
准备更换时
闪烁 显示用生产程序指定的供料器安装位置(定位销插入孔)(编号)。
亮灯 显示要安装的供料器在供料器台上所占的范围。
基板生产时 闪烁
任意供料器的剩余元件数低于生产程序设置的元件数警告级别
(为了得知元件剩余数不多而设置的数值)时,相应的供料器安装
位置的 LED 将闪烁,告知供料器的元件剩余数已少。
元件用完时 亮灯
在生产基板时,供料器上出现生产程序设置的元件数初始值剩余数
为 0 时,该供料器安装位置上的 LED 将亮灯,告知该供料器元件
已用完。
手动控制时
供料器送料针
ON:亮灯
OFF:熄灯
用手动控制模式控制供料器送料针进行带子的传送动作、或单纯
的顶推动作时,使控制位置上各供料器定位销的 LED 与供料器送
料针的动作连动而相应地闪烁,以显示正在控制哪一位置的送料
针。
要准确地反映元件的剩余数和元件用尽,在设置切换基板生产的元件数据时,必须准确地输入与
供给供料器元件的相等数量、或与此相当的数量,否则将不能正确显示。
注意: