KE-3010_20V_使用说明书 - 第484页
第 1 部 基本编 第 4 章 制作生产程序 (2) 贴片偏移量 XY θ 激光定心方式, 是通过激光观察 到的元件外形 来捕捉元件的中 心。 另一方面, CAD 数据等是以元 件的实际贴片 图形 ( 称为垫片, PAD) 的中心为 贴片坐标。 由于存在这种关 系,元件的引脚 部分与基板的 垫片可能发生位 置偏差。 把该差值作为贴 片偏差输入后, 可将元件贴到 正确的位置。 (例 1 ) 单向引脚连接器 ※ 贴片角度为 0 度 激光定心…

第 1 部 基本编 第 4 章 制作生产程序
4-3-5-2-5 贴片条件
贴片条件是关于贴片的设置项目,由于应用默认值,通常无需变更。如果在默认值的状态下不能正常
贴片时,请变更设置。
注意
如果在变更贴片条件后变更了基本部分的项目,贴片条件的
值有可能恢复为默认值。
(1)
贴片深度补偿
设置贴片时元件按入基板表面的深度的尺寸。
控制方式,要指定使用行程或是负荷进行控制。
当设置为“0”时,因基板平面度不一,有时元件尚未接触基板即被贴装而造成贴片偏移,
或贴片时元件在乳状焊料上发生滑动等情况。
出现这种情况时,请增加元件到达基板前的深度补偿量(输入正值)。
初始值为“0.5mm”(0603、0402 芯片元件为 0.2mm)。
「控制负荷」按钮,在使用 601 以后的可简易负荷控制的吸嘴时,会变为有效。
详情请参见「第 13 章 选项元件」的「13-13 简易负荷控制」。
4-78

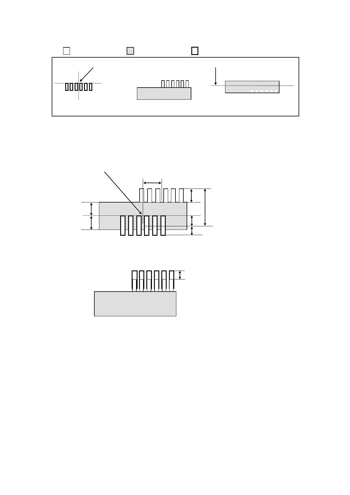
第 1 部 基本编 第 4 章 制作生产程序
(2)
贴片偏移量
XYθ
激光定心方式,是通过激光观察到的元件外形来捕捉元件的中心。
另一方面,CAD数据等是以元件的实际贴片图形(称为垫片,PAD)的中心为贴片坐标。
由于存在这种关系,元件的引脚部分与基板的垫片可能发生位置偏差。
把该差值作为贴片偏差输入后,可将元件贴到正确的位置。
(例1) 单向引脚连接器
※贴片角度为0度
激光定心的中心 贴片坐标点
从上面看元件时 基板上的垫片(焊盘)
如果不输入贴片偏移量而进行贴片,则会出现下述情况。
基板上的垫片
在上图的状态下(贴片角度0度,贴片偏移0),测量以贴片坐标点为起点到实际元件贴片坐标点位
置的尺寸,输入到贴片偏移值中。
执行上述步骤,输入贴片偏移值后,在贴装多个同名元件时,即使各贴片角度不是0度,也会自
动变更贴片位置,使元件被贴在正确的位置上。
贴片偏
移 -Y(X 为 0)
4-79

第 1 部 基本编 第 4 章 制作生产程序
(例2) 以下面的元件为例,输入偏移值。数值的单位为“mm(毫米)”。
( (无色) => 引脚部、 (带颜色) => 模部、 (粗线) => 垫片)
贴片坐标点 激光高度
基板上的垫片 从上面看元件时 从横向(近前方向)看元件时
因贴片坐标点和激光定心的中心位置不同,如就此贴片会发生贴片偏移。因此,请将贴片坐标点
和激光定心的中心位置的
偏移部分作为偏移值输入到
“
贴片偏移值
”
中
。
无偏移值贴片时的情况如下:
激光定心的中心位置
在此例中,应输入其偏移值,以使引脚的尖端位于垫片的中央位置。
在“贴片偏移”栏中输入“X=-5.5、Y=-10”后,则按如下方法贴片。
5.5
3
10
2
2
5
5
2
4-80