Mechanical Parts List - 第29页
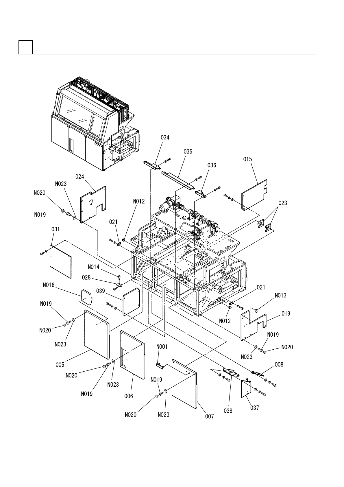
PART No. イラスト No. REF No. PART NAME REMARKS Q'TY 3 カバー部(共通部1) COVER SECT.(CO MMON SEC T.-1) 部 品 名 品 番 個数 備 考 R 1 R 2 1 N610070383AA COVER UNIT カバー ユニット 1 005 N210071800AA DOOR(L) ドア(L) 1 006 N210071802AB DOOR ドア…

カバー部(共通部1)
COVER SECT.(COMMON SECT.-1)
3
FN610070383AA_04-1
M11

PART No.
イラスト
No.
REF
No.
PART NAME
REMARKS
Q'TY
3
カバー部(共通部1)
COVER SECT.(COMMON SECT.-1)
部 品 名 品 番 個数 備 考
R
1
R
2
1 N610070383AA
COVER UNIT カバー ユニット
1
005 N210071800AA
DOOR(L) ドア(L)
1
006 N210071802AB
DOOR ドア
1007 N210078237AB
DOOR(R) ドア(R)
1008 N210070010AB
BRACKET ブラケット
1
015 N210071790AA
PLATE プレート
1
019 N210072747AB
COVER カバー
4021 1083802081
PLATE プレート
2023 N210071791AA
BRACKET ブラケット
1
024 N210072746AC
COVER カバー
6028 N210071794AB
BRACKET ブラケット
1031 N210078190AA
COVER カバー
1
034 N210105199AA
COVER カバー
1
035 N210105116AA
COVER カバー
1036 N210105117AA
COVER カバー
1037 N210094702AA
BRACKET ブラケット
1
038 N210094703AA
BRACKET ブラケット
1
039 N210095052AA
PLATE プレート
P-18(screw) S
1
N001
KXF0DXPLA00
NAME PLATE メイバン
C-30-SG-24A,WHITE
2
N012
N980C30S-065
GROMMET グロメット
C-30-SG-36A,WHITE
1
N013
N980C30S-010
GROMMET グロメット
C-30-RK-12
6
N014
KXF01E6AA00
RUBBER LEG ゴムアシ
500W
1
N016
N986YYYY-B55
POCKET ポケット
JB-A M5X8 +
28
N019
N510038044AA
BOLT ボルト
M5X12
28
N020
N986YYYY-814
CAP キャップ
5 External toothed Ste
25
N023
N510018765AA
TOOTHED LOCK WASHER ハツキザガネ
M12
FN610070383AA_04-1

カバー部(共通部2)
COVER SECT.(COMMON SECT.-2)
3
FN610070383AA_04-2
M13