Mechanical Parts List - 第139页
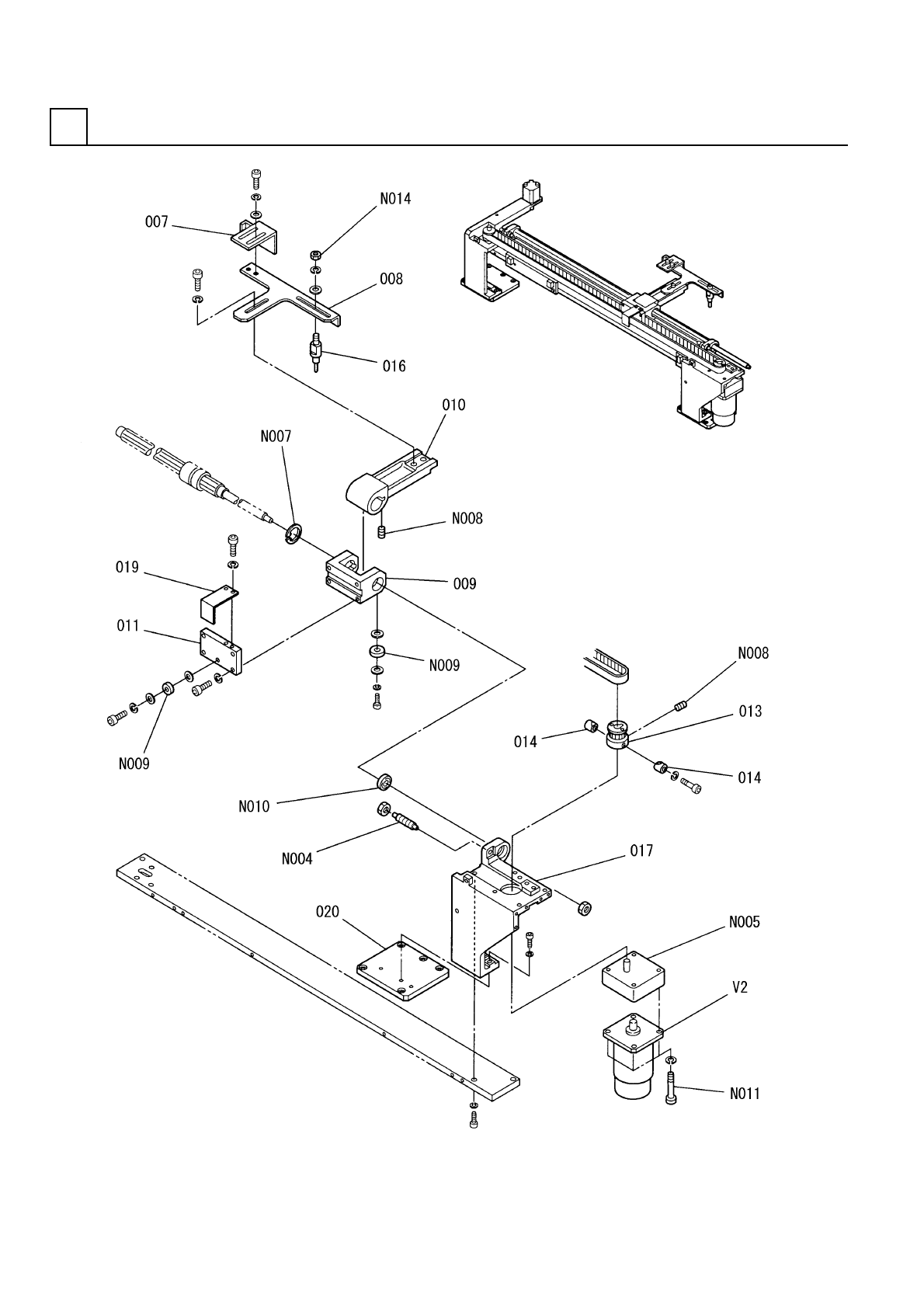
PART No. イラスト No. REF No. PART NAME REMARKS Q'TY 14 プリント基板搬送部(1) P.C.B. TRANSFE R SECT.( 1) 部 品 名 品 番 個数 備 考 R 1 R 2 1 N610060945AA P.C. BOARD TR ANSFER UNIT プリントキバンハンソウユニット 1 001 1022406534 PULLEY(TIMING ) プーリー…

プリント基板搬送部(1)
P.C.B. TRANSFER SECT.(1)
14
FN610060945AA_01-1
M121

PART No.
イラスト
No.
REF
No.
PART NAME
REMARKS
Q'TY
14
プリント基板搬送部(1)
P.C.B. TRANSFER SECT.(1)
部 品 名 品 番 個数 備 考
R
1
R
2
1 N610060945AA
P.C. BOARD TRANSFER UNIT プリントキバンハンソウユニット
1
001 1022406534
PULLEY(TIMING) プーリー(タイミング)
1
002 104140600201
PIN ピン
1003 N210072140AA
SHAFT シャフト
1004 104140600401
COLLAR カラー
1
005 104140602501
PLATE プレート
1
012 1046906012
PLATE プレート
1015 N210081327AA
BRACKET ブラケット
1018 N210080167AA
PLATE プレート
1
020 N210066239AA
SPACER スペーサ
CDQ2B20-20DC-A73
1
N001
N401CDQ2-418
CYLINDER シリンダ
FUN-008-SS
1
N002
N510022896AA
NUT ナット
698ZZ
2
N003
XLC698ZZ
BALL BEARING ボールベアリング
RB0806
1
N004
KXF08N7AA00
SHOCK-ABSORBER ショックアブソーバー
P914S1
3
N006
N310P914S1
SENSOR センサ
6902ZZ
1
N010
XLC6902ZZ
BALL BEARING ボールベアリング
M5X60-10.9 A2J (Trival
1
N011
N510017413AA
HEX. SOCKET HEAD CAP BOLT ロッカクアナツキボルト
M5X20-45H A2J (Trivale
1
N013
N510022987AA
HEX. SOCKET SET SCREW ロッカクアナツキトメネジ
M5-6H-4T A2J (Trivalen
1
N014
N510017862AA
HEXAGON NUT ロッカクナット
KQ2H06-M5
2
N015
KXF0A3QAA00
FITTING ツギテ
R4X0.5
2
N016
KXF089MAA00
RING リング
2350-EV5GT-15
1
N017
N510027678AA
BELT ベルト
D-A73
1V 1 N401DA73
SENSOR センサ
M122
FN610060945AA_01-1

プリント基板搬送部(2)
P.C.B. TRANSFER SECT.(2)
14
FN610060945AA_01-2
M123