Mechanical Parts List - 第152页
部品供給 部(テープフィーダ駆動部1) FEEDER CARRIAG E SECT.( TAPE FEED ER DRIVIN G SECT.-1) 17 FN610074185AA_03-1 M135

PART No.
イラスト
No.
REF
No.
PART NAME
REMARKS
Q'TY
16
天板部(部品終端検出部)
UPPER PLATE SECT.(PARTS DETECT SECT.)
部 品 名 品 番 個数 備 考
R
1
R
2
1 N610071779AA
UPPER PLATE UNIT テンバンユニット
40
A001
N610071898AA
SENSOR UNIT センサユニット
16
001 X01A33015
LEVER(LEFT) レバー(LEFT)
40002 X01A33018
LEVER レバー(ケンシュツ)
40003 X01A33017
SPRING バネ
24
004 X01A33014
LEVER(RIGHT) レバー(RIGHT)
M3-6H-4T A2J (Trivalen
40
N001
N510017849AA
HEXAGON NUT ロッカクナット
3X14,STEEL
40
N002
XPL3A14WFW
SPRING PIN スプリングピン
M2X8-10.9 A2J (Trivale
40
N501
N510017261AA
HEX. SOCKET HEAD CAP BOLT ロッカクアナツキボルト
M3X6-10.9 A2J (Trivale
40
N502
N510017337AA
HEX. SOCKET HEAD CAP BOLT ロッカクアナツキボルト
M3X10-10.9 A2J (Trival
40
N503
N510017305AA
HEX. SOCKET HEAD CAP BOLT ロッカクアナツキボルト
2 10H A2J (Trivalent)
40
N504
N510018477AA
ROUND PLAIN WASHER コガカマルヒラザガネ
No.2 2 S A2J (Trivalen
40
N505
N510018324AA
SPRING WASHER バネザガネ
3 10H A2J (Trivalent)
40
N506
N510018494AA
ROUND PLAIN WASHER ミガキマルヒラザガネ
M134
FN610071779AA_00

部品供給部(テープフィーダ駆動部1)
FEEDER CARRIAGE SECT.(TAPE FEEDER DRIVING SECT.-1)
17
FN610074185AA_03-1
M135

PART No.
イラスト
No.
REF
No.
PART NAME
REMARKS
Q'TY
17
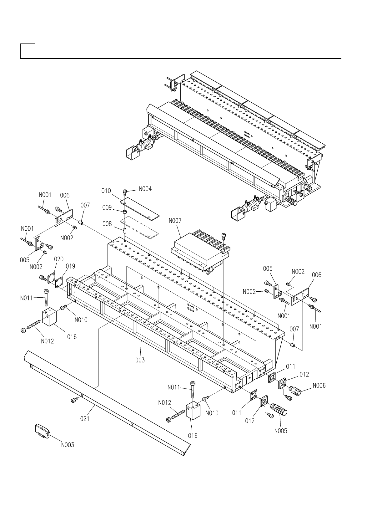
部品供給部(テープフィーダ駆動部1)
FEEDER CARRIAGE SECT.(TAPE FEEDER DRIVING SECT.-1)
部 品 名 品 番 個数 備 考
R
1
R
2
1 N610074185AA
FEEDER CARRIAGE UNIT ブヒンキョウキュウユニット
1
003 N210098162AA
FRAME フレーム
2
005 X01A3101701
PLATE プレート
2006 X01A3102701
BRACKET ブラケット
4007 X02P07007
SPACER スペーサ
10
008 X01A31033
COLLAR カラー
10
009 X01A31035
COLLAR カラー
5010 X01A3103401
COVER カバー
2011 X02P07011
PACKING パッキン
2
012 X02P07012
PLATE プレート
2016 X02P0701601
BLOCK ブロック
2019 X02P07019
PACKING パッキン
2
020 X02P07020
PLATE プレート
1
021 N210069750AA
CHUTE シュート
E32-TC200
3
N001
N310E32TC200
SENSOR センサ
E39-F1
3
N002
N310E39F1
LENS UNIT レンズユニット
E3X-NT11
3
N003
N310E3XNT11
AMPLIFIER FOR SENSOR アンプユニット
M3X35-4.8 A2J (Trivale
10
N004
N510018048AA
PAN HEAD SCREW ナベコネジ
AN303-03
1
N005
KXF00WGAA00
SILENCER サイレンサ
KQ2H10-03S
1
N006
KXF0E34XA00
FITTING ツギテ
AXTCV16-37-8
5
N007
N401AXTC-H09
CYLINDER シリンダ
SPM-M5
2
N010
N510038036AA
STOPPER ストッパ
M8X60-10.9 A2J (Trival
4
N011
N510017485AA
HEX. SOCKET HEAD CAP BOLT ロッカクアナツキボルト
87ANBN8-60
2
N012
N510032612AA
SCREW スクリュー
M136
FN610074185AA_03-1