Mechanical Parts List - 第171页
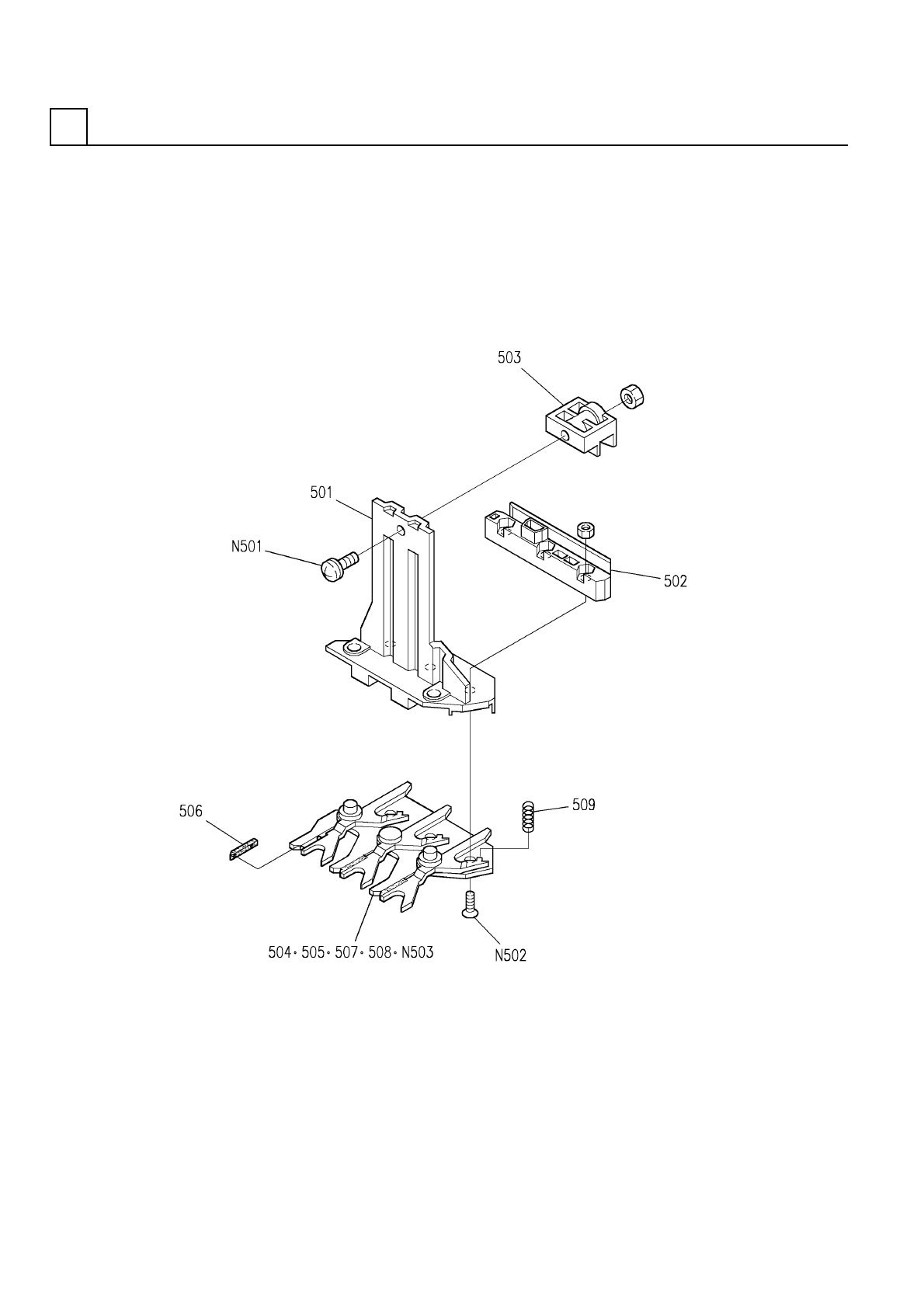
PART No. イラスト No. REF No. PART NAME REMARKS Q'TY 19 部品搬送 部(パレット部) WORK TRANSFER SECT.(PA LLET SECT .) 部 品 名 品 番 個数 備 考 R 1 R 2 1 X02P51500 P.C.B. TRANSF ER UNIT ハンソウユニット 1 501 X01A3700102 PALLET パレット 1 502 X01A370…

部品搬送部(パレット部)
WORK TRANSFER SECT.(PALLET SECT.)
19
FX02P51500_A
M153

PART No.
イラスト
No.
REF
No.
PART NAME
REMARKS
Q'TY
19
部品搬送部(パレット部)
WORK TRANSFER SECT.(PALLET SECT.)
部 品 名 品 番 個数 備 考
R
1
R
2
1 X02P51500
P.C.B. TRANSFER UNIT ハンソウユニット
1
501 X01A3700102
PALLET パレット
1
502 X01A3700201
BLOCK(A) ブロック(A)
1503 X01A37003
BLOCK(B) ブロック(B)
1504 X01A3700601
CHUCK チャック
3
505 X02P5150501
CHUCK チャック
3
506 X02P51506
RUBBER ラバー
2507 X01A37010
PIN(A) ピン(A)
1508 X01A37011
PIN(B) ピン(B)
3
509 X02P51509
SPRING スプリング
M4X25-4.8 A2J (Trivale
1
N501
N510018268AA
TRUSS HEAD SCREW トラスコネジ
M3X16-4.8 A2J (Trivale
3
N502
N510018147AA
FLUSH HEAD SCREW サラコネジ
1X4,STEEL
6
N503
XPL1A4WFW
SPRING PIN スプリングピン
M154
FX02P51500_A

部品搬送部(アイドラープーリー部)
PARTS TRANSFER SECT.(IDLER PULLEY SECT.)
19
FN610074165AA_01
M155