Mechanical Parts List - 第191页
PART No. イラスト No. REF No. PART NAME REMARKS Q'TY 21 部品ガ イト ゙マウン ト 部(左 右共通取付部) PARTS GUIDE MO UNT SECT .(LEFT & RIGHT COM MON ATTACH MENT SECT .) 部 品 名 品 番 個数 備 考 R 1 R 2 1 N610082519AA PARTS GUIDE M OUNT UNIT フ…

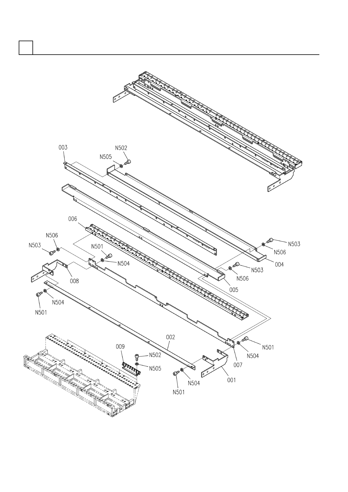
部品ガイドマウント部(左右共通取付部)
PARTS GUIDE MOUNT SECT.(LEFT & RIGHT COMMON ATTACHMENT SECT.)
21
FN610082519AA_00
M173

PART No.
イラスト
No.
REF
No.
PART NAME
REMARKS
Q'TY
21
部品ガイドマウント部(左右共通取付部)
PARTS GUIDE MOUNT SECT.(LEFT & RIGHT COMMON ATTACHMENT SECT.)
部 品 名 品 番 個数 備 考
R
1
R
2
1 N610082519AA
PARTS GUIDE MOUNT UNIT ブヒンガイドマウントユニット
1
001 N210088870AB
BRACKET ブラケット
1
002 N210088871AB
BRACKET ブラケット
2003 N210088873AA
NUT PLATE ナットプレート
M6-6H-4T A2J (Trivalen
4
N001
N510017867AA
HEXAGON NUT ロッカクナット
M6X20-10.9 A2J (Trival
12
N501
N510017435AA
HEX. SOCKET HEAD CAP BOLT ロッカクアナツキボルト
M6X16-10.9 A2J (Trival
6
N502
N510017433AA
HEX. SOCKET HEAD CAP BOLT ロッカクアナツキボルト
M6
8
N503
N510020101AA
WASHER ザガネ
6 10H A2J (Trivalent)
6
N504
N510018501AA
ROUND PLAIN WASHER ミガキマルヒラザガネ
M174
FN610082519AA_00

部品ガイドマウント部(左右共通)
PARTS GUIDE MOUNT SECT.(LEFT & RIGHT COMMON)
21
FN610071314AA_01
M175