Mechanical Parts List - 第206页
コンソールパネル部 CONSOLE PANEL SECT. 23 FN610060940AA_04 M189

PART No.
イラスト
No.
REF
No.
PART NAME
REMARKS
Q'TY
22
表示ラベル部
INDICATION LABEL SECT.
部 品 名 品 番 個数 備 考
R
1
R
2
1 N610085079AA
INDICATION LABEL UNIT ヒョウジラベルユニット
1
001 N210103748AA
LABEL ラベル
M188
FN610085079AA_00

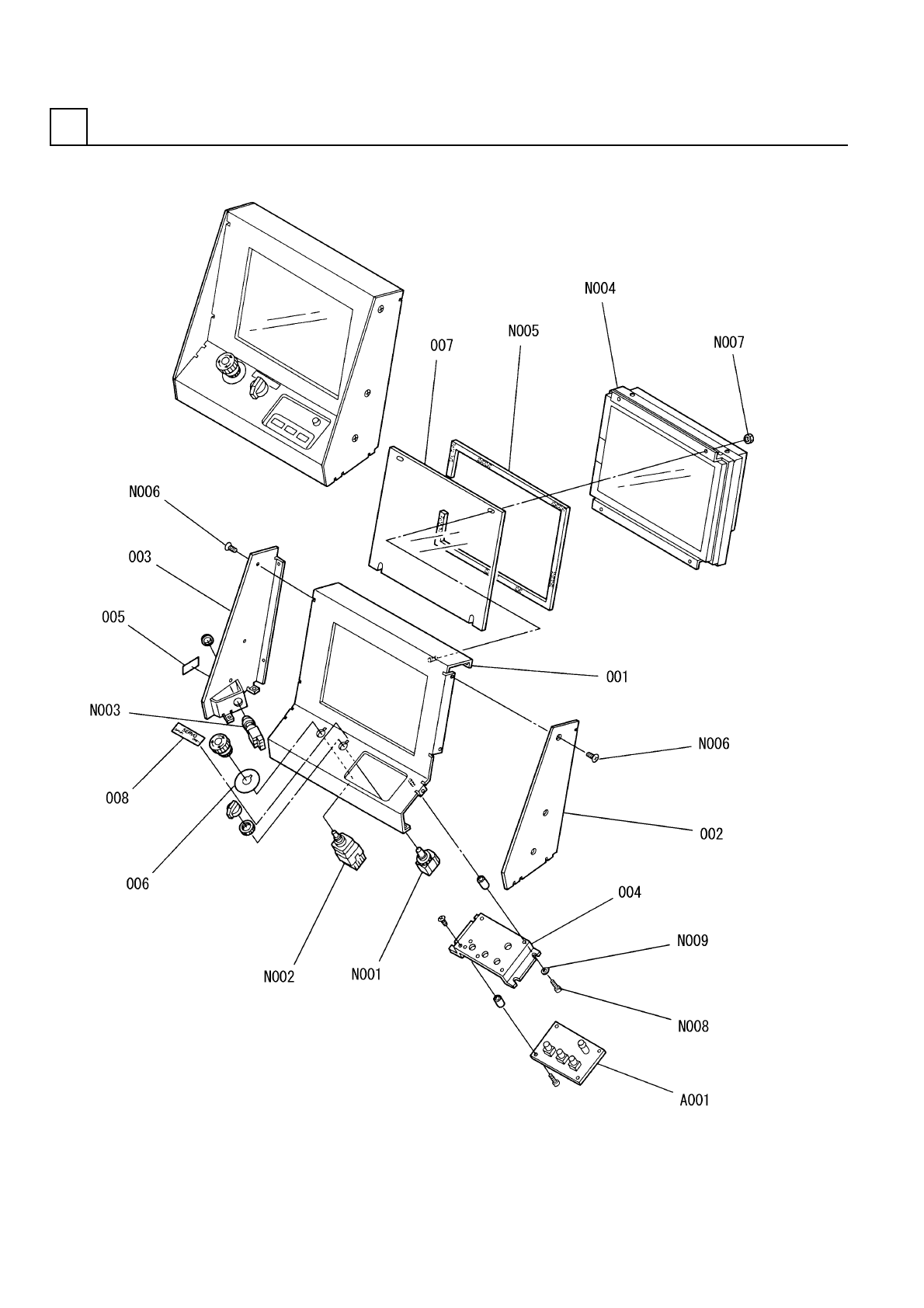
コンソールパネル部
CONSOLE PANEL SECT.
23
FN610060940AA_04
M189

PART No.
イラスト
No.
REF
No.
PART NAME
REMARKS
Q'TY
23
コンソールパネル部
CONSOLE PANEL SECT.
部 品 名 品 番 個数 備 考
R
1
R
2
1 N610060940AA
PANEL ATTACHMENT UNIT パネルトリツケユニット
1
001 N210070033AA
PANEL パネル
1
002 N210070034AA
PLATE プレート
1003 N210070035AA
PLATE プレート
1004 N210070036AA
BRACKET ブラケット
1
005 1044059662
LABEL ラベル
1
006 3086239031
LABEL ラベル
S
1007 N210079690AA
PLATE プレート
1008 N210082945AA
LABEL ラベル
PNF0AK-AA S
1
A001
N610059071AA
BOARD キバン
AR22PR-220B S
1
N001
KXFP5GEAA00
SWITCH スイッチ
XW1E-BV402MFR-TK2377 S
1
N002
N510011524AA
SWITCH スイッチ
LW6MB-M1C2MLG S
1
N003
N510029028AA
SWITCH スイッチ
UF6611-2-DV1-12V S
1
N004
N510014015AA
TOUCH PANEL タッチパネル
E02S100040ET
1
N005
N510011709AA
GASKET ガスケット
M4X8-4.8 A2J (Trivalen
16
N006
N510018180AA
FLUSH HEAD SCREW サラコネジ
M4-6H-4T A2J (Trivalen
4
N007
N510017855AA
HEXAGON NUT ロッカクナット
M4X8-10.9 A2J (Trivale
4
N008
N510017381AA
HEX. SOCKET HEAD CAP BOLT ロッカクアナツキボルト
4 10H A2J (Trivalent)
4
N009
N510018497AA
ROUND PLAIN WASHER ミガキマルヒラザガネ
M190
FN610060940AA_04