Mechanical Parts List - 第27页
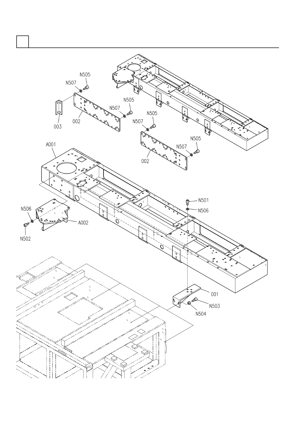
PART No. イラスト No. REF No. PART NAME REMARKS Q'TY 2 Z軸フレーム部 Z-AXIS FRAME S ECT. 部 品 名 品 番 個数 備 考 R 1 R 2 1 N610074430AB Z-AXIS FRAME UNIT Z ジクフレームユニット 1 A001 N610074406AB FRAME フレーム 1 A002 N610074422AA BRACKET ブラケッ…

Z軸フレーム部
Z-AXIS FRAME SECT.
2
FN610074430AB_03
M9

PART No.
イラスト
No.
REF
No.
PART NAME
REMARKS
Q'TY
2
Z軸フレーム部
Z-AXIS FRAME SECT.
部 品 名 品 番 個数 備 考
R
1
R
2
1 N610074430AB
Z-AXIS FRAME UNIT Z ジクフレームユニット
1
A001
N610074406AB
FRAME フレーム
1
A002
N610074422AA
BRACKET ブラケット
4001 N210091919AA
BRACKET ブラケット
2002 N210091990AA
PLATE プレート
1
003 N210090916AA
BRACKET ブラケット
M10X30-10.9 A2J (Triva
8
N501
N510017167AA
HEX. SOCKET HEAD CAP BOLT ロッカクアナツキボルト
M10X35-10.9 A2J (Triva
4
N502
N510017169AA
HEX. SOCKET HEAD CAP BOLT ロッカクアナツキボルト
M10X45-10.9 A2J (Triva
8
N503
N510017172AA
HEX. SOCKET HEAD CAP BOLT ロッカクアナツキボルト
M10-6H-4T A2J (Trivale
8
N504
N510017887AA
HEXAGON NUT ロッカクナット
M6X15,STEEL,Z.C.T
18
N505
N510017432AA
HEX. SOCKET HEAD CAP BOLT ロッカクアナツキボルト
M10
12
N506
N510020103AA
WASHER ザガネ
M6
18
N507
N510020101AA
WASHER ザガネ
M10
FN610074430AB_03

カバー部(共通部1)
COVER SECT.(COMMON SECT.-1)
3
FN610070383AA_04-1
M11