Mechanical Parts List - 第30页
カバー部(共通部2) COVER SECT.(CO MMON SEC T.-2) 3 FN610070383AA_04-2 M13

PART No.
イラスト
No.
REF
No.
PART NAME
REMARKS
Q'TY
3
カバー部(共通部1)
COVER SECT.(COMMON SECT.-1)
部 品 名 品 番 個数 備 考
R
1
R
2
1 N610070383AA
COVER UNIT カバー ユニット
1
005 N210071800AA
DOOR(L) ドア(L)
1
006 N210071802AB
DOOR ドア
1007 N210078237AB
DOOR(R) ドア(R)
1008 N210070010AB
BRACKET ブラケット
1
015 N210071790AA
PLATE プレート
1
019 N210072747AB
COVER カバー
4021 1083802081
PLATE プレート
2023 N210071791AA
BRACKET ブラケット
1
024 N210072746AC
COVER カバー
6028 N210071794AB
BRACKET ブラケット
1031 N210078190AA
COVER カバー
1
034 N210105199AA
COVER カバー
1
035 N210105116AA
COVER カバー
1036 N210105117AA
COVER カバー
1037 N210094702AA
BRACKET ブラケット
1
038 N210094703AA
BRACKET ブラケット
1
039 N210095052AA
PLATE プレート
P-18(screw) S
1
N001
KXF0DXPLA00
NAME PLATE メイバン
C-30-SG-24A,WHITE
2
N012
N980C30S-065
GROMMET グロメット
C-30-SG-36A,WHITE
1
N013
N980C30S-010
GROMMET グロメット
C-30-RK-12
6
N014
KXF01E6AA00
RUBBER LEG ゴムアシ
500W
1
N016
N986YYYY-B55
POCKET ポケット
JB-A M5X8 +
28
N019
N510038044AA
BOLT ボルト
M5X12
28
N020
N986YYYY-814
CAP キャップ
5 External toothed Ste
25
N023
N510018765AA
TOOTHED LOCK WASHER ハツキザガネ
M12
FN610070383AA_04-1

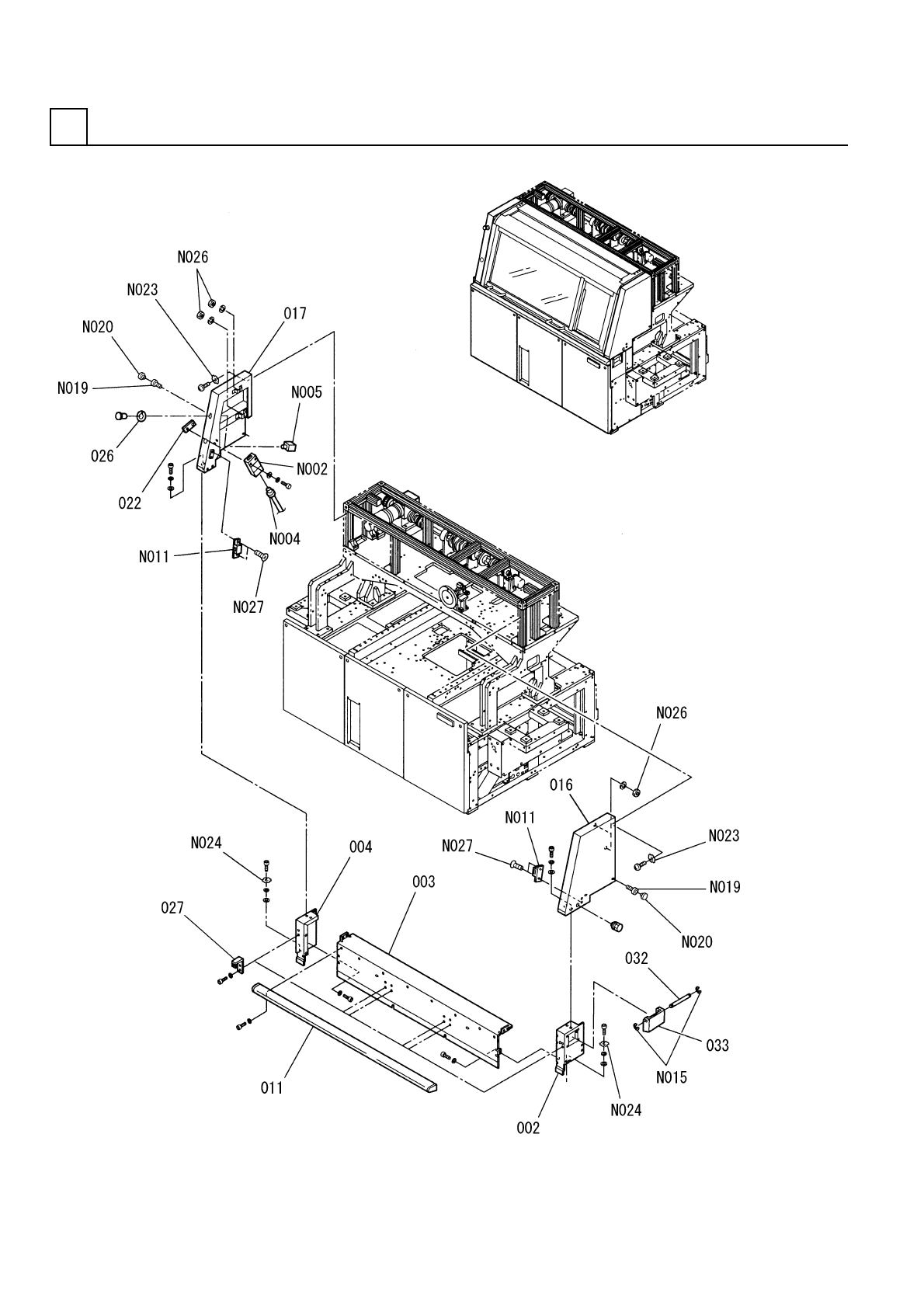
カバー部(共通部2)
COVER SECT.(COMMON SECT.-2)
3
FN610070383AA_04-2
M13

PART No.
イラスト
No.
REF
No.
PART NAME
REMARKS
Q'TY
3
カバー部(共通部2)
COVER SECT.(COMMON SECT.-2)
部 品 名 品 番 個数 備 考
R
1
R
2
1002 N210105128AA
FRONT COVER(RIGHT) フロントカバー(RIGHT)
1
003 N210105129AB
FRONT COVER フロントカバー
1
004 N210105127AA
FRONT COVER(LEFT) フロントカバー(LEFT)
1011 1046702086
GUIDE ガイド
1016 N210086430AC
SIDE COVER(RIGHT) サイドカバー(RIGHT)
1
017 N210086431AC
SIDE COVER(LEFT) サイドカバー(LEFT)
1
022 1087105805
BRACKET ブラケット
1026 3086239031
LABEL ラベル
6027 N210071792AB
BRACKET ブラケット
1
032 N210090530AA
SHAFT シャフト
1033 N210090532AA
COVER カバー
D4NS-1BF S
1
N002
N510015338AA
SWITCH スイッチ
ST13.5
1
N004
KXF06F4AA00
JOINT ジョイント
XW1E-BV402MFR-TK2377 S
1
N005
N510011524AA
SWITCH スイッチ
C-100-B-2
2
N011
KXF01BNAA00
MAGNETIC CATCH マグネットキャッチ
ETW-2.5
2
N015
KXF01XAAA00
E-RING E リング
JB-A M5X8 +
2
N019
N510038044AA
BOLT ボルト
M5X12
2
N020
N986YYYY-814
CAP キャップ
5 External toothed Ste
2
N023
N510018765AA
TOOTHED LOCK WASHER ハツキザガネ
6 External toothed Ste
2
N024
N510018767AA
TOOTHED LOCK WASHER ハツキザガネ
M5-6H-4T A2J (Trivalen
4
N026
N510017862AA
HEXAGON NUT ロッカクナット
M3X6-4.8 A2J (Trivalen
4
N027
N510018158AA
FLUSH HEAD SCREW サラコネジ
M14
FN610070383AA_04-2