Mechanical Parts List - 第35页
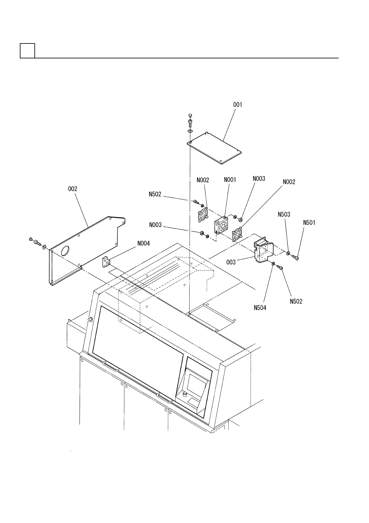
PART No. イラスト No. REF No. PART NAME REMARKS Q'TY 3 カバー部(RL131専用部) COVER SECT. (R L131 EXC LUSIVE SE CT.) 部 品 名 品 番 個数 備 考 R 1 R 2 1 N610082111AA COVER UNIT カバー ユニット 1 001 N210094276AA COVER カバー 1 002 N210100861AA…

カバー部(RL131専用部)
COVER SECT. (RL131 EXCLUSIVE SECT.)
3
FN610082111AA_00
M17

PART No.
イラスト
No.
REF
No.
PART NAME
REMARKS
Q'TY
3
カバー部(RL131専用部)
COVER SECT. (RL131 EXCLUSIVE SECT.)
部 品 名 品 番 個数 備 考
R
1
R
2
1 N610082111AA
COVER UNIT カバー ユニット
1
001 N210094276AA
COVER カバー
1
002 N210100861AA
COVER カバー
1003 N210101438AA
BRACKET ブラケット
4715KL-05W-B29-P53
1
N001
N510035075AA
FAN WITH MOTOR ファン
PG-47-02(8130)
2
N002
N238PG47-091
COVER(FAN) カバー(ファン)
M4-6H-4T A2J (Trivalen
8
N003
N510017855AA
HEXAGON NUT ロッカクナット
3 842 529 295
2
N004
N510036844AA
BLOCK ブロック
M5X10-10.9 A2J (Trival
2
N501
N510017386AA
HEX. SOCKET HEAD CAP BOLT ロッカクアナツキボルト
M4X12-10.9 A2J (Trival
8
N502
N510017346AA
HEX. SOCKET HEAD CAP BOLT ロッカクアナツキボルト
5 10H A2J (Trivalent)
2
N503
N510018499AA
ROUND PLAIN WASHER ミガキマルヒラザガネ
4 10H A2J (Trivalent)
16
N504
N510018497AA
ROUND PLAIN WASHER ミガキマルヒラザガネ
M18
FN610082111AA_00

カバー部(上部カバー部)
COVER SECT.(UPPER COVER SECT.)
3
FN610080302AA_00
M19