Mechanical Parts List - 第72页
ローダ・アンローダ部(ローダ アーム連動部) LOADER & UNLOA DER SECT .(LOADER ARM SWING SECT.) 5 FN610066187AB_00 M55

PART No.
イラスト
No.
REF
No.
PART NAME
REMARKS
Q'TY
5
ローダ・アンローダ部(共通部<アンローダ部>)
LOADER & UNLOADER SECT.(COMMOM SECT.<UNLOADER SECT.>)
部 品 名 品 番 個数 備 考
R
1
R
2
1001 N210066374AA
BRACKET ブラケット
2
006 1099705110
PLATE プレート
1
007 N210066361AD
PLATE(BASE) プレート(ベース)
1008 1099705118
PULLEY プーリー
1011 N210066359AB
RAIL レール
2
013 109970513402
LEVER レバー
1
014 109970513502
LEVER レバー
1015 N210066365AA
BALL SPLINE ボールスプライン
2016 N210066363AA
PIN ピン
1
017 N210066366AB
SHAFT シャフト
2019 1099705141
SPACER スペーサ
1
A002
N610067724AA
FRAME フレーム
87UST8-30
1
N001
N510027184AA
BOLT ボルト
6001ZZ
2
N002
XLC6001ZZ
BALL BEARING ボールベアリング
FU07SS
2
N003
KXF023CAA00
NUT ナット
4
N004
N510003302AA
BALL BEARING ボールベアリング
MOPC3917
1
N007
M0PC3917
CAP FOR CAPACITOR コンデンサキャップ
M4GA12.5F
1
N008
N510031513AA
GEAR HEAD ギヤーヘッド
80F-0805
4
N009
KXF0DY6MA00
BUSHING ブッシュ
CDBM2E32-50-DCL4298L
1
N010
N510036964AA
CYLINDER シリンダ
87WSF16
2
N012
N510024734AA
WASHER ザガネ
1AP34N
1
N014
N5541AP34N
O-RING O リング
MB019000
2
N022
N648MB019000
PULLEY(TENSION) プーリー(テンション)
STW-8
4
N024
KXF04D1AA00
RETAINING RING C-TYPE,SHAFT C ガタジクヨウトメワ
5X12,m6A,STEEL
2
N025
XPJ5A12FW
PARALLEL PIN ヘイコウピン
N510013514AA S
1
N029
N510013514AA
TERMINAL ターミナル
M4X8, STEEL, P.C
4
N030
XYN4+J8FN
PAN HEAD M/C SCREW & W. ザガネクミコミナベコネジ
R4.0X0.9
2
N032
N510038115AA
ORIFICE オリフィス
M4X8-4.8 A2J (Trivalen
12
N501
N510018282AA
TRUSS HEAD SCREW トラスコネジ
M3X50-10.9 A2J (Trival
2
N502
N510017332AA
BOLT ボルト
M8-6H-4T A2J (Trivalen
1
N503
N510017877AA
HEXAGON NUT ロッカクナット
M3-6H-4T A2J (Trivalen
2
N504
N510017849AA
HEXAGON NUT ロッカクナット
M5X8-10.9 A2J (Trivale
2
N505
N510017419AA
HEX. SOCKET HEAD CAP BOLT ロッカクアナツキボルト
M6X12-10.9 A2J (Trival
6
N507
N510017428AA
HEX. SOCKET HEAD CAP BOLT ロッカクアナツキボルト
6 10H A2J (Trivalent)
5
N508
N510018501AA
ROUND PLAIN WASHER ミガキマルヒラザガネ
M5X20-10.9 A2J (Trival
3
N509
N510017398AA
HEX. SOCKET HEAD CAP BOLT ロッカクアナツキボルト
M4-6H-4T A2J (Trivalen
2
N510
N510017855AA
HEXAGON NUT ロッカクナット
M8X30-10.9 A2J (Trival
2
N511
N510017475AA
HEX. SOCKET HEAD CAP BOLT ロッカクアナツキボルト
M4X6-45H A2J (Trivalen
9
N512
N510018438AA
HEX. SOCKET SET SCREW ロッカクアナツキトメネジ
4 10H A2J (Trivalent)
4
N513
N510018497AA
ROUND PLAIN WASHER ミガキマルヒラザガネ
5 10H A2J (Trivalent)
3
N514
N510018499AA
ROUND PLAIN WASHER ミガキマルヒラザガネ
M6X20-10.9 A2J (Trival
3
N515
N510017435AA
HEX. SOCKET HEAD CAP BOLT ロッカクアナツキボルト
M4X10-10.9 A2J (Trival
2
N517
N510017344AA
HEX. SOCKET HEAD CAP BOLT ロッカクアナツキボルト
3 10H A2J (Trivalent)
2
N518
N510018494AA
ROUND PLAIN WASHER ミガキマルヒラザガネ
M4RA1G4L S
1V 4 308380520602
MOTOR モータ
D-C73
2V 5 N401DC73
SENSOR センサ
M54
FN610061299AA_01-4

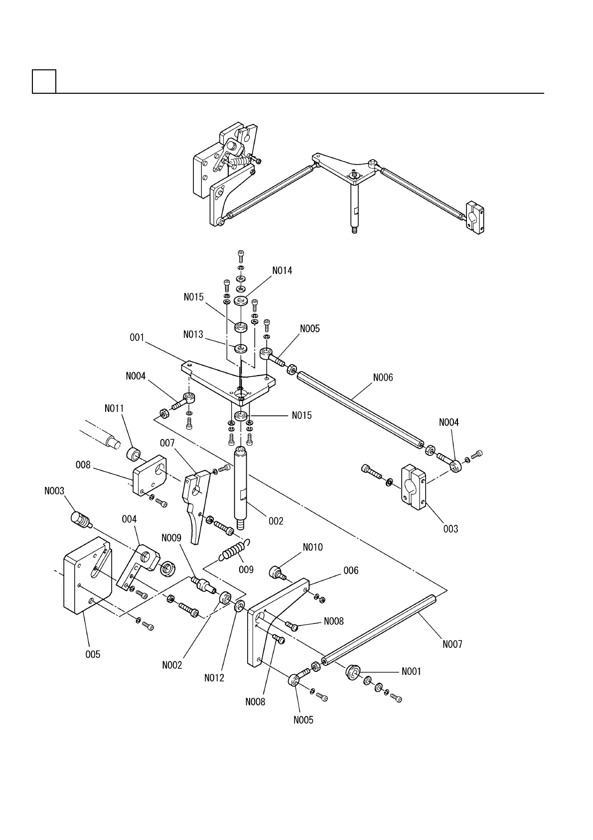
ローダ・アンローダ部(ローダアーム連動部)
LOADER & UNLOADER SECT.(LOADER ARM SWING SECT.)
5
FN610066187AB_00
M55

PART No.
イラスト
No.
REF
No.
PART NAME
REMARKS
Q'TY
5
ローダ・アンローダ部(ローダアーム連動部)
LOADER & UNLOADER SECT.(LOADER ARM SWING SECT.)
部 品 名 品 番 個数 備 考
R
1
R
2
1 N610066187AB
LOADER ARM SWING UNIT ローダアームレンドウユニット
1
001 108711600103
LEVER レバー
1
002 N210066287AA
PIN ピン
1003 N210066288AA
LEVER レバー
1004 108711600402
BRACKET ブラケット
1
005 108711600502
BRACKET ブラケット
1
006 N210066306AC
LEVER レバー
1007 N210082121AA
CAM カム
1008 108711600801
BRACKET ブラケット
1
009 1087116009
SPRING バネ
F688AZZ1
1
N001
KXF0DYPHA00
BEARING ベアリング
688AZZ1
1
N002
KXF0E2FJA00
BEARING ベアリング
RBQ1604
1
N003
KXF0DYM0A00
SHOCK-ABSORBER ショックアブソーバー
N0S4T
2
N004
N533N0S4T
ROD END ロッドエンド
NOS4TL
2
N005
N533N0S4TL
ROD END ロッドエンド
87LBMFN4-206
1
N006
N510023244AA
ROD ロッド
87LBMFN4-184
1
N007
N510023243AA
ROD ロッド
M3X6-4.8 A2J (Trivalen
2
N008
N510018253AA
TRUSS HEAD SCREW トラスコネジ
87FXBB8-12-F9-MA4
1
N009
N510034923AA
PIN ピン
CF6R-A
1
N010
N531CF6RA
CAM FOLLOWER カムフォロア
K5B1410
1
N011
N510022573AA
BUSHING ブッシュ
RB012016005
1
N012
N510034926AA
SHIM シム
RB020024005
1
N013
N510034924AA
SHIM シム
87FWSSB-D20.0-V5.0-T3.
1
N014
N510033408AA
WASHER ザガネ
6802ZZ
2
N015
KXF0E3LAA00
BEARING ベアリング
M56
FN610066187AB_00