Mechanical Parts List - 第75页
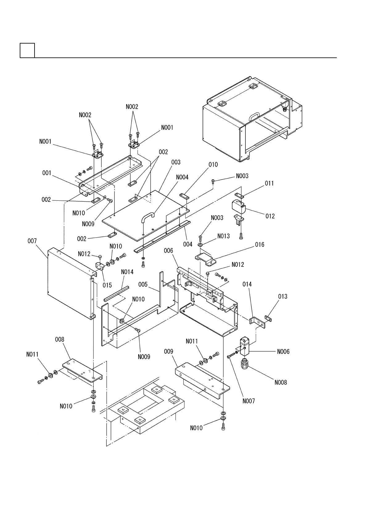
PART No. イラスト No. REF No. PART NAME REMARKS Q'TY 5 ローダ・アンローダ部(切欠き基板対応部 ) LOADER & UNLOA DER SECT .(P.C.B. CUTTING T YPE SECT.) 部 品 名 品 番 個数 備 考 R 1 R 2 1 N610081160AA NOTCH TYPE P. C. BOARD UNI T キリカキキバンタイオウユ…

ローダ・アンローダ部(切欠き基板対応部)
LOADER & UNLOADER SECT.(P.C.B. CUTTING TYPE SECT.)
5
FN610081160AA_01
M57

PART No.
イラスト
No.
REF
No.
PART NAME
REMARKS
Q'TY
5
ローダ・アンローダ部(切欠き基板対応部)
LOADER & UNLOADER SECT.(P.C.B. CUTTING TYPE SECT.)
部 品 名 品 番 個数 備 考
R
1
R
2
1 N610081160AA
NOTCH TYPE P. C. BOARD UNIT キリカキキバンタイオウユニット
2
001 1041305952
PLATE プレート
2
002 1041305953
PLATE プレート
1003 X02P7012502
CYLINDER シリンダ
1004 N210099755AA
BRACKET ブラケット
1
005 N210099756AA
PLATE プレート
1
006 N210099757AA
BRACKET ブラケット
1007 N210099758AA
BRACKET ブラケット
AS1201F-M5-06-X214
2
N001
N406AS12-135
SPEED CONTROLLER スピードコントローラ
P919T
1
N002
N310P919T
SWITCH スイッチ
M4
6
N003
N510020099AA
WASHER ワッシャ
M4X12-10.9 A2J (Trival
2
N501
N510017346AA
HEX. SOCKET HEAD CAP BOLT ロッカクアナツキボルト
M4X10-10.9 A2J (Trival
4
N502
N510017344AA
HEX. SOCKET HEAD CAP BOLT ロッカクアナツキボルト
M4X8-10.9 A2J (Trivale
2
N503
N510017381AA
HEX. SOCKET HEAD CAP BOLT ロッカクアナツキボルト
4 10H A2J (Trivalent)
2
N504
N510018497AA
ROUND PLAIN WASHER ミガキマルヒラザガネ
M3X6-10.9 A2J (Trivale
10
N505
N510017337AA
HEX. SOCKET HEAD CAP BOLT ロッカクアナツキボルト
3 10H A2J (Trivalent)
10
N506
N510018494AA
ROUND PLAIN WASHER ミガキマルヒラザガネ
M58
FN610081160AA_01

ローダ・アンローダ部(ローダカバー部)
LOADER & UNLOADER SECT.(LOADER COVER SECT.)
5
FN610059162AA_06
M59