Mechanical Parts List - 第79页
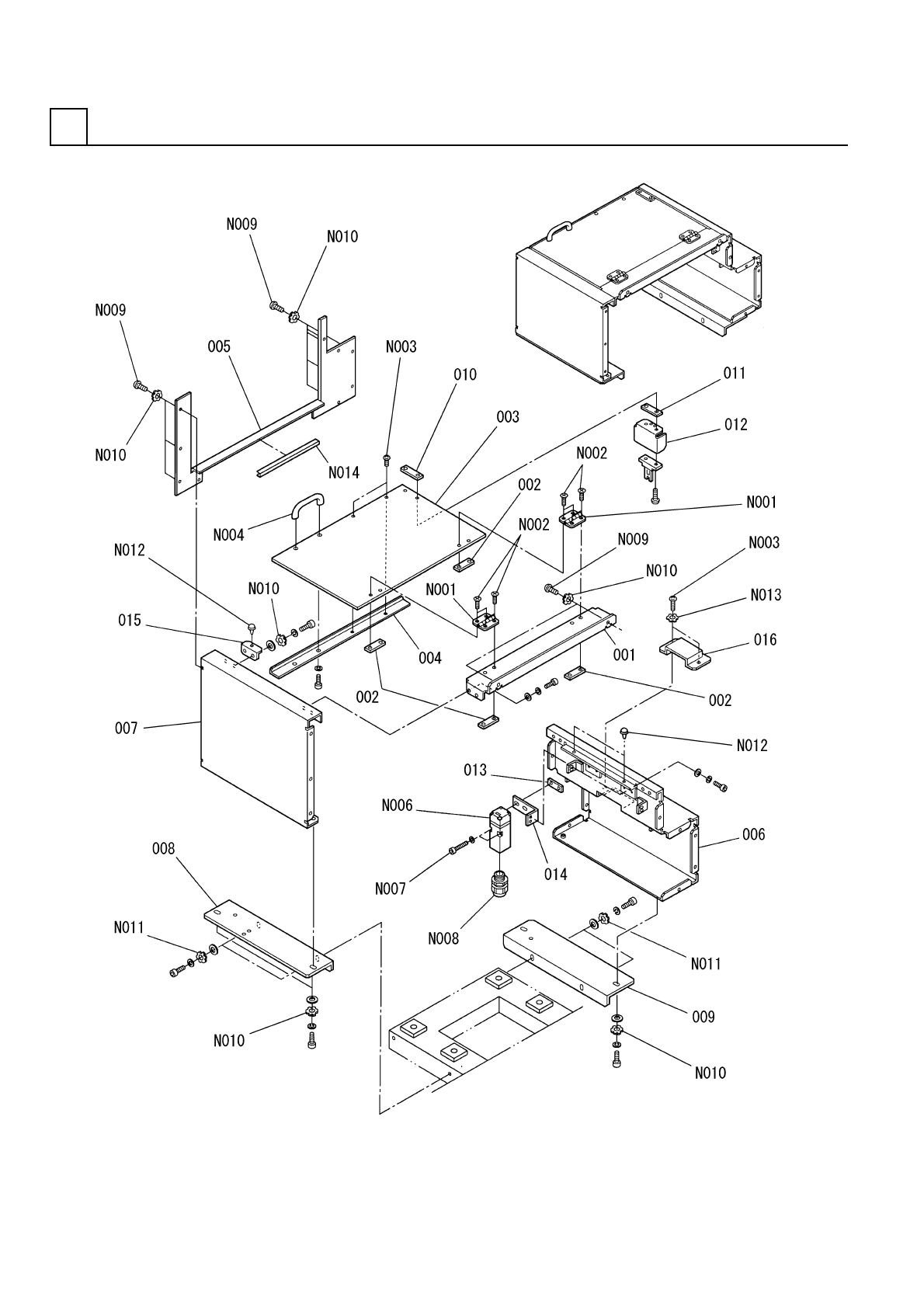
PART No. イラスト No. REF No. PART NAME REMARKS Q'TY 5 ローダ・アンローダ部(アンロー ダカバー部) LOADER & UNLOA DER SECT .(UNLOADE R COVER S ECT.) 部 品 名 品 番 個数 備 考 R 1 R 2 1 N610059164AA UNLOADER COVE R UNIT アンローダカバーユニット 1 001 N…

ローダ・アンローダ部(アンローダカバー部)
LOADER & UNLOADER SECT.(UNLOADER COVER SECT.)
5
FN610059164AA_06
M61

PART No.
イラスト
No.
REF
No.
PART NAME
REMARKS
Q'TY
5
ローダ・アンローダ部(アンローダカバー部)
LOADER & UNLOADER SECT.(UNLOADER COVER SECT.)
部 品 名 品 番 個数 備 考
R
1
R
2
1 N610059164AA
UNLOADER COVER UNIT アンローダカバーユニット
1
001 N210071854AB
COVER カバー
4
002 KXFB012QA00
NUT PLATE ナットプレート
S
1003 N210071272AE
COVER カバー
1004 N210086100AB
COVER カバー
1
005 N210071444AC
COVER カバー
1
006 N210071373AC
COVER カバー
1007 N210071363AC
COVER カバー
1008 N210105969AA
BRACKET ブラケット
1
009 1087805904
REAR BRACKET ブラケット(REAR)
1010 N210048950AA
NUT PLATE ナットプレート
1011 N210048951AA
SPACER スペーサ
1
012 1087102064
BRACKET ブラケット
1
013 1087105805
BRACKET ブラケット
1014 N210071471AB
BRACKET ブラケット
1015 N210071283AA
BRACKET ブラケット
1
016 N210085956AB
COVER カバー
B-1229
2
N001
KXF0A4KAA00
HINGE ヒンジ
M4X10-4.8 A2J (Trivale
8
N002
N510018164AA
FLUSH HEAD SCREW サラコネジ
M4X8-4.8 A2J (Trivalen
4
N003
N510018282AA
TRUSS HEAD SCREW トラスコネジ
AP-2(black)
1
N004
KXF08CUAA00
DRAWER PULL トッテ
D4NS-1BF S
1
N006
N510015338AA
SWITCH スイッチ
TX010416 S
2
N007
N510020229AA
BOLT ボルト
ST13.5
1
N008
KXF06F4AA00
JOINT ジョイント
M5X10-4.8 A2J (Trivale
10
N009
N510018284AA
TRUSS HEAD SCREW トラスコネジ
5 External toothed Ste
18
N010
N510018765AA
TOOTHED LOCK WASHER ハツキザガネ
6 External toothed Ste
4
N011
N510018767AA
TOOTHED LOCK WASHER ハツキザガネ
C-30-CS-8
3
N012
KXF07GDAA00
RUBBER CUSHION ゴムクッション
4 External toothed Ste
2
N013
N510018762AA
TOOTHED LOCK WASHER ハツキザガネ
TE-024
1
N014
N348TE024T
BUSHING ブッシュ
M62
FN610059164AA_06

メイン駆動部(1)
MAIN DRIVING SECT.(1)
6
FN610070013AA_05-1
M63