Mechanical Parts List - 第86页
挿入ヘッ ド 部(挿入動力部1 ) INSERTION HEAD SECT.(I NSERTION POWER SEC T.-1) 7 FN610074519AA_06-1 M69

PART No.
イラスト
No.
REF
No.
PART NAME
REMARKS
Q'TY
6
メイン駆動部(3)
MAIN DRIVING SECT.(3)
部 品 名 品 番 個数 備 考
R
1
R
2
1013 N210086211AA
PLATE プレート
1
014 N210086215AA
BRACKET ブラケット
2
016 N210086221AA
PIN ピン
1017 N210086223AA
PLATE プレート
1018 N210086224AA
PULLEY プーリー
VEL-7055
1
N006
N648VFL7055
PULLEY プーリー
M8X70-10.9 A2J (Trival
1
N014
N510017490AA
HEX. SOCKET HEAD CAP BOLT ロッカクアナツキボルト
6202ZZ
2
N015
KXF00KUAA00
BEARING ベアリング
87WASMH20-6
2
N016
N510035527AA
WASHER ザガネ
M10
2
N017
N510020103AA
WASHER ザガネ
M4X8-10.9 A2J (Trivale
3
N501
N510017381AA
HEX. SOCKET HEAD CAP BOLT ロッカクアナツキボルト
4 10H A2J (Trivalent)
3
N503
N510018497AA
ROUND PLAIN WASHER ミガキマルヒラザガネ
M6X16-10.9 A2J (Trival
2
N508
N510017433AA
HEX. SOCKET HEAD CAP BOLT ロッカクアナツキボルト
M8X20-10.9 A2J (Trival
4
N512
N510017472AA
HEX. SOCKET HEAD CAP BOLT ロッカクアナツキボルト
8 10H A2J (Trivalent)
4
N514
N510018503AA
WASHER ヒラザガネ
M8-6H-4T A2J (Trivalen
1
N515
N510017877AA
HEXAGON NUT ロッカクナット
M10X25-10.9 A2J (Triva
4
N516
N510017166AA
HEX. SOCKET HEAD CAP BOLT ロッカクアナツキボルト
10 10H A2J (Trivalent)
2
N518
N510018505AA
WASHER ヒラザガネ
12 10H A2J (Trivalent)
2
N520
N510018507AA
WASHER ヒラザガネ
M12-6H-4T A2J (Trivale
2
N521
N510017895AA
HEXAGON NUT ロッカクナット
M68
FN610070013AA_05-3

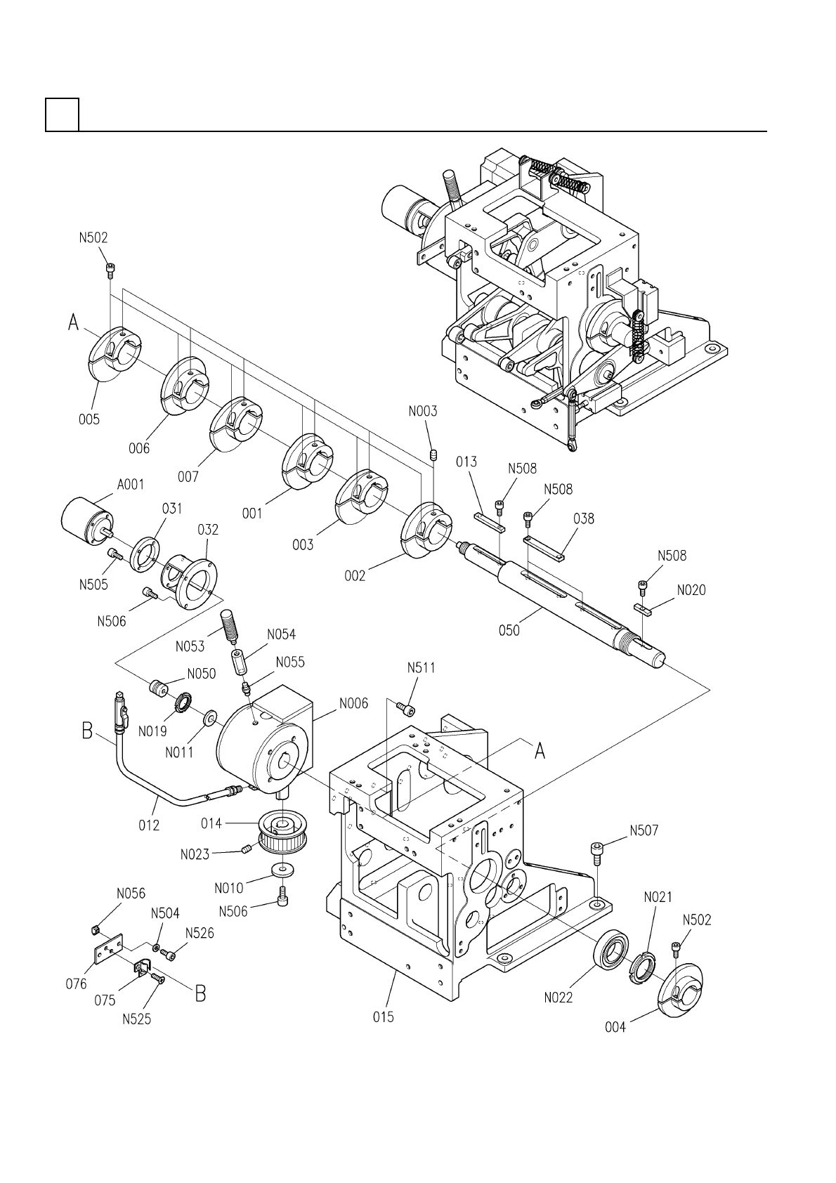
挿入ヘッド部(挿入動力部1)
INSERTION HEAD SECT.(INSERTION POWER SECT.-1)
7
FN610074519AA_06-1
M69

PART No.
イラスト
No.
REF
No.
PART NAME
REMARKS
Q'TY
7
挿入ヘッド部(挿入動力部1)
INSERTION HEAD SECT.(INSERTION POWER SECT.-1)
部 品 名 品 番 個数 備 考
R
1
R
2
1 N610074519AA
INSERTION HEAD UNIT ソウニュウヘッドユニット
1
001 X02G45001
CAM(PLATE) カム(イタ)
1
002 X02G45002
CAM(PLATE) カム(イタ)
1003 X02G45003
CAM(PLATE) カム(イタ)
1004 X02G45004
CAM(PLATE) カム(イタ)
1
005 X02G45005
CAM(PLATE) カム(イタ)
1
006 X02G45006
CAM(PLATE) カム(イタ)
1007 X02G45007
CAM(PLATE) カム(イタ)
1012 N210103756AA
HOSE ホース
1
013 N210058841AA
KEY キー
1014 N210084973AB
PULLEY プーリ
1015 N210092174AA
CAM BOX カムボックス
1
031 X01A53024
BLOCK ブロック
1
032 X01L53069
FLANGE フランジ
2038 X02G45139
KEY キー
1050 N210092182AA
CAM SHAFT カムシャフト
1
075 X02P12243
HOLDER(TUBE) ホルダ(チューブ)
1
076 N210103757AA
BRACKET ブラケット
1
A001
N610074349AA
ROTARY ENCODER ロータリーエンコーダ
M8X10 45H A2J (Trivale
6
N003
N510018388AA
HEX. SOCKET SET SCREW ロッカクアナツキトメネジ
SW50E07LF(230O26000)
1
N006
N620SW50-025
REDUCTION GEAR ゲンソクキ
87WASMH25-6
1
N010
N510034997AA
WASHER ワッシャ
87WASMH40-20
1
N011
N510035000AA
WASHER ワッシャ
FUS04SC RYUBU light
1
N019
N510004731AA
LOCK-NUT ロックナット
87KEDZ8-30
1
N020
N510035005AA
KEY キー
FUS07SC RYUBU light
1
N021
N510038140AA
LOCK-NUT ロックナット
6007ZZ
1
N022
XLC6007ZZ
BALL BEARING ボールベアリング
M5X8-45H A2J (Trivalen
2
N023
N510018384AA
HEX. SOCKET SET SCREW ロッカクアナツキトメネジ
3005M d1=d2=10
1
N050
N6443005-053
COUPLING カップリング
AN203-N02
1
N053
N418AN203N02
SILENCER サイレンサ
KS-1/4
1
N054
N431KS02
FITTING ツギテ
KN-1/4
1
N055
N431KN02
FITTING ニップル
3 842 529 295
2
N056
N510036844AA
BLOCK ブロック
M6X20-10.9 A2J (Trival
14
N502
N510017435AA
HEX. SOCKET HEAD CAP BOLT ロッカクアナツキボルト
5 10H A2J (Trivalent)
2
N504
N510018499AA
ROUND PLAIN WASHER ミガキマルヒラザガネ
M3X16-10.9 A2J (Trival
4
N505
N510017313AA
HEX. SOCKET HEAD CAP BOLT ロッカクアナツキボルト
M6X16-10.9 A2J (Trival
5
N506
N510017433AA
HEX. SOCKET HEAD CAP BOLT ロッカクアナツキボルト
M10X30-10.9 A2J (Triva
5
N507
N510017167AA
HEX. SOCKET HEAD CAP BOLT ロッカクアナツキボルト
M3X8-10.9 A2J (Trivale
7
N508
N510017341AA
HEX. SOCKET HEAD CAP BOLT ロッカクアナツキボルト
M6X40-10.9 A2J (Trival
4
N511
N510017442AA
HEX. SOCKET HEAD CAP BOLT ロッカクアナツキボルト
M3X6-4.8 A2J (Trivalen
2
N525
N510018158AA
FLUSH HEAD SCREW サラコネジ
M5X10-10.9 A2J (Trival
2
N526
N510017386AA
HEX. SOCKET HEAD CAP BOLT ロッカクアナツキボルト
M70
FN610074519AA_06-1