Mechanical Parts List - 第96页
挿入ヘッ ド 部(挿入動力部6 ) INSERTION HEAD SECT.(I NSERTION POWER SEC T.-6) 7 FN610074519AA_06-6 M79

PART No.
イラスト
No.
REF
No.
PART NAME
REMARKS
Q'TY
7
挿入ヘッド部(挿入動力部5)
INSERTION HEAD SECT.(INSERTION POWER SECT.-5)
部 品 名 品 番 個数 備 考
R
1
R
2
1009 N210092171AA
SPRING スプリング
1
010 N210092172AA
SPRING スプリング
1
011 N210092173AA
BRACKET ブラケット
1030 N210092176AA
BRACKET ブラケット
1047 N210092179AA
SPRING スプリング
1
048 N210092180AA
SPRING スプリング
4
056 N210048696AA
WASHER ワッシャ
4058 N210084980AA
COLLAR カラ-
F696ZZIMC3PS2S
4
N047
N510020363AA
BEARING ベアリング
M6X20-10.9 A2J (Trival
4
N502
N510017435AA
HEX. SOCKET HEAD CAP BOLT ロッカクアナツキボルト
5 10H A2J (Trivalent)
4
N504
N510018499AA
ROUND PLAIN WASHER ミガキマルヒラザガネ
M5X16-10.9 A2J (Trival
4
N522
N510017395AA
HEX. SOCKET HEAD CAP BOLT ロッカクアナツキボルト
M6-6H-4T A2J (Trivalen
4
N529
N510017867AA
HEXAGON NUT ロッカクナット
M78
FN610074519AA_06-5

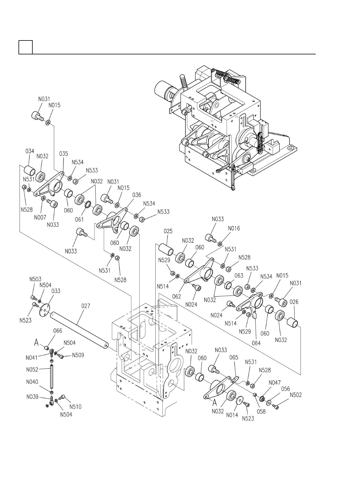
挿入ヘッド部(挿入動力部6)
INSERTION HEAD SECT.(INSERTION POWER SECT.-6)
7
FN610074519AA_06-6
M79

PART No.
イラスト
No.
REF
No.
PART NAME
REMARKS
Q'TY
7
挿入ヘッド部(挿入動力部6)
INSERTION HEAD SECT.(INSERTION POWER SECT.-6)
部 品 名 品 番 個数 備 考
R
1
R
2
1025 X02G45121
COLLAR カラー
1
026 X02G45122
COLLAR カラー
1
027 X02G45123
SHAFT シャフト
1033 X02G45133
PLATE プレート
1034 X02G45134
COLLAR カラー
1
035 N210092177AA
LEVER レバー
1
036 N210092178AA
LEVER レバー
1056 N210048696AA
WASHER ワッシャ
1058 N210084980AA
COLLAR カラ-
5
060 X01A45069
COLLAR カラー
1061 X01A45071
COLLAR カラー
1062 N210084970AA
LEVER レバー
1
063 X01A45081
COLLAR カラー
1
064 N210084971AA
LEVER レバー
1065 N210092185AA
LEVER レバー
1066 X01A45089
COLLAR カラー
87FWSSM-D13.0-V8.0-T2.
1
N007
N510038168AA
WASHER ワッシャ
87WASMH30-8
1
N014
N510027896AA
WASHER ワッシャ
87FWSSM-D16.0-V10.0-T2
3
N015
N510038170AA
WASHER ワッシャ
87FWSSM-D15.0-V8.0-T3.
1
N016
N510038169AA
WASHER ワッシャ
CFN6R-A
2
N024
N531CFN6RA
CAM FOLLOWER カムフォロア
CFN10R-A
3
N031
N531CFN10RA
CAM FOLLOWER カムフォロア
6905ZZ
10
N032
KXF06P1AA00
BEARING ベアリング
CFN8R-A
4
N033
N531CFN8RA
CAM FOLLOWER カムフォロア
P0S5L
1
N039
N533P0S5L
ROD END ロッドエンド
M5,1-TYPE,STEEL,Z.C.T
1
N040
N510018945AA
HEXAGON NUT ロッカクナット
P0S5
1
N041
N533P0S5
ROD END ロッドエンド
F696ZZIMC3PS2S
1
N047
N510020363AA
BEARING ベアリング
87LBMFN5-60
1
N052
N510038166AA
ROD ロッド
M6X20-10.9 A2J (Trival
1
N502
N510017435AA
HEX. SOCKET HEAD CAP BOLT ロッカクアナツキボルト
M5X12-10.9 A2J (Trival
3
N503
N510017390AA
HEX. SOCKET HEAD CAP BOLT ロッカクアナツキボルト
5 10H A2J (Trivalent)
5
N504
N510018499AA
ROUND PLAIN WASHER ミガキマルヒラザガネ
M5X25-10.9 A2J (Trival
1
N509
N510017399AA
HEX. SOCKET HEAD CAP BOLT ロッカクアナツキボルト
M5X20-10.9 A2J (Trival
1
N510
N510017398AA
HEX. SOCKET HEAD CAP BOLT ロッカクアナツキボルト
6 10H A2J (Trivalent)
2
N514
N510018501AA
ROUND PLAIN WASHER ミガキマルヒラザガネ
M8X16-10.9 A2J (Trival
2
N523
N510017470AA
HEX. SOCKET HEAD CAP BOLT ロッカクアナツキボルト
M8-6H-4T A2J (Trivalen
4
N528
N510017877AA
HEXAGON NUT ロッカクナット
M6-6H-4T A2J (Trivalen
2
N529
N510017867AA
HEXAGON NUT ロッカクナット
8 10H A2J (Trivalent)
4
N531
N510018503AA
WASHER ヒラザガネ
M10-6H-4T A2J (Trivale
3
N533
N510017887AA
HEXAGON NUT ロッカクナット
10 10H A2J (Trivalent)
3
N534
N510018505AA
WASHER ヒラザガネ
M80
FN610074519AA_06-6