P-0228-001.pdf - 第176页
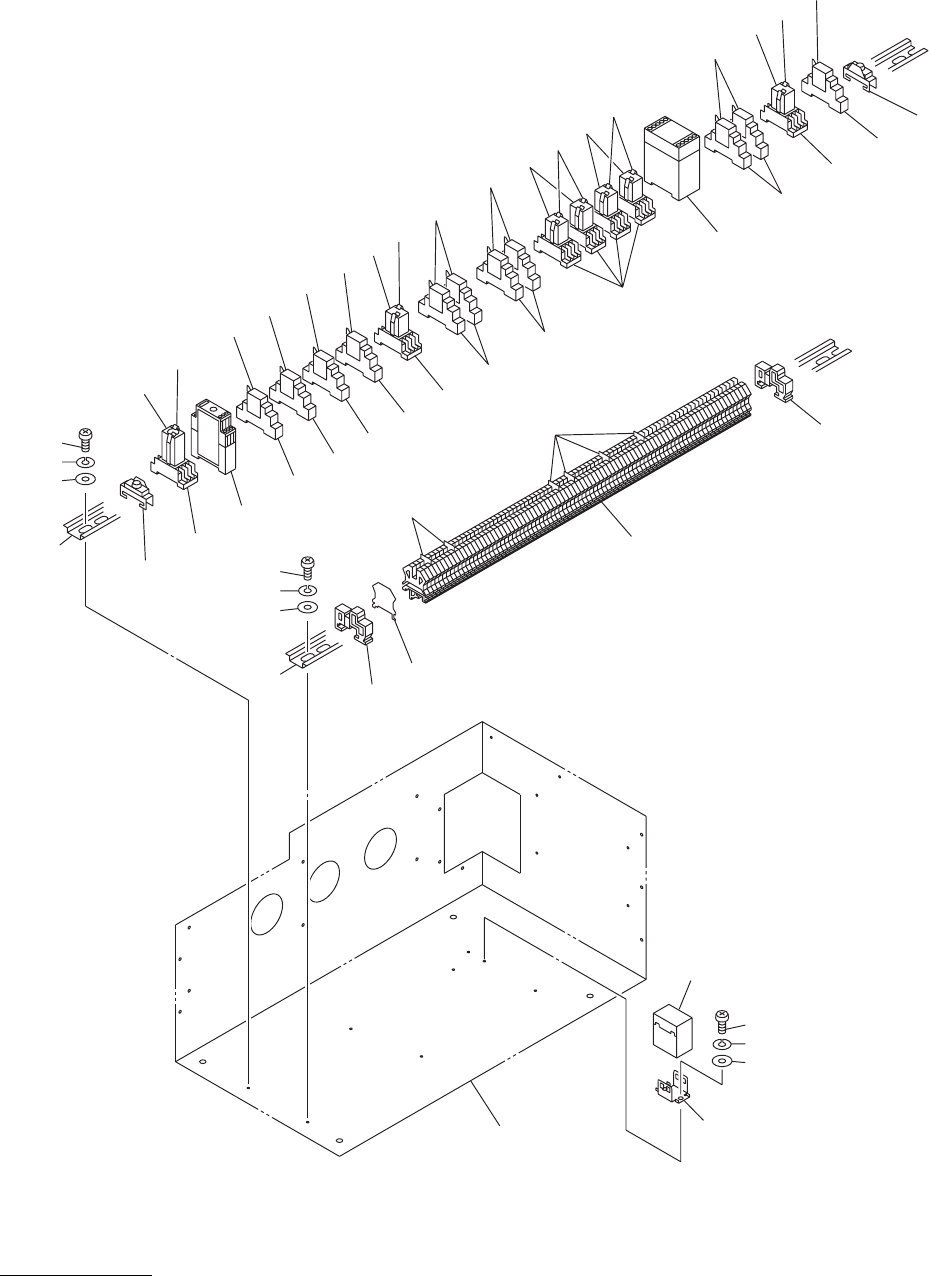
MODEL TIM-5000 9905-001 電源部 POWER SUPPL Y SECTION Fig. BF-3 電源2(2) Power Supply 2 (2) 238 236 276 237 254 257 255 255 261 259 255 275 271 274 275 270 270 280 236 276 237 238 259 261 259 261 256 258 260 258 260 262 264 26…

MODEL TIM-5000
9905-001
BF-2
Key No. PART No. PART NAME Q'ty REMARKS
116 411 141 4107 WASHER V 5X10X1 4 FW5
117 411 141 6705 WASHER SPR 5 4 SW5
118 630 000 7749 BOLT,HEX-SCT 4 M5X10
136 411 119 2104 WASHER V 4X9X0.8 6 FW4 F
137 411 008 1706 WASHER SPR 4 6 SW4 F
138 411 043 5004 SCR PAN 4X8 6 M4X8 PAN
151 630 054 2912 CIRCUIT PROTECTOR 1 675BG-11D-051
152 630 067 3227 CIRCUIT PROTECTOR 1 675BG-11D-052
153 630 069 5915 CIRCUIT PROTECTOR 1 675BG-11D-053
154 630 069 5908 CIRCUIT PROTECTOR 1 675BG-11D-054
155 630 053 8601 EM-CONTACTOR 1 675BG-11D-055
156 630 057 2568 EM-CONTACTOR 1 675BG-11D-056
157 630 053 8618 EM-CONTACTOR 1 675BG-11D-057
159 630 072 4424 EM-CONTACTOR 2 675BG-11D-059
160 630 049 2187 EM-CONTACTOR 2 675BG-11D-060
161 630 049 2163 COVER 2 675BG-11D-151
163 630 071 5460 RELAY 1 675BG-11D-153
165 630 049 1173 FUSE HOLDER 15 675BG-11D-255
173 630 071 2742 BRACKET 1 675BG-11V-073
176 630 069 9579 COVER 1 675BG-11D-451
180 630 049 3702 ACCESSORY,WIRING 2 675BG-11D-260
181 630 068 9631 TERMINAL 31 675BG-11D-351
184 630 049 3733 ACCESSORY,WIRING 1 675BG-11D-354
185 630 049 3672 BRACKET,WIRING 4 675BG-11D-355
187 630 057 4326 TERMINAL 3 675BG-11D-357
188 423 022 8203 FUSE 250V 3.15A 3 675BG-11D-358
189 423 025 1904 FUSE 250V 1.6A 1 675BG-11D-359
190 423 022 8005 FUSE 250V 1A 6 675BG-11D-360
191 423 022 8104 FUSE 250V 2A 2 675BG-11D-361
192 423 022 8302 FUSE 250V 5A 3 675BG-11D-362
194 630 071 3343 COVER 1 675BG-11D-554
195 630 071 3350 COVER 1 675BG-11D-555
196 630 058 8415 ACCESSORY,WIRING 2 675BG-11D-556
197 630 000 1273 ACCESSORY,WIRING 1 675BG-11D-754
198 630 000 1051 BRACKET,WIRING 1 675BG-11D-755
NOTE

MODEL TIM-5000
9905-001
電源部 POWER SUPPLY SECTION
Fig. BF-3電源2(2) Power Supply 2 (2)
238
236
276
237
254
257
255
255
261
259
255
275
271
274
275
270
270
280
236
276
237
238
259
261
259
261
256
258
260
258
260
262
264
260
258
262
264
262
264
258
262
264
258
280
259
255
259
253
.
277
278
.
See Fig.BF-2
Key No.173
238
288
289
236
237

MODEL TIM-5000
9905-001
BF-3
Key No. PART No. PART NAME Q'ty REMARKS
236 411 119 2104 WASHER V 4X9X0.8 8 FW4 F
237 411 008 1706 WASHER SPR 4 8 SW4 F
238 411 043 5004 SCR PAN 4X8 8 M4X8 PAN
253 407 005 1306 DIODE DS135C 1 675BG-11D-659
254 630 049 2491 TIMER 1 675BG-11D-154
255 630 049 2088 SOCKET 7 675BG-11D-155
256 630 000 1037 BRACKET,WIRING 2 675BG-11D-156
257 630 049 2095 TIMER 1 675BG-11D-157
258 630 063 5423 RELAY 7 675BG-11D-158
259 630 063 5430 SOCKET 7 675BG-11D-159
260 630 068 9723 RELAY 4 675BG-11D-160
261 630 049 2064 SOCKET 4 675BG-11D-251
262 630 042 4997 RELAY 6 675BG-11D-252
264 630 000 1020 BRACKET,WIRING 12 675BG-11D-254
270 630 049 3702 ACCESSORY,WIRING 6 675BG-11D-260
271 630 068 9631 TERMINAL 84 675BG-11D-351
274 630 049 3733 ACCESSORY,WIRING 1 675BG-11D-354
275 630 049 3672 BRACKET,WIRING 2 675BG-11D-355
277 630 072 6299 RELAY 1 675BG-11D-657
278 630 072 6305 SOCKET 1 675BG-11D-658
280 630 000 1051 BRACKET,WIRING 2 675BG-11D-755
288 630 069 7278 RELAY 1 675BG-11D-558
289 630 049 2422 BRACKET,WIRING 1 675BG-11D-559
NOTE