BM231 Mechanical 20070514老款H轴马达 - 第107页
固定供給部 FIXED SUPPL Y SECT. 13 F10862-07-300-AE_A M85

PART NAME
REMARKS
Q'TY
12
表示ラベル部(安全シール3)
INDICATION LABEL SECT.(SAFETY LABEL-3)
イラスト
No.
REF
No.
PART No.
部 品 名 品 番 個数 備 考
R
1
R
2
PD0102M1 S
2
N806
N986PD0102M1
LABEL ラベル
PS_C004_01 S
2
N814
N986PSC00401
LABEL ラベル
M84
F10862-00-800-AA_01-3

固定供給部
FIXED SUPPLY SECT.
13
F10862-07-300-AE_A
M85

PART NAME
REMARKS
Q'TY
13
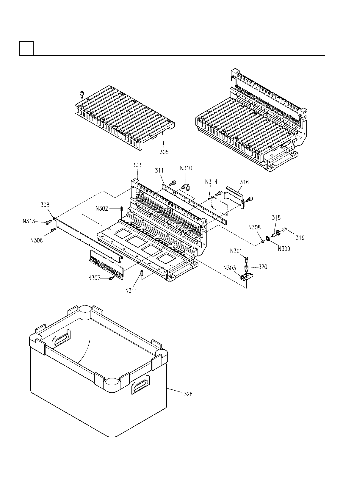
固定供給部
FIXED SUPPLY SECT.
イラスト
No.
REF
No.
PART No.
部 品 名 品 番 個数 備 考
R
1
R
2
1 1086207300
SUPPLY UNIT キョウキュウユニット
1
303 108620730307
FRAME フレーム
1
305 108620730505
FRAME フレーム
1308 108620730801
COVER カバー
1311 108620731103
PLATE プレート
1
316 108620731601
COVER カバー
20
318 108620731801
PIN ピン
20319 1086207319
SPRING アッシュクバネ
20320 108620732002
SPRING アッシュクバネ
1
328 108620732803
DUST BOX ダストボックス
MSB8-20
20
N301
N986MSB820
BOLT ショルダボルト
3X20,STEEL
21
N302
XPL3A20WFW
SPRING PIN スプリングピン
MRN00000051
20
N303
N986MRN0-B86
BLOCK ブロック
M2.5X10-4.8 A2J (Triva
4
N306
N510018117AA
FLUSH HEAD SCREW サラコネジ
M2.5X6,STEEL,T.T.C,12.
4
N307
XVE25B6FTC
HEX. SOCKET HEAD CAP BOLT ロッカクアナツキボルト
MYA-5
20
N308
N555MYA5
PACKING パッキン
CO 0602A
20
N309
N554C00602A
O-RING O リング
KJL06-M5
2
N310
N431KJL06M5
FITTING ツギテ
6X16,h7A,STEEL
1
N311
XPJ6C16FW
PARALLEL PIN ヘイコウピン
M3X8-4.8 A2J (Trivalen
2
N313
N510018161AA
FLUSH HEAD SCREW サラコネジ
CL-303N
3
N314
N986CL303N
SPACER スペーサ
M86
F10862-07-300-AE_A