BM231 Mechanical 20070514老款H轴马达 - 第115页
トレイリフタ部(2) TRAY LIFTER SECT.(2) 15 F10862-51-300-AF_0 4-2 M93

PART NAME
REMARKS
Q'TY
15
トレイリフタ部(1)
TRAY LIFTER SECT.(1)
イラスト
No.
REF
No.
PART No.
部 品 名 品 番 個数 備 考
R
1
R
2
1 1086251300
TRAY LIFTER UNIT トレイリフタユニット
1
323 108625112302
TOP COVER カバー(TOP)
1
324 108625117202
LEFT DOOR ドア(LEFT)
1325 108625117302
RIGHT DOOR ドア(RIGHT)
1326 108625112601
COVER カバー
1
327 108625112704
BASE ベース
1
328 108625112802
STAND スタンド
2329 1086251156
GUIDE ガイド
1333 108625117403
BRACKET(LEFT) ブラケット(LEFT)
1
340 108625117503
BRACKET(RIGHT) ブラケット(RIGHT)
2347 108625105002
BOTTOM COVER カバー(BOTTOM)
1351 108625105402
RAIL レール
1
353 108625115301
GUIDE ガイド
1
354 108625115401
GUIDE ガイド
5 External toothed Ste
2
N311
N510018765AA
TOOTHED LOCK WASHER ハツキザガネ
APN122DNS-TK2310
2
N312
N222APN1-049
LAMP ランプ
M22-PV/K02 S
1
N313
N306M22PVK02
SWITCH スイッチ
AP-197-1-1,IVORY
2
N314
N980AP19711A
DRAWER PULL トッテ
G0203
4
N315
N986G0203
ADJUSTING BOLT アジャストボルト
M4X5-4.8 A2J (Trivalen
2
N319
N510018277AA
TRUSS HEAD SCREW トラスコネジ
C-92-2
4
N320
N980C922
MAGNETIC CATCH マグネットキャッチ
JB-AM5X12
2
N323
N986JBAM512
BOLT ボルト
M5X12
2
N324
N986YYYY-814
CAP キャップ
B-202-3
4
N331
N980B2023
HINGE チョウバン
M4X6
8
N335
N986YYYY-468
SCREW ネジ(ゴクテイトウロッカクアナツキ)
M3X8-4.8 A2J (Trivalen
10
N336
N510018161AA
FLUSH HEAD SCREW サラコネジ
M4X8-4.8 A2J (Trivalen
2
N337
N510018282AA
TRUSS HEAD SCREW トラスコネジ
4 External toothed Ste
6
N341
N510018762AA
TOOTHED LOCK WASHER ハツキザガネ
D4NS-1BF S
2
N343
N510015338AA
SWITCH スイッチ
ST13.5
2
N345
KXF06F4AA00
JOINT ジョイント
APN106L-S PN05
2V 1 N222APN1-050
LENS レンズ
LSTD-2S
2
V 2 N223LSTD2S
LED LED
M92
F10862-51-300-AF_04-1

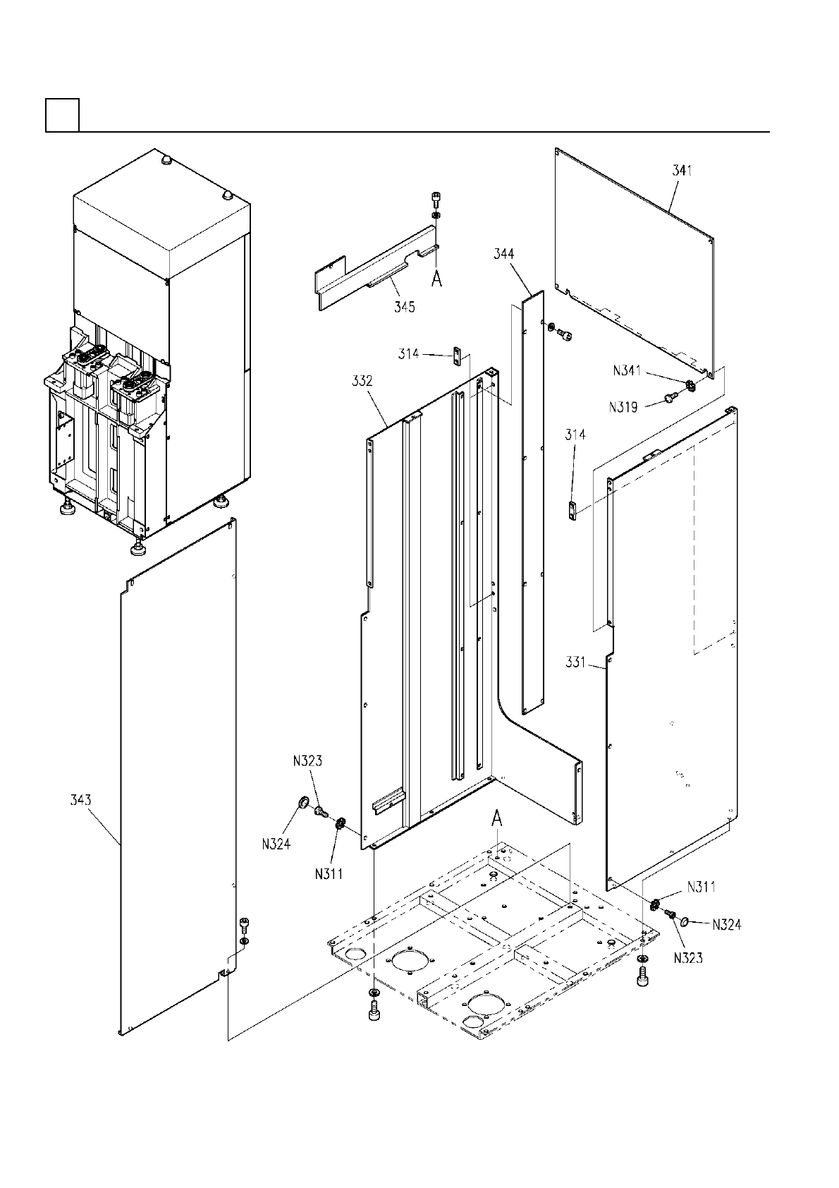
トレイリフタ部(2)
TRAY LIFTER SECT.(2)
15
F10862-51-300-AF_04-2
M93

PART NAME
REMARKS
Q'TY
15
トレイリフタ部(2)
TRAY LIFTER SECT.(2)
イラスト
No.
REF
No.
PART No.
部 品 名 品 番 個数 備 考
R
1
R
2
4314 1086251178
PLATE プレート
1
331 108625113104
SIDE COVER(LEFT) サイドカバー(LEFT)
1
332 108625113203
SIDE COVER(RIGHT) サイドカバー(RIGHT)
1341 108625134101
COVER カバー
1343 108625114302
COVER カバー
1
344 108625114401
PLATE プレート
1
345 108625114502
DUCT ダクト
5 External toothed Ste
6
N311
N510018765AA
TOOTHED LOCK WASHER ハツキザガネ
M4X5-4.8 A2J (Trivalen
4
N319
N510018277AA
TRUSS HEAD SCREW トラスコネジ
JB-AM5X12
6
N323
N986JBAM512
BOLT ボルト
M5X12
6
N324
N986YYYY-814
CAP キャップ
4 External toothed Ste
6
N341
N510018762AA
TOOTHED LOCK WASHER ハツキザガネ
M94
F10862-51-300-AF_04-2