BM231 Mechanical 20070514老款H轴马达 - 第130页
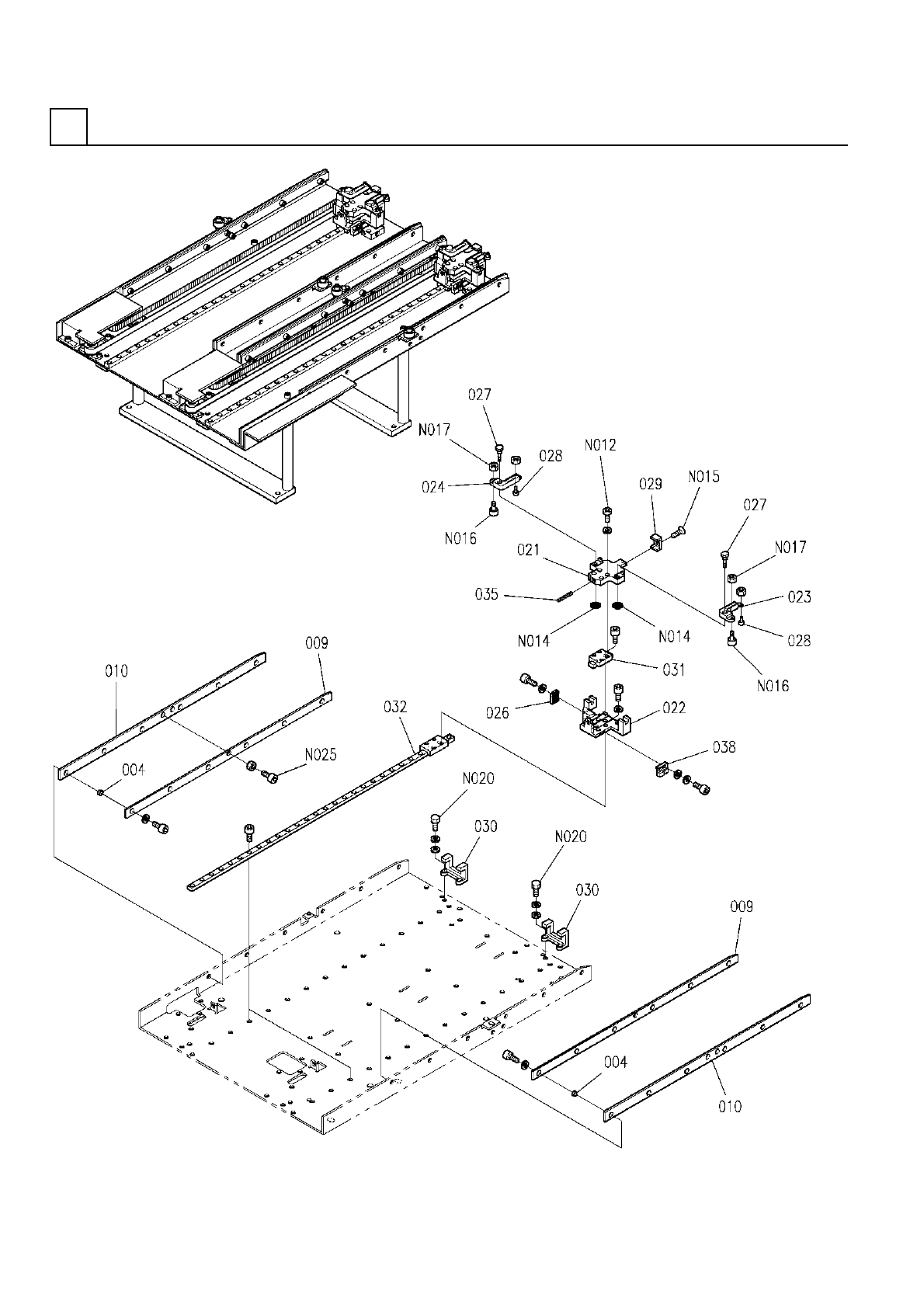
PART NAME REMARKS Q'TY 16 T-W軸部(1) T-W AXIS SE CT.(1) イラスト No. REF No. PART No. 部 品 名 品 番 個数 備 考 R 1 R 2 1 1086252000 TRAY DRAWING UNIT トレイヒキダシユニット 12 004 1086252004 COLLAR カラー 2 006 1086252006 SPRING スプリング 2 009…

T-W軸部(1)
T-W AXIS SECT.(1)
16
F10862-52-000-AK_01-1
M107

PART NAME
REMARKS
Q'TY
16
T-W軸部(1)
T-W AXIS SECT.(1)
イラスト
No.
REF
No.
PART No.
部 品 名 品 番 個数 備 考
R
1
R
2
1 1086252000
TRAY DRAWING UNIT トレイヒキダシユニット
12
004 1086252004
COLLAR カラー
2
006 1086252006
SPRING スプリング
2009 108625200902
PLATE プレート
2010 108625201003
GUIDE ガイド
4
036 1086252036
STAND スタンド
2
037 108625203701
PLATE プレート
1044 N210047491AA
COVER カバー
1046 108625204601
FRAME フレーム
1
047 1086252047
BRACKET ブラケット
1048 1086252048
BRACKET ブラケット
2050 1086252050
LEVER レバー
2
051 1086289726
COVER カバー
635ZZ
4
N011
XLC635ZZ
BALL BEARING ボールベアリング
M3X20-6G 4T A2J (Triva
1
N025
N510018847AA
HEXAGON HEAD BOLT ロッカクボルト
MSB5-10
2
N026
N986MSB510
BOLT ボルト
M108
F10862-52-000-AK_01-1

T-W軸部(2)
T-W AXIS SECT.(2)
16
F10862-52-000-AK_01-2
M109