BM231 Mechanical 20070514老款H轴马达 - 第133页
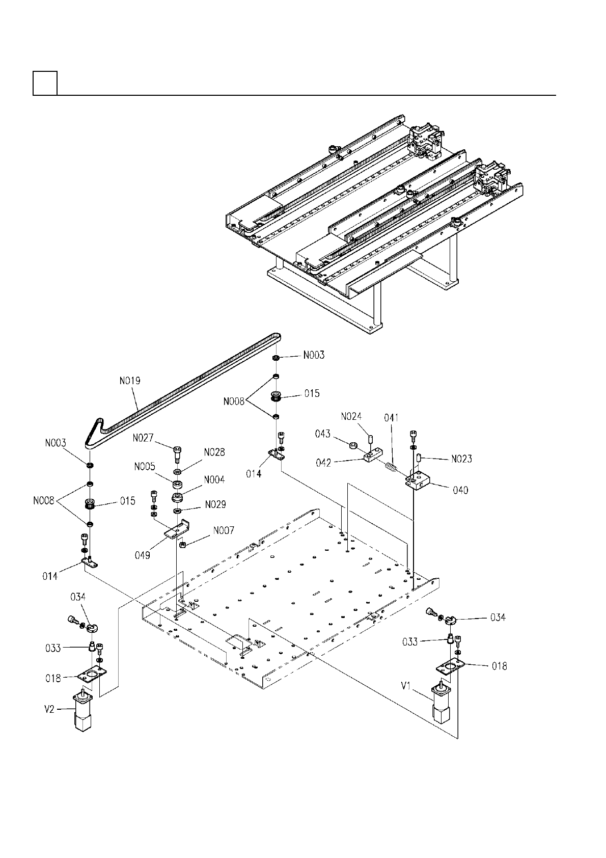
T-W軸部(3) T-W AXIS SE CT.(3) 16 F10862-52-000-AK_0 1-3 M111

PART NAME
REMARKS
Q'TY
16
T-W軸部(2)
T-W AXIS SECT.(2)
イラスト
No.
REF
No.
PART No.
部 品 名 品 番 個数 備 考
R
1
R
2
12004 1086252004
COLLAR カラー
2
009 108625200902
PLATE プレート
2
010 108625201003
GUIDE ガイド
2021 108625202103
BLOCK ブロック
2022 108625202205
BLOCK ブロック
2
023 104705232002
LEVER レバー
2
024 104705231902
LEVER レバー
2026 108625202601
CLAMPER クランパー
4027 1086252027
PIN ピン
4
028 1086252028
PIN ピン
2029 1086252029
GUIDE ガイド
2030 108625203004
STOPPER ストッパ
2
031 108625203101
LINEAR MOTION UNIT リニアモーションユニット
2
032 108625203201
LINEAR MOTION UNIT リニアモーションユニット
2035 108625203501
SPRING スプリング
2038 108628926701
BLOCK ブロック
M3X8
8
N012
N986YYYY-969
SCREW ネジ(テイトウロッカクアナツキ)
M5,2-TYPE,STAINLESS,ST
4
N014
XNGNU5YSZ
LOCK-NUT ロックナット
M3X8-4.8 A2J (Trivalen
4
N015
N510018161AA
FLUSH HEAD SCREW サラコネジ
CFS4
4
N016
N532CFS4
CAM FOLLOWER カムフォロア
M4,3-TYPE,STAINLESS(SU
4
N017
XNG4CYW5
HEXAGON NUT ロッカクナット
M5X12,STEEL,P.C,4T
4
N020
XVG5A12FP4
HEXAGON HEAD BOLT ロッカクボルト
M3X20-6G 4T A2J (Triva
1
N025
N510018847AA
HEXAGON HEAD BOLT ロッカクボルト
M110
F10862-52-000-AK_01-2

T-W軸部(3)
T-W AXIS SECT.(3)
16
F10862-52-000-AK_01-3
M111

PART NAME
REMARKS
Q'TY
16
T-W軸部(3)
T-W AXIS SECT.(3)
イラスト
No.
REF
No.
PART No.
部 品 名 品 番 個数 備 考
R
1
R
2
4014 108625201401
PIN ピン
4
015 108625201501
PULLEY(TIMING) プーリー(タイミング)
2
018 108625201802
PLATE プレート
2033 108625203301
PULLEY(TIMING) プーリー(タイミング)
2034 108625203401
RING リング
2
040 108628927102
BLOCK ブロック
2
041 1086289272
SPRING バネ
2042 108628927301
LEVER レバー
2043 1086289274
ROLLER ローラ
2
049 1086252049
BRACKET ブラケット
STW-6
4
N003
XUBNSTW6
RETAINING RING C-TYPE, SHAF C ガタジクヨウトメワ
F608ZZ
2
N004
XLCNF608ZZ
BALL BEARING ボールベアリング
608ZZ
2
N005
XLCN608ZZ
BALL BEARING ボールベアリング
M6-6H-4T A2J (Trivalen
2
N007
N510017869AA
HEXAGON NUT ロッカクナット
696ZZ
8
N008
XLCN696ZZ
BALL BEARING ボールベアリング
1569-3GT-12
2
N019
N6411569-774
BELT ベルト
FC3-D3X11.8
4
N023
N507FC3D-033
NEEDLE ROLLER ニードルローラ
FC3-D2.5X7.8
2
N024
N507FC3D-034
NEEDLE ROLLER ニードルローラ
MSB8-15
2
N027
N986MSB815
BOLT ボルト
WSSB10-8-2
2
N028
N986WSSB1082
WASHER ザガネ
WSSB10-6-2
2
N029
N560WSSB1062
WASHER ザガネ
HC-KFS13
1
V 1 308625115201
MOTOR モータ
HC-KFS13
1V 2 308625115401
MOTOR モータ
M112
F10862-52-000-AK_01-3