BM231 Mechanical 20070514老款H轴马达 - 第155页
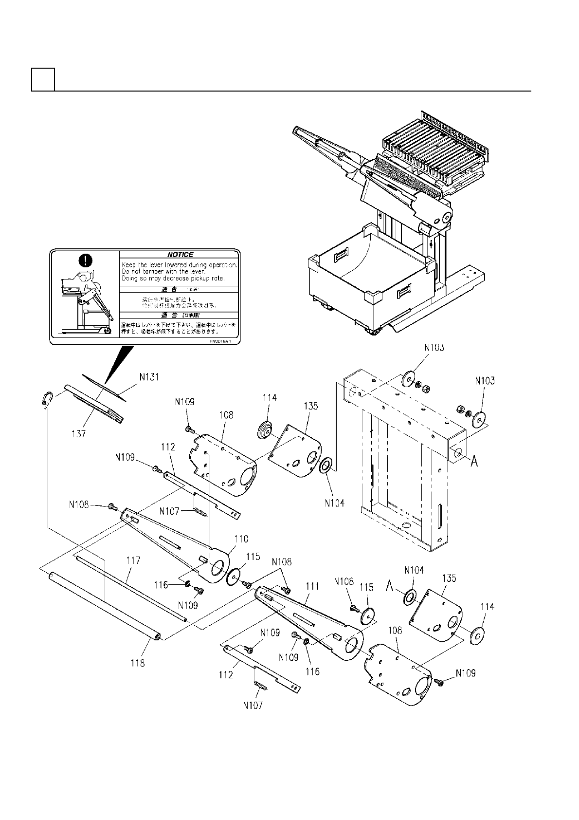
一括交換カート部(レバー部) BATCH EXCHA NGE CART SECT.(LEV ER SECT. ) 21 F10862-17-100-AF_A -2 M133

PART NAME
REMARKS
Q'TY
21
一括交換カート部(ボックス部)
BATCH EXCHANGE CART SECT.(BOX SECT.)
イラスト
No.
REF
No.
PART No.
部 品 名 品 番 個数 備 考
R
1
R
2
1 1086217100
BATCH EXCHANGE CART UNIT ワゴンイッカツコウカンカートユニット
1
102 108621710202
POLE(LEFT) ポール(LEFT)
1
103 108621710302
POLE(RIGHT) ポール(RIGHT)
1104 108621710401
GUIDE(LEFT) ガイド(LEFT)
1105 108621710501
GUIDE(RIGHT) ガイド(RIGHT)
1
106 108621710602
BRACKET(LEFT) ブラケット(LEFT)
1
107 108621710702
BRACKET(RIGHT) ブラケット(RIGHT)
1119 108621711905
FRAME フレーム
1123 108621712304
FRAME フレーム
2
133 1086217133
HOLDER ホルダ
1138 1086217138
DUST BOX ダストボックス
NO.104N
2
N101
N986N0104N
CASTER キャスター
NO.107NS
2
N102
N986N0107NS
CASTER キャスター
CF8-A
2
N105
N531CF8A
CAM FOLLOWER カムフォロア
WSSB20-8-5
2
N106
N560WSSB2085
WASHER ワッシャ
UST8-60
2
N116
N986UST860
BOLT(STOPPER) ボルト(ストッパ)
M8X110-6g 4T A2J (Triv
1
N117
N510018899AA
HEXAGON HEAD BOLT ロッカクボルト
FA-2530GB-S-MD1
1
N118
N437FA25-071
SHOCK-ABSORBER ショックアブソーバー
608ZZ
4
N119
XLCN608ZZ
BALL BEARING ボールベアリング
CIMR8-12-0.3
4
N120
N560C1MR-279
SHIM シム
WSSB30-8-3
4
N121
N560WSSB3083
WASHER ワッシャ
TM-178L=150MM
1
N130
N982TM17-017
CHAIN チェーン
M132
F10862-17-100-AF_A-1

一括交換カート部(レバー部)
BATCH EXCHANGE CART SECT.(LEVER SECT.)
21
F10862-17-100-AF_A-2
M133

PART NAME
REMARKS
Q'TY
21
一括交換カート部(レバー部)
BATCH EXCHANGE CART SECT.(LEVER SECT.)
イラスト
No.
REF
No.
PART No.
部 品 名 品 番 個数 備 考
R
1
R
2
2108 108621710806
ARM アーム
1
110 108621711002
LEVER(LEFT) レバー(LEFT)
1
111 108621711102
LEVER(RIGHT) レバー(RIGHT)
2112 108621711202
STOPPER ストッパ
2114 108621711401
WASHER ワッシャ
2
115 1086217115
WASHER ワッシャ
2
116 108621711601
WASHER ワッシャ
1117 1086217117
BAR バー
1118 108621711801
HANDLE ハンドル
2
135 108621713501
PLATE プレート
1137 1086217137
COVER カバー
WSSB50-10-5
2
N103
N560WSSB-277
WASHER ザガネ
CIMR30-50-0.3
2
N104
N560C1MR-278
SHIM シム
AWU6-60
2
N107
N986AWU660
SPRING バネ
M6X10
4
N108
N986YYYY-K24
SCREW ネジ(ゴクテイトウロッカクアナツキ)
M5X8
16
N109
N986YYYY-469
SCREW ネジ(ゴクテイトウロッカクアナツキ)
FN0018M1
1
N131
N510001282AA
LABEL ラベル
M134
F10862-17-100-AF_A-2