BM231 Mechanical 20070514老款H轴马达 - 第170页
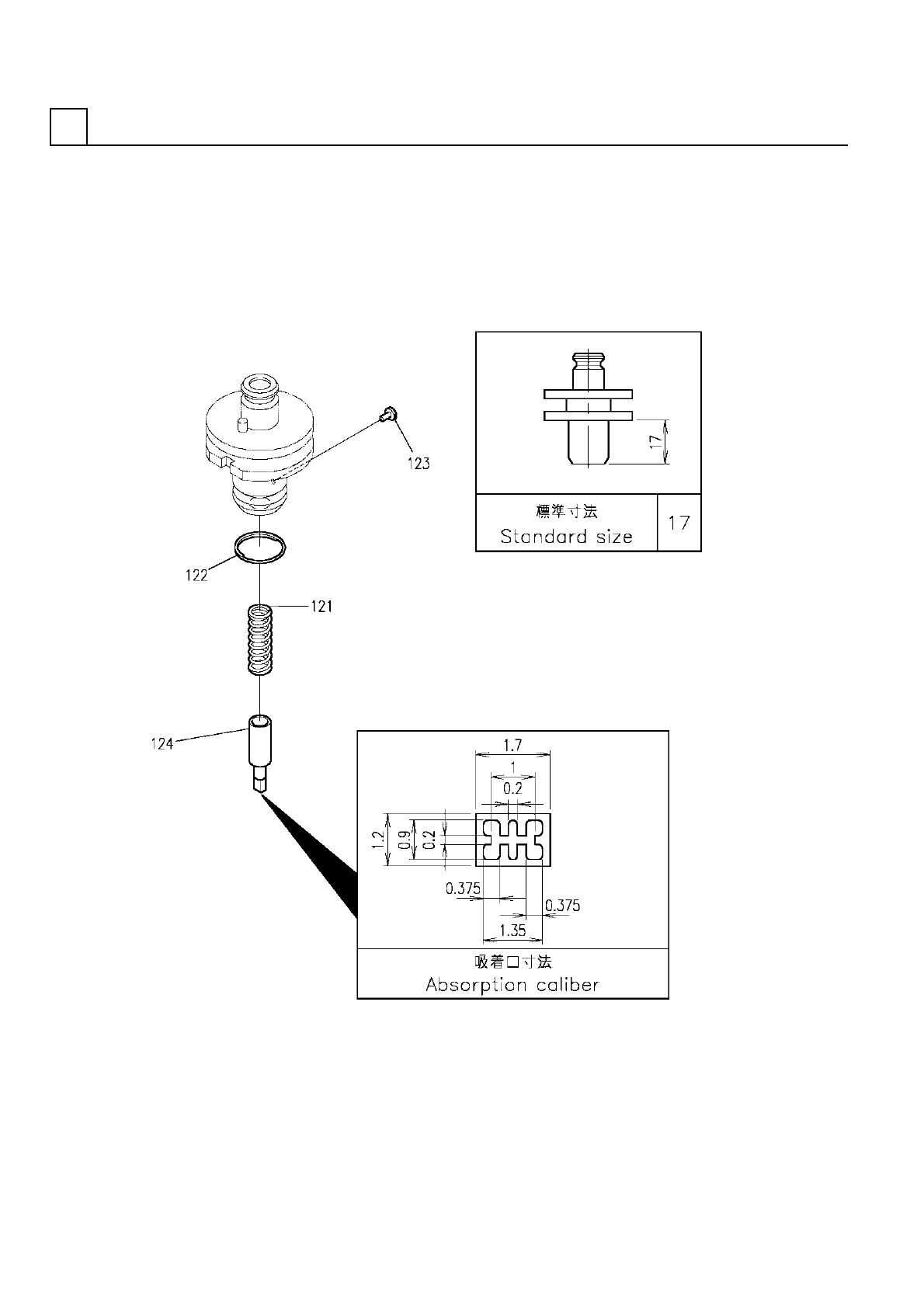
PART NAME REMARKS Q'TY 22 ノス ゙ル 部( 専用部) NOZZLE SECT .(EXCLUSI VE SECT.) イラスト No. REF No. PART No. 部 品 名 品 番 個数 備 考 R 1 R 2 NON SUPPLY 1 1080788120 NOZZLE UNIT ノズルユニット 1 121 1081789771 SPRING バネ 1 122 1080708602 RI…

ノズル部(専用部)
NOZZLE SECT.(EXCLUSIVE SECT.)
22
F10807-88-120-AA
M147

PART NAME
REMARKS
Q'TY
22
ノズル部(専用部)
NOZZLE SECT.(EXCLUSIVE SECT.)
イラスト
No.
REF
No.
PART No.
部 品 名 品 番 個数 備 考
R
1
R
2
NON SUPPLY
1 1080788120
NOZZLE UNIT ノズルユニット
1
121 1081789771
SPRING バネ
1
122 1080708602
RING リング
1123 108070860301
GUIDE PIN ガイドピン
1124 104590801406
NOZZLE(S) ノズル(S)
M148
F10807-88-120-AA

ノズル部(M)
NOZZLE SECT.(M)
22
F10807-GH-813-AF
M149