BM231 Mechanical 20070514老款H轴马达 - 第228页
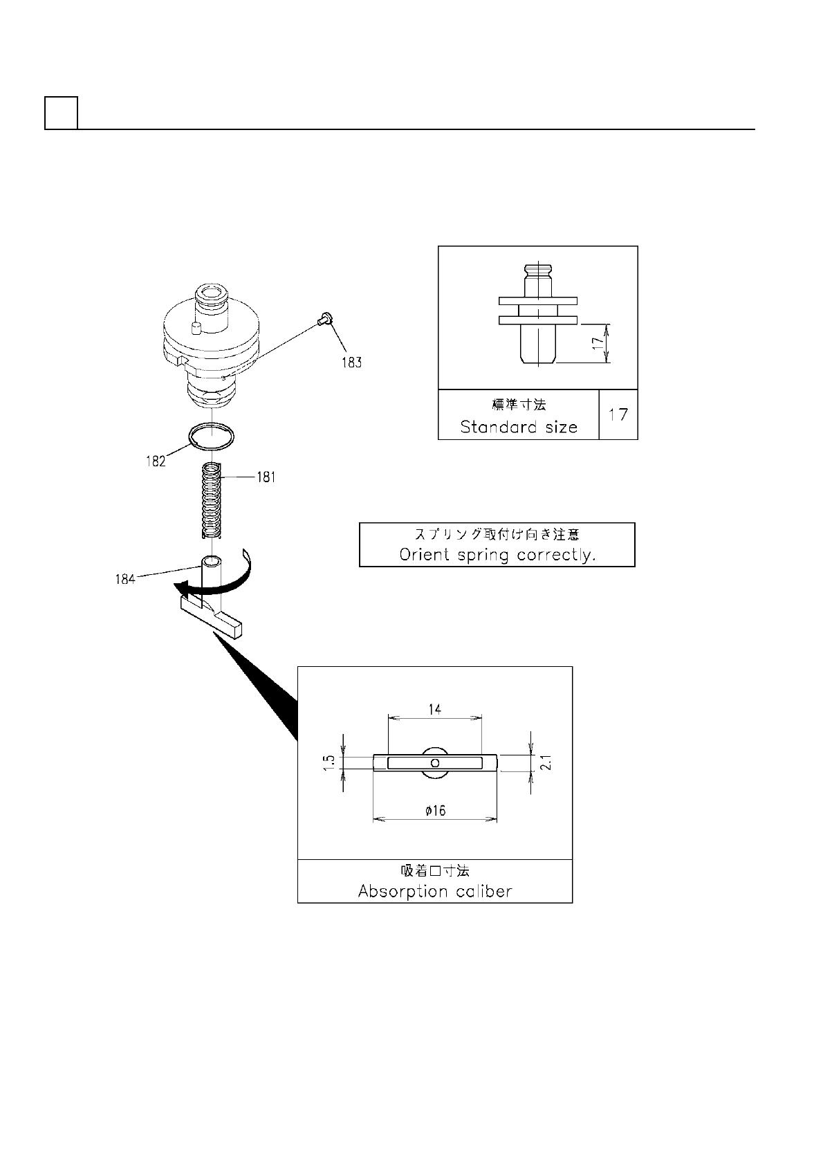
PART NAME REMARKS Q'TY 23 ノス ゙ル 部( 共通部) NOZZLE SECT .(COMMON SECT.) イラスト No. REF No. PART No. 部 品 名 品 番 個数 備 考 R 1 R 2 1 1081709810 NOZZLE UNIT ノズルユニット 1 811 1080729975 FILTER フィルタ 1 S 1 10817S0022 NOZZLE FLANG E S…

ノズル部(共通部)
NOZZLE SECT.(COMMON SECT.)
23
F10817-09-810-AF
M205

PART NAME
REMARKS
Q'TY
23
ノズル部(共通部)
NOZZLE SECT.(COMMON SECT.)
イラスト
No.
REF
No.
PART No.
部 品 名 品 番 個数 備 考
R
1
R
2
1 1081709810
NOZZLE UNIT ノズルユニット
1
811 1080729975
FILTER フィルタ
1
S 1 10817S0022
NOZZLE FLANGE SET ノズルフランジセット
M206
F10817-09-810-AF

CNTノズル部(専用部)
CNT NOZZLE SECT.(EXCLUSIVE SECT.)
23
F10807-88-180
M207