BM231 Mechanical 20070514老款H轴马达 - 第32页
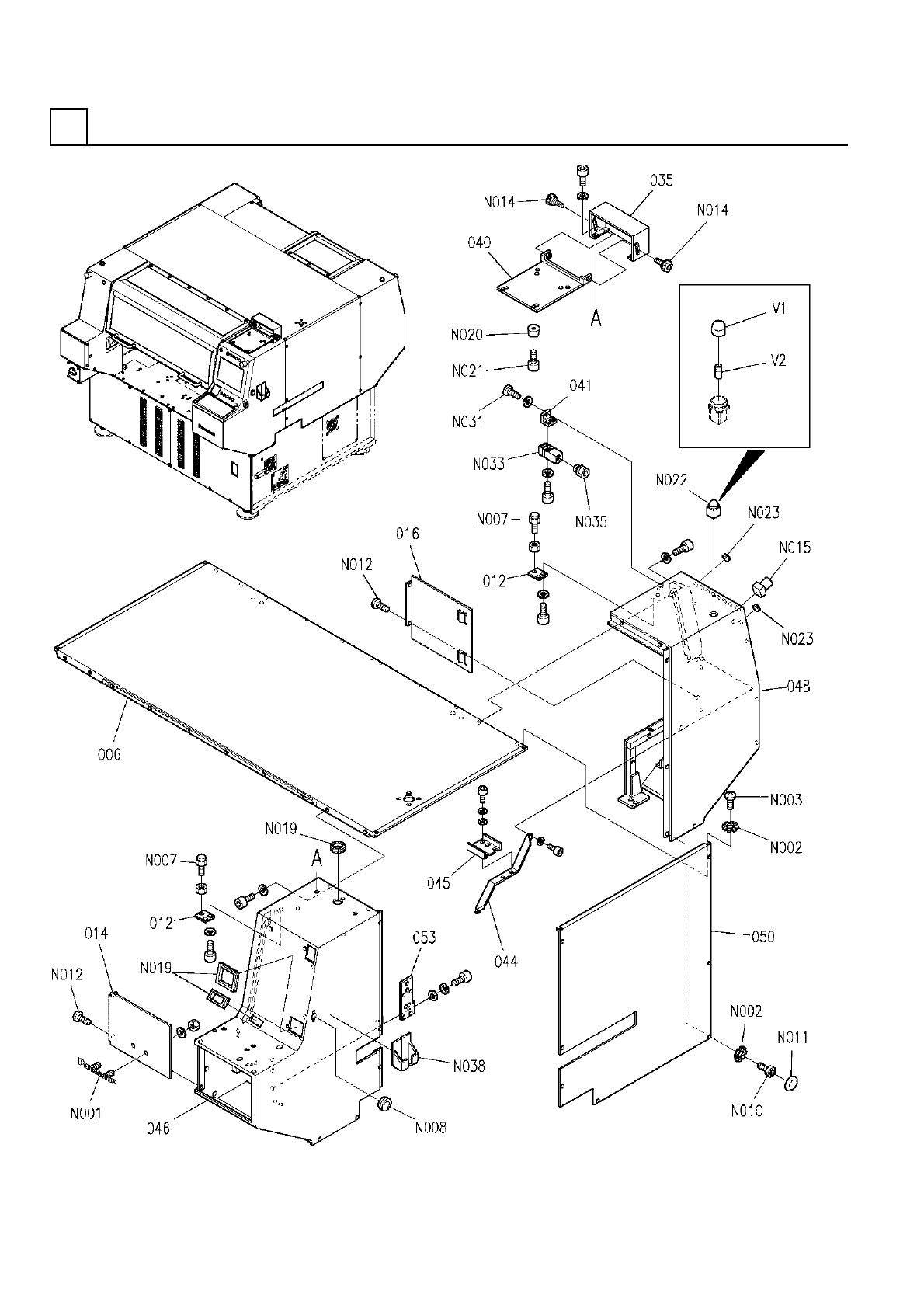
PART NAME REMARKS Q'TY 1 本体部(パーツセービングボックス部) MAIN BODY S ECT.(PART S SAVING BOX SECT.) イラスト No. REF No. PART No. 部 品 名 品 番 個数 備 考 R 1 R 2 1 1086219950 MAIN BODY UN IT ホンタイユニット 1 951 108621995103 BOX ボックス 1 952 1…

本体部(パーツセービングボックス部)
MAIN BODY SECT.(PARTS SAVING BOX SECT.)
1
F10862-19-950-AE
M9

PART NAME
REMARKS
Q'TY
1
本体部(パーツセービングボックス部)
MAIN BODY SECT.(PARTS SAVING BOX SECT.)
イラスト
No.
REF
No.
PART No.
部 品 名 品 番 個数 備 考
R
1
R
2
1 1086219950
MAIN BODY UNIT ホンタイユニット
1
951 108621995103
BOX ボックス
1
952 108621995201
DOG FOR SENSOR ドグ
1953 108621995301
BRACKET ブラケット
1954 108621995402
BRACKET ブラケット
1
955 1086219955
SHEET シート
E3T-FT11
1
N951
N310E3TFT11
SENSOR センサ
E39-S64
1
N952
N310E39S64
SLIT PLATE スリット
M10
F10862-19-950-AE

カバー部(1)
COVER SECT.(1)
2
FN610031688AA_03-1
M11