BM231 Mechanical 20070514老款H轴马达 - 第348页
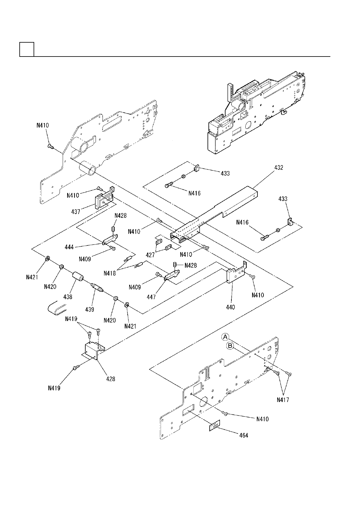
PART NAME REMARKS Q'TY 30 回収コンベア部(1<32mm>) RECOVERY CO NVEYER SE CT.(1<32m m>) イラスト No. REF No. PART No. 部 品 名 品 番 個数 備 考 R 1 R 2 1 1089680400 DISCHARGE CO NVEYOR UN IT ハイキコンベアユニット 3 401 1089680001 COL…

回収コンベア部(1<32mm>)
RECOVERY CONVEYER SECT.(1<32mm>)
30
F10896-80-400-AD_A-1
M325

PART NAME
REMARKS
Q'TY
30
回収コンベア部(1<32mm>)
RECOVERY CONVEYER SECT.(1<32mm>)
イラスト
No.
REF
No.
PART No.
部 品 名 品 番 個数 備 考
R
1
R
2
1 1089680400
DISCHARGE CONVEYOR UNIT ハイキコンベアユニット
3
401 1089680001
COLLAR カラー
1
402 1045918411
GEAR ギヤー
1403 1089680403
PULLEY プーリー
1410 1089680010
COLLAR カラー
1
411 1089680011
GEAR ギヤ
1
412 1089680012
GEAR ギヤ
1413 1089680013
SHAFT シャフト
1414 108968001401
SHAFT シャフト
1
423 1089680523
SIDE PLATE サイドプレート
1424 1089680524
SIDE PLATE サイドプレート
1429 1089680029
PLATE プレート
1
434 1089680034
SHAFT シャフト
1
436 1089680436
PULLEY プーリー
1446 1089680046
HOUSING ハウジング
RF-1980HH
1
N401
XLCNRF1980HH
BALL BEARING ボールベアリング
M4X8,STEEL,P.C
3
N402
XVEN4M8FPZ
HEX. SOCKET BUTTON HEAD BOL ロッカクアナツキボタンボルト
M5X10,STEEL,P.C
2
N403
XXE5D10FP
HEX. SOCKET SET SCREW ロッカクアナツキトメネジ
4X10,h8B,STEEL
4
N408
XPJ4E10FW
PARALLEL PIN ヘイコウピン
B-2CBMM36X0.8X1205
1
N412
N641B2CB-743
BELT ベルト
M4X4,STEEL,P.C
1
N413
XXE4D4FP
HEX. SOCKET SET SCREW ロッカクアナツキトメネジ
TG-58B-AM-300-HA,24V S
1
N414
N606TG58-176
MOTOR モータ
M4X8-4.8 A2J (Trivalen
6
N417
N510018180AA
FLUSH HEAD SCREW サラコネジ
NHF08
1
N422
N633NHF08
SHAFT シャフト
MB0810DU
2
N425
N520MB0810DU
BUSHING ブッシング
RF-1960ZZ
2
N426
XLCNRF1960ZZ
BALL BEARING ボールベアリング
M1S20+2106
1
N427
N647M1S2-031
GEAR ギヤー
M326
F10896-80-400-AD_A-1

回収コンベア部(2<32mm>)
RECOVERY CONVEYER SECT.(2<32mm>)
30
F10896-80-400-AD_A-2
M327